![]()
(1)抗震支吊架:与建筑结构件牢固连接,以地震力为主要荷载的抗震支撑设施,由锚固件、加固吊杆、抗震连接构件及抗震斜撑组成。示意图如图1:

1- 长螺杆;2- 设备或管道等;3- 螺杆紧固件;4- C 型槽钢;
5- 快速抗震连接构件;6- 抗震连接构件
图1 抗震支吊架示意图
(2)侧向抗震支吊架:斜撑与管道截面平行的抗震支吊架。示意图如图2:

1- 斜撑;2- 抗震连接件;3- 锚固件;4- 螺杆锚固件;
5- 承重吊杆;6- 管道
图2 侧向抗震支架示意图
(3)纵向抗震支吊架:斜撑与管道横截面垂直的抗震支吊架。示意图如图3:

1- 斜撑;2- 抗震连接构件;3- 锚固件;4- 螺杆紧固件;
5- 承重吊杆;6- 管道
图3 纵向抗震支吊架示意图
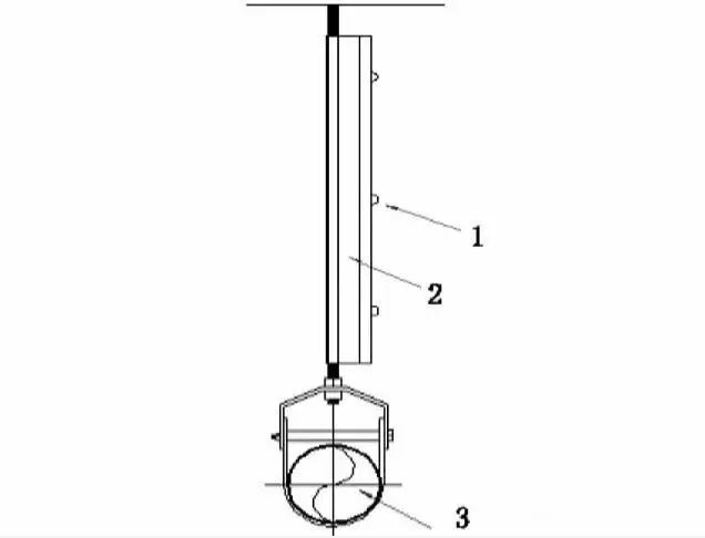
(4)单管(杆)抗震支吊架:同一根承重吊架和抗震斜撑组成的抗震支吊架。示意图如图4:

11- 螺杆紧固件;2- 专用槽钢;3- 管道或设备
图4 单管(杆)抗震支吊架示意图
(5)门型抗震支吊架:由两根及以上承重吊架和横梁、抗震斜撑组成的抗震支吊架。示意图如图5:

1- 结构体;2- 长螺母;3- 长螺杆;4- 方垫片;5- 槽钢紧固件;
6- 膨胀螺栓;7- 抗震连接构件;8- 槽钢;9- 快速抗震连接构件
图5 门型侧向抗震支吊架示意图
![]()
(1)大于DN65mm的所有管道;
(2)所有防排烟系统管道;
(3)所有直径大于0.70m的圆形风管;
(4)所有截面积大于0.38㎡的矩形风管;
(5)重量在15kg/m及以上的电线桥架;
(6)所有门形吊架。
![]()
(1)刚性连接金属管道长为24m,侧向抗震支吊架最大间距12m,先于两端加设侧向支撑,再依次按12m 设置侧向支撑(见图6)。

1-抗震支吊架
图6 水平直管段中部增设抗震支吊架示意图
(2)刚性连接金属管道长为36m,按最大24m 的间距依次设置纵向支撑,直至所有支撑间距均满足要求(见图7)。

1-抗震支吊架;2- 纵向抗震支吊架;
图7 水平直管段纵向抗震支吊架示意图
(3)刚性连接的水平管道,两个相邻的加固点允许纵向偏移,水管及电线套管不得大于最大侧向支吊架间距的1/16,风管、电缆梯架、电缆托盘和电缆槽盒不得大于其宽度的两倍(见图8)。

1-抗震支吊架
图8 刚性连接水平管道纵向示意图
(4)纵向抗震支吊架最大间距24m,侧向抗震支吊架最大间距12m,则双向抗震支吊架距下一纵向抗震支吊架间距为:(24+12) /2+0.6=18.60m。详见图9。

1-侧向抗震支吊架;2- 抗震支吊架;3- 纵向抗震支吊架
图9 水平直管段纵向抗震支吊架示意图
(5)当水平管线通过垂直管线与地面设备连接时,管线与设备之间应采用柔性连接,水平管线距垂直管线600mm范围内设置侧向支撑,垂直管线底部距地面大于0.15m 应设置抗震支撑(见图10)。

1-侧向抗震支吊架;2- 柔性连接;3- 地面设备;4- 抗震支吊架
图10 管线与设备连接时抗震支吊架设置示意图

4.1 施工步骤
测量→下料→吊点栓胀安装→垂直向吊杆安装→横担(或管卡)安装→侧向、纵向加固件安装。
4.2 操作要点
(1)管道和电线套管允许纵向偏移,但不得超过最大侧向支撑间距的1/6;风管允许偏差,但不得超过风管风度的2倍。
(2)水平管道在90°转弯时,需设抗震支吊架;其他角度转弯长度大于抗震设计间距的1/16 时,需设侧向及纵向抗震支吊架。
(3)计算水平地震力荷载时,只需满负荷重量而不需要考虑其他因素。
(4)抗震吊架不限制管线热胀冷缩产生的应力,当把热胀冷缩因素考虑在内时,纵向吊架应在构件选型上考虑所选型号应能抵抗管线热胀冷缩应力。
(5)保温管线的抗震吊架管码需按保温后的尺寸考虑,门型吊架用于保温风管、水管亦按此考虑。
(6)用于刚性的管道抗震支撑不能安装于建筑的不同结构部位或功能部位,否则会因地震作用而产生不同的位移。
(7)单管抗震支撑双向侧向或纵向或具有侧/ 纵向作用的拐点抗震支撑,应直接与管线或电线套管连接。应注意支管或小一级管线的支撑不能作为主管的抗震支撑,即不能作为另一方向(主管)的支撑。
(8)管线穿越建筑沉降缝时,应考虑沉降位移设计。
(9)侧/ 纵向斜撑安装的最佳垂直角度为45°,可根据现场实际情况适当调整。
(10)对水、电、风系统的单管或多管共用门型吊架,无论侧向/ 纵向斜撑,斜撑偏离中心线2.5°时不会影响其承载力。
4.3抗震支吊架的施工依据
抗震支吊架在地震中可对给排水系统、空调系统、电气管线系统提供充分的保护,所以抗震支吊架在任何时候、任何安装角度都须大于地震力。水平方向的为提高抗震支撑的使用效率,应于 90° 弯头处 0.6 m 以内设置抗震支撑,尽可能达到“双作用”的效果。“双作用”支撑必须满足以下要求:
(1 )承载力大于侧向与纵向荷载的总和;
(2)“双作用”支撑应由直接与管线或线缆套管连接(双作用不适用于门形吊架);(3 )“双作用” 支撑的间距要求(图震负荷可由两个不同方向的抗震支撑承担,即侧向抗震支撑承担侧向负荷,纵向抗震支撑承担纵向负荷。所有抗震支撑须和结构体作可靠连接。与钢筋混凝土框架结构的梁柱板作刚性连接,与钢结构作柔性连接,且须经设计人员验算。
内容源于网络,如有侵权,请联系删除
相关资料推荐:
知识点:抗震支架
0人已收藏
0人已打赏
免费5人已点赞
分享
结构资料库
返回版块41.29 万条内容 · 424 人订阅
阅读下一篇
考虑竖向荷载的波形钢板剪力墙力学性能研究为了探明波形钢板剪力墙在竖向和水平荷载共同作用下的力学性能,采用ABAQUS软件建立了24个波形钢板剪力墙模型,进行非线性推覆分析和滞回分析,研究竖向荷载对波形钢板剪力墙抗侧性能和滞回性能的影响机理,分析边柱-内嵌板刚度比对波形钢板剪力墙力学性能的影响。研究结果表明:边柱在竖向荷载和水平荷载共同作用下会发生底部变形和失稳破坏,竖向荷载对波形钢板剪力墙的力学性能有不利影响;波形钢板剪力墙的边柱-内嵌板刚度比增大,剪力墙延性性能和滞回性能提升,反之则降低;边柱-内嵌板刚度比提升到 1 000 m
回帖成功
经验值 +10
全部回复(1 )
只看楼主 我来说两句 抢板凳资料还不错,建议大家补充上传分享一些相关cad图纸、计算书等资料
回复 举报