知识点:锁紧机构保持力
机械结构中常规的锁紧方式有摩擦锁紧、铆冲锁紧以及机械锁紧等几种,在中等载荷及平稳工况下具有良好的锁紧性能;但在重载和频繁正、反向旋转的工况下,常规方式的锁紧力量明显不足,如在冶金和矿山重型设备中,常规锁紧方式在线寿命较短,在很大程度上增加了设备维修成本。
1. 重载下圆螺母锁紧机构的失效机理分析
对于通过单键、双键或花键方式安装在轴端的传动件,轴的末端常采用止动垫圈与圆螺母组合锁紧。当重载工况下频繁正、反向传递扭矩时,轴和传动件上键槽的2个侧面均承受循环载荷的挤压,其宽度不断变大,与之配合的键宽则有缩小的趋势,造成轴与传动件的配合间隙快速扩大,换向过程的冲击力进一步加大并形成恶性循环,传动件无法与轴同步旋转,并沿着轴线方向及圆周方向发生窜动和旋转,进而挤压和摩擦较薄的止动垫圈,止动垫圈难以承受巨大摩擦和挤压作用,很快被磨损掉或变形失效。
2. 推力轴承式轴端锁紧的具体结构
针对重载和频繁正、反向旋转的工况,提出在传动件和止动垫圈之间增加一套推力轴承的新型锁紧结构,借助推力轴承的2个平行外壳可以旋转的功能,用以抵消传动件松动后对止动垫圈产生的巨大摩擦力,进而保护圆螺母不至于转动和脱落,增强锁紧的可靠性具体结构如附图所示。

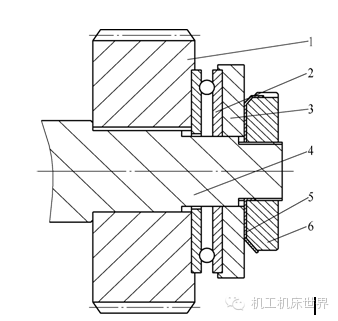
推力轴承式轴端锁紧结构原理示意图
1.齿轮(传动件) 2.推力轴承 3.挡圈 4.传动轴 5.止动垫圈 6.圆螺母
齿轮1为传动件,与轴径之间采用键联接;在挡圈3的右侧依次安装止动垫圈5和圆螺母6。当传动件发生松动时,必然对推力轴承的左侧外壳产生摩擦和挤压,由于推力轴承的两个外壳可以相互平行旋转,因而右侧外壳则会保持不动,这就保护了挡圈3、止动垫圈5和圆螺母6,圆螺母始终处于良好的锁紧状态而不会旋转后退。
3. 适用工况
本锁紧结构特别适用于重载和频繁正、反向旋转工况下的锁紧要求。例如钢企的轧机机架辊、转向辊等重型设备,不仅要承受钢坯的重载冲击,且频繁正、反向旋转,常态下振动剧烈。前期使用常规止动垫圈和圆螺母锁紧轴承和内花键齿轮,实际结果是止动垫圈很快被挤碎,圆螺母脱落,轴端的大螺纹也因磨损变成“光杆”,导致设备的在线使用寿命很短,有时仅能维持10天左右的寿命。如想消除或减轻对止动垫圈和圆螺母的剧烈摩擦力,始终保持止动垫圈和圆螺母不磨损、不变形、不脱落,则上述结构为较理想的结构形式。
4. 突出优点与应用效果
(1)该锁紧结构主要适用于承受重载、冲击、频繁正、反向旋转工况下对轴端的锁紧,如轧钢生产线上的机架辊和转向辊、矿山设备的破碎机主轴等。
(2)轧钢生产线上的机架辊采用本结构后,在线寿命从原来的10天左右提高到2个月以上;石料破碎机主轴更换周期由原来的3个月提高到1年。解剖这些失效的传动部位,发现均是键联接处损坏,而止动垫圈和圆螺母完好无损。
相关推荐链接:
0人已收藏
0人已打赏
免费0人已点赞
分享
电气工程原创版块
返回版块2.2 万条内容 · 598 人订阅
阅读下一篇
插拔力原理-插入力和分离力知识点:分离力 前面我们聊了插拔力产生的原因---接触正压力,良好的插拔力是被设计出来的,而不材料决定的,一个设计良好的接触体,其插入力和分离力不仅在电气性能上会得到最大的优化,甚至在手感上都会有舒适感,相反,一个设计糟糕的接触体结构,会造成插入力急剧增大和连接器对接困难,甚至损害接触体的机械寿命指标。
回帖成功
经验值 +10
全部回复(0 )
只看楼主 我来说两句抢沙发