知识点:水箱式蒸发器
来源:网络,如有侵权,请联系删除
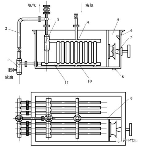
水箱式蒸发器可由平行直管或螺旋管组成(又称为立式蒸发器)。它们均沉浸在液体载冷剂中工作,由于搅拌器的作用,液体载冷剂在水箱内循环流动,以增强传热效果。制冷剂液体在管内蒸发吸热,使管外载冷剂降温。

立管式水箱蒸发器
1—集油器;2—均压管;3—汽-液分离器;4—上集气管;5—水箱;6—泄水口;7—搅拌器;8—溢流管;9—隔板;10—直立管管束;11—下集液管
可以克服壳管式满液式蒸发器的可能会结冰,及运行时热稳定性差缺点,同时制冷剂下进上出,符合液体沸腾时的运动规律,循环良好,沸腾换热系数较高。
推荐资料:
汽车干燥器蒸发器设计
https://ziliao.co188.com/d66451.html
0人已收藏
0人已打赏
免费0人已点赞
分享
制冷技术
返回版块14.67 万条内容 · 884 人订阅
回帖成功
经验值 +10
全部回复(0 )
只看楼主 我来说两句抢沙发