知识点:气液分离器
来源:网络,如有侵权,请联系删除
气液分离器,顾名思义,就是在制冷系统中的基本作用是分离并保存回气管里的制冷剂液体以防止压缩机液击。因此,它可以暂时储存多余的制冷剂液体,并且也防止了多余制冷剂流到压缩机曲轴箱造成油的稀释。有时也称作低压储液器。
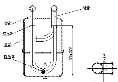
由于在分离制冷剂液体过程中,冷冻油也会被分离出来并积存在气液分离器底部,所以在气液分离器出口管和底部会有一个油孔,保证冷冻油可以回到压缩机,从而避免压缩机缺油。
气液分离器的基本结构如下图:

气液分离器在制冷系统中的主要作用是容纳系统中回液部分冷没媒,防止对压缩机造成液击,以及过多制冷剂对压缩机机油的稀释。
推荐资料:
气液分离器设计
0人已收藏
0人已打赏
免费0人已点赞
分享
制冷技术
返回版块14.67 万条内容 · 883 人订阅
阅读下一篇
工厂冷却水供水系统效率分析知识点:冷却水供水 来源:网络,如有侵权,请联系删除 目前,工厂冷却水供水系统是由5个水泵、冷却塔、冷却水池和热水池组成。工厂冷却水系统及运行参数: 1. 供水系统需要的流量、扬程: 分析基准:DN400总管末端(设备前)要求压力0.20Mpa,要求流量1200m3/h。 1)DN400主管管路扬程损失: 管路长度按300m,管道水利计算,
回帖成功
经验值 +10
全部回复(0 )
只看楼主 我来说两句抢沙发