知识点:感温包
来源:网络,如有侵权,请联系删除
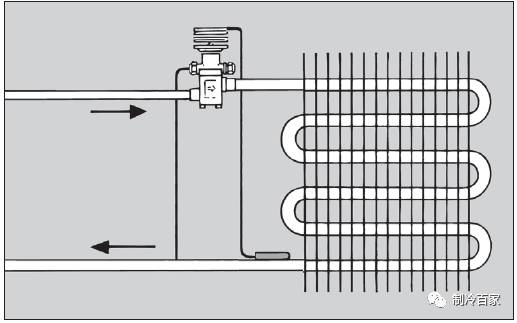
1、膨胀阀必须安装在位于蒸发器之前的液体管路;
2、温包应固定在尽可能靠近蒸发器的吸气管路上。
如果存在外部压力平衡,平衡管必须在出温包后立即连到吸气管路。

温包最好安装在水平吸气管上,方位应是时钟12点和4 点之间所对应的位置。
位置取决于管路的外径。

注意:
由于位于管路底部的油可能会产生错误信号,因此温包永远不能位于吸气管的底部。
具体位置可以参考以下两点:
1、当水平回气管直径小于7/8"(22mm)
感温包宜安装在回气管的上端,即吸气管的“12点到2点位置”。 这样的目的是感温包感受的温度是气态,不受液态物质影响。
2、当水平回气管直径大于7/8"
感温包要安装在回气管轴线以下即吸气管的“3-4 点钟”位置。
因为把感温包安装在吸气管的上部会降低反应的灵敏度,可能使蒸发器的制冷剂过多,把感温包安装在吸气管的底部会引起供液的紊乱,因为总有少量的液态制冷剂流到感温包安装的位置,并且这种流动不是持续的(一会儿有一会儿没有)而导致感温包温度的迅速变化。
我们都知道,膨胀阀感温包固定好之后,需要给感温包做保温;
感温包感受的温度必须是制冷系统的制冷剂的温度,如果不做保温,感温包容易感受到外来的温度,就会导致膨胀阀开度调节不准。
温包必须能够感测到过热吸入蒸汽的温度,因此一定不能位于具有外来热/冷干扰的地方。
如果温包暴露在热气流中,建议对温包进行隔热处理。
一般的膨胀阀温包带是可以将温包安全、牢靠地安装在管路上,以确保温包可以与吸气管有最佳的热接触。但是膨胀阀出厂一般不会带保温材料,所以现场安装感温包的时候,必须记住做好保温。
1、温包不能安装在换热器之后,因为在该位置它会向膨胀阀发出错误信号。

2、温包也一定不能装在靠近大质量组件的位置,因为这也会引起向膨胀阀发送错误信号。

3、温包必须在经过蒸发器后立即安装到吸气管路的水平部分。温包一定不能安装在储油箱后的收集管或升管上。

4、膨胀阀温包必须始终安装在任何液压锁之前(U型回油弯);

推荐资料:
单机双级活塞式压缩机氨制冷冷库设计施工图
https://ziliao.co188.com/d51035023.html
螺杆液氨冷却压缩机氨制冷冷库设计竣工图
0人已收藏
0人已打赏
免费0人已点赞
分享
制冷技术
返回版块14.67 万条内容 · 883 人订阅
阅读下一篇
感温包的介绍及常见故障知识点:感温包 来源:网络,如有侵权,请联系删除 在多联机机组当中有很多温度传感器,也就是我们常说的感温包,这些感温包是用来检测机组某一位置当前的温度的。根据这些数值,机组会对运行的方式进行调节,从而使机组能够正常工作。那么如果感温包出现了问题,就可能会导致机组出现故障,如何处理这些故障呢?
回帖成功
经验值 +10
全部回复(0 )
只看楼主 我来说两句抢沙发