在管桩灌芯施工过程中,采用专用管桩取土器清掏桩芯土,钢筋笼的加工采用钢筋弯曲机+50cm长镀锌钢管制作成的加工机械。该技术利用现有机械进行简单改造,简单易行,且施工工效提高明显,施工质量有保障。
技术流程

1.施工工艺流程
施工准备→箍筋加工→钢筋笼制作→桩芯土清掏→放置钢筋笼→灌芯
2.操作要点
(1)施工准备
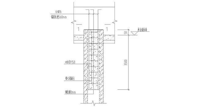
改造利用现有GW40B钢筋弯曲机:现场截取50cm长,Φ150mm镀锌钢管(可根据实际情况调整),采用钢筋头与钢筋弯曲机转盘进行点焊加固。准备好Φ8钢筋,用于制作箍筋。
(2)箍筋加工
开动钢筋弯曲机,在弯曲机动力的带动下,利用镀锌钢管管壁的弧度进行箍筋弯弧制作。为便于操作,本工程3.5m灌芯长度的钢筋笼箍筋分成二段制作。

(3)钢筋笼制作
钢筋笼采用6根Φ16主筋与3mm钢托板焊接,钢筋尺寸严格按图纸要求加工,将钢筋笼成品横向架立在特制操作架上完成钢筋笼的箍筋绑扎。
(4)桩芯土清掏
在桩芯清土中采用专用管桩取土器,利用取土器底盘的斜切使管桩内土体松动,缓慢沉入管芯,然后提升,通过扇形底盘将土体带出。重复进行操作清掏完桩芯土,并用端头焊接托板的钢筋测量清掏深度是否符合要求,确保管桩内壁清理干净,并确保清孔长度至钢筋笼托筋下500mm。
(5)放置钢筋笼
钢筋笼可用塔吊吊装放置或人工放置。放置前需在钢筋笼端部绑扎2根不小于18mm钢筋,防止钢筋笼掉到管桩内。
(6)灌芯
桩芯灌注混凝土前,在管桩内壁喷涂纯水泥浆或混凝土界面处理剂,增强填芯材料和管桩间的粘结程度,灌芯混凝土采用微膨胀混凝土。
应用实例

项目名称 |
工程地点 |
结构形式 |
开竣工日期 |
实用技术应用量 |
津南新城G地块 |
天津 |
剪力墙结构 |
在施 |
所有管桩 |
应用效果 |
1、 制作机械改造方便,使用效果明显,特别是操作简便、工效提升明显; 2、 箍筋弯弧质量方便控制,所绑扎箍筋间距均匀。 |
|||
存在问题 |
暂无 |
|||
来源:互联网 整理:基础工程
0人已收藏
0人已打赏
免费2人已点赞
分享
茶余饭后
返回版块6248 条内容 · 74 人订阅
阅读下一篇
预应力管桩在几种不同情况下的灌芯长度Part 1 对桩顶标高刚好达到设计标高的承压桩 (1)浙江省工程建设标准《先张法预应力混凝土管桩基础技术规程》(DB33/1016-2004)(以下简称浙标)5.3.1条上:对承压桩,灌注深度不得小于桩径,且不得小于0.5m。 (2)江苏省结构构件标准图集《先张法预应力混凝土管桩》(苏G03-2002)(以下简称苏标)P48页上注明当桩顶正好位于设计高处时,灌芯长度取1~2m,但后面又有一条,管桩桩顶被灌实的长度L和③号筋的设置,设计人员可根据工程情况给予适当的调整和加强。但往往设计人员在施工图阶段,并没有明确指明灌芯长度,1~2m,这让施工单位往往难以把握,今天去太仓工地进行施工图交底交底,就遇到了这个问题。后来取了一个折中值,为1.5m,这个也没什么道理,为什么要折中,仅仅是中庸之道,本身抗压桩,为什么就要比1m多。当然这个是设计人员自己把握的。
回帖成功
经验值 +10
全部回复(2 )
只看楼主 我来说两句抢地板资料不错,学习了,谢谢楼主分享
回复 举报
回复 举报