土木在线论坛 \ 施工技术 \ 施工组织设计 \ 冠梁及第一道支撑,质量技术交底卡

冠梁及第一道支撑,质量技术交底卡

发布于:2024-11-07 17:02:07 来自:施工技术/施工组织设计 [复制转发]


总承包施工单位

****有限公司

位(子单位)工程名称

***站

分部工程

围护结构

交底部位

冠梁及第一道砼支撑

日期

          

交底内容:

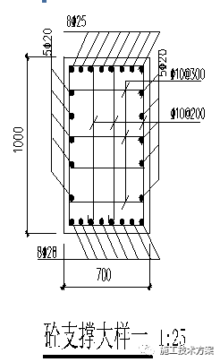
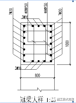
本车站地下连续墙顶部施做一道钢筋混凝土冠梁尺寸为 800X1000mm,第一道支撑采用700X1000mm混凝土支撑,水平间距为9.0m,局部采用混凝土板撑,厚度300mm。钢筋混凝土支撑主筋净保护层厚度为30mm,冠梁主筋净保护层厚度为40mm。

一、施工部位

针对施工场地施工节点安排,因受连续墙施工进度缓慢影响,冠梁与第一道砼支撑分两期完成。1期先施工12轴~23轴盾构始发段约100m,2期施工剩余部分冠梁及第一道支撑。冠梁及第一道支撑按要求分段施工,每段冠梁及第一道支撑长度为20~30m。

二、冠梁及砼支撑施工方法及技术要求

2.1、施工工艺流程

先挖除地连墙墙顶土方,凿除地下墙顶劣质混凝土至设计墙顶标高,对墙顶浮碴及多余部分混凝土进行凿除,开挖支撑沟槽,施工支撑垫层,墙顶凿毛,绑孔钢筋,支立模板,对模板复测完毕后浇筑冠梁混凝土。

具体工艺流程见下图:

 

 

 

 

 

 

专业技术负责人:                    交底人:                    接收人:



  图2-1冠梁及钢筋混凝土支撑施工工艺流程图

2.2、测量放样

1、根据设计图纸提供的坐标计算出每道钢筋混凝土支撑中线与冠梁交点处坐标,计算成果经技术负责人复核无误后进行测放,并报监理进行复核。

2、在钢筋混凝土支撑混凝土浇注前,将其顶面标高放样标识于模板面上,以控制钢筋砼支撑顶面标高。

2.3、破除基坑内原路面和地连墙顶部砼

(1)开挖内导墙部位及基坑内钢筋混凝土支撑底标高以上的全部土体。然后

专业技术负责人:                    交底人:                    接收人:

人工用风镐凿除地下连续墙顶的劣质混凝土,凿除至冠梁梁底标高,且保证地连墙顶部劣质混凝土全部凿除。

(2)地连墙顶部劣质混凝土凿除时要注意保护预埋测斜管、声测管、注浆管,不要将其碰断。如管身发生断裂,应及时用布或编织袋将其封堵、覆盖,严禁让泥

土落入管中。埋置声测管的幅段为N8-03、E8-01、E8-04、E8-07、E8-11、E8-14、E8-17、E8-20、E8-23、E8-26、E8-29、E8-33、S8-03、W8-05、W8-08、W8-11、W8-14、W8-17、W8-23、W8-27,埋置测斜管的幅段为N8-02、N8-03、N8-04、E8-02、E8-04、E8-07、E8-10、E8-13、E8-16、E8-18、E8-21、E8-24、E8-25、E8-29、E8-32、E8-34、S8-04、S8-03、S8-01、W8-06、W8-09、W8-12、W8-14、W8-17、W8-19、W8-22、W8-24、W8-26、W8-28。

(3) 地连墙墙顶超灌砼凿除时严禁用挖机等机械对钢筋进行破坏。

2.4支撑垫层施工

(1)施工时垫层底模预拱度为2‰。

(2)砂浆垫层厚度为2~3cm。

(3)施工完垫层后要求垫层表面洁净平整,在钢筋绑扎前铺设一层隔离膜。

2.4、钢筋绑扎

冠梁钢筋加工场下料加工,现场绑扎的方式。主筋采用Φ20及Φ16,箍筋采用φ8@150。第一道支撑主筋采用Φ20、Φ22及Φ28,箍筋采用Φ10详见钢筋配筋图。

2-2冠梁钢筋配筋图 


专业技术负责人:                    交底人:                    接收人


 

图2-3 第一道砼支撑配筋图

钢筋绑扎要求如下:

(1)钢筋绑扎前应清点数量、类型、型号、直径,并对其位置进行测放后方可

进行绑扎;

(2)钢筋绑扎须严格按照设计文件和施工图进行;

 (3)钢筋的交叉点必须绑扎牢固,不得出现变形和松脱现象;

(4)钢筋焊接单面焊接接头长度不少于10d;双面焊接接头长度不少于5d;焊接接头搭接面积百分率不得超过50%。绑扎接头的搭接长度不少于35d,搭接处的中心及两端须分别用钢丝扎牢,绑扎接头宜相互错开,其搭接面积百分率不得超过50%;所有节点钢筋除图纸注明外均应深入支座内35d。

(5)钢筋绑扎必须牢固稳定,不得变形松脱。

(6)钢筋绑扎完成后施工队先进行自检然后由项目部质检人员进行检验,在检验合格后报监理工程师验收,经验收合格后方可进行下道工序施工。

(7)钢筋绑扎位置允许偏差应符合下表规定:

专业技术负责人:                    交底人:                    接收人:

项目名称允许偏差(mm)受力钢筋长度净尺寸±10弯起钢筋的弯折位置±20箍筋加工尺寸±5

表2-1钢筋加工的允许误差表

2.5、模板施工

(1)冠梁及第一道混凝土支撑采用木模板,模板加固才用80*100木枋配合Φ48mm脚手架钢管,模板支立前应清理干净并涂刷隔离剂,每次混凝土浇筑之前确保模板清洁光滑。

(2)当混凝土支撑开挖至设计标高后,进行整平、复测标高,保证底模的平整及高程位置。同时对基底进行夯实处理(以防底模板在混凝土浇筑后发生沉降而影响混凝土支撑的质量),然后施作5cm厚的混凝土垫层或铺设竹胶板作为砼支撑

底模。

(3)模板安装必须正确控制轴线位置及截面尺寸。当拼缝≥10mm要对其进行处理。

(4)模板由侧模、主龙骨、次龙骨、平撑、斜撑等组成,主龙骨间距1m,次龙骨间距0.3m,斜撑和平撑与主龙骨之间进行固定形成一个整体。为防止浇筑混凝土时漏浆,在侧模内侧底端应加设海绵条,保证模板可靠的承受支撑结构及施工的各项荷载。

 


          图2-2 模板构造图

专业技术负责人:                    交底人:                    接收人:

(5)模板支撑安装必须平整、牢固、接缝严密不漏浆,保证混凝土浇筑质量。

(6)模板制作及安装的偏差应符合下表规定:

项目允许偏差(mm)检验仪具轴线位置5经纬仪、钢尺截面内部尺寸+4,-5钢尺相邻两板表面高低差2钢尺表面平整度5靠尺

表4-2 模板制作及安装允许偏差

(7)模板安装施工结束后报监理验收,经验收合格后方可进行下道工序施工。

(8)模板拆除应根据设计和规范规定的强度要求统一进行,未经监理及现场工程师同意,不得随意拆模。

2.6、混凝土浇筑

(1)根据图纸中关于混凝土强度的设计要求,第一道砼支撑及冠梁采用C30混凝土坍落度150±20mm,混凝土浇筑方式采用商品混凝土泵送浇筑。混凝土浇筑应采取分层、分段、整体式浇筑。

(2)砼浇捣前,施工现场应先做好各项准备工作,机械设备、照明设备等应事先检查,保证完好符合要求,模板内的垃圾和杂物要清理干净。

(3)砼搅拌车进场后,应严把砼质量关。检查坍落度、可泵性是否符合要求,应及时进行调整,必要时作退货处理。

(4)振动器的操作要做到“快插慢拔”,砼浇捣应分点振捣,宜先振捣料口处砼,形成自然流淌坡度,然后进行全面振捣,严格控制振捣时间、移动间距、插入深度,严禁采用振动钢筋、模板方法来振实砼。

(5)砼振捣采用插入式振捣器,以砼表面泛浆,无大量汽泡产生为止,严防砼振捣不足或过振。

专业技术负责人:                    交底人:                    接收人:

2.7、拆模、养护

(1) 混凝土达到规定强度时,方可进行模板拆除,拆除模板时,需按程序进行,禁止用大锤敲击,防止混凝土面出现裂纹。

(2)砼浇筑后(6~8h以内),表面收光抹平,上面覆盖麻袋或草包,并进行保湿养护。

(3)未达到规定强度时不得在冠梁、砼支撑上大量堆载,禁止车辆及大型机械设备在其上面行驶以防使冠梁、砼支撑断裂等质量问题

2.8、质量通病原因分析

(1)蜂窝:原因是混凝土一次下料过厚,振捣不实或漏振,钢筋较密而混凝土坍落度过小或石子过大,模板有缝隙使砂浆从下部涌出而造成。

(2)露筋:原因是钢筋垫块位移、间距过大、漏放、钢筋紧贴模板、造成露筋,或梁、板底部振捣不实,也可能出现露筋。

(3)麻面:拆模过早或模板表面漏刷隔离剂或模板湿润不够,构件表面混凝土易粘附在模板上造成麻面脱皮。

(4)孔洞:原因是钢筋较密的部位混凝土被卡,未经振捣就继续浇筑上层混凝土。

(5)缝隙与夹渣层:施工缝处杂物清理不净或未浇底浆等原因,易造成缝隙、夹渣层。

三、质量保证措施

3.1人员组织与安排

(1)项目经理部成立质量管理小组,项目总工程师任组长,成员由质量、施工、技术、物资、试验、测量等部门负责人及各作业班长组成,组织质量管理工作。基层施工人员配备熟练的技术工人,并按工序组织工班,选择有丰富施工经验及一定管理组织才能的人员担任施工员及班组长。

(2)专业工种人员作到持证上岗。新工人、变换工种工人上岗前对其进行岗前培训,考核合格后上岗。

(3)建立健全岗位质量责任制,明确各级人员的质量责任,作到每道工序的质量都专人负责,建立严格的考核制度,将质量与经济效益挂钩。

 

专业技术负责人:                    交底人:                    接收人:

3.2施工技术保证措施

(1)施工前,详细审核施工图纸,发现问题,及时与监理、设计联系,尽快处理解决。

(2)严格技术交底制度。工程开工前,项目部技术部门根据设计文件、图纸及规范,向施工人员进行工程内容交底,使施工管理和作业人员了解掌握施工方案、工艺要求、工程内容、技术标准、施工程序、工期要求、安全措施等,做到心中有数,施工有据;施工阶段由经理部技术人员对该分项工程进行工程结构、工艺标准、技术标准及安全措施的交底;现场技术交底由作业层技术人员向领工员、工班长交底。施工技术交底,以书面交底为主,包括结构图、表和文字说明。交底资料必须详细准确、直观、符合施工规范和工艺细则要求,并经第二人复核确认无误后交付使用,交底资料妥善保存备查。

(3)关键工序实施前要编制详细的工艺细则及作业指导书,并有明确的技术要求和质量标准。

(4)项目部定期组织技术人员、质检人员、工班长、领工员等对施工现场进行检查,找出在施工存在的问题,分析原因,并及时改正。

四、安全文明施工及消防措施

按照业主、项目部及主管部门的要求,认真听取监理工程师的意见,协调好各方关系,严格按照规范施工,搞好安全生产和文明施工,创造安全文明施工工地。加强文明宣传工作,使广大干部职工认识到文明施工是企业形象,是施工队伍素质的反映,是安全生产的保证。增强现场管理和全体员工文明施工的自觉性。制定现场文明施工管理条例,如岗位责任制、经济责任制、会议制度、专业制度、检查制度、资料管理制度等。现场临时设施布置符合规定要求,做到场地整洁,道路平顺,排水畅通,标志醒目,生产环境达到标准化作业要求。

(1)项目部专职安全员对现场施工人员进行安全教育和安全技术交底。

(2)加强防火管理,现场有足够的消防器材,防止火灾发生。

(3)加强安全用电管理,现场禁止使用裸线,不得私架电线,加强用电线路和电焊机使用的检查,尤其是要在大风雨后对供电线路进行检查,防止漏电等现象发

专业技术负责人:                    交底人:                    接收人:

生。

(4) 施工时注意对监测装置和降水井点的成品保护。

(5)焊接作业人员必须持证上岗,严禁无证操作,焊机必须采用接地和漏电保护装置,以保证操作人员安全。

(6) 在进行混凝土破除施工时,其他人员必须远离作业区,避免被飞溅的碎块击伤。

(7) 完成基坑临边围护,预留排水沟,做好安全生产及文明施工。在冠梁施工过程中,做好栏杆埋件。

(8)及时调整设备、机具和材料的位置,做到摆放整齐。保持工作面宽敞,给施工人员提供良好的工作环境。施工现场坚持工完料清,垃圾杂物集中堆放,及时处理。

(9) 加强明排水工作,保持现场的清洁卫生。

(10)作业人员进入现场施工必须正确佩戴安全帽。

专业技术负责人:                    交底人:                    接收人:


这个家伙什么也没有留下。。。

施工组织设计

返回版块

2.43 万条内容 · 321 人订阅

猜你喜欢

阅读下一篇

高层小区外墙

20层高的小区住宅楼外墙 原有粉刷区域 起壳起皮的地方铲除;就这一步工序 ;甲方定放大绳 ,怎么处理铲除的废料,怎么安全防护 ,怎么运输下来?

回帖成功

经验值 +10