上期我们对常用风阀进行了介绍,本篇文章将对工程常用风口进行详细介绍。文章较长,为方便以后查找,建议关注收藏。
表1-常用风口类型表
类型 |
类型 |
回风 |
送风 |
排风 |
带网 |
带阀 |
温控 |
电动 |
备注 |
百叶 风口 |
单层百叶风口 |
√ |
√ |
√ |
√ |
√ |
|||
可开式单层百叶风口 |
√ |
√ |
|||||||
双层百叶风口 |
√ |
√ |
√ |
√ |
|||||
固定百叶风口 |
√ |
√ |
√ |
√ |
√ |
格栅风口 |
|||
散流 器 |
方形散流器 |
√ |
√ |
√ |
√ |
√ |
√ |
||
矩形散流器 |
√ |
√ |
√ |
√ |
√ |
√ |
|||
圆形散流器 |
√ |
√ |
√ |
√ |
√ |
||||
方变圆散流器 |
√ |
√ |
√ |
√ |
√ |
||||
条缝 风口 |
线形风口 |
√ |
√ |
√ |
√ |
√ |
可分段做任意长度0°/15°/30° |
||
线槽形风口 |
√ |
可分段做任意长度 |
|||||||
灯槽出风口 |
√ |
√ |
|||||||
远程 风口 |
旋流风口 |
√ |
√ |
√ |
√ |
||||
球形喷口 |
√ |
√ |
√ |
√ |
有方向性,可调节 |
||||
鼓形风口 |
√ |
√ |
√ |
||||||
专用 风口 |
门铰百叶风口 |
√ |
√ |
√ |
|||||
防雨百叶风口 |
√ |
√ |
√ |
叶片带倒勾 |
|||||
阶梯风口 |
√ |
√ |
|||||||
自垂百叶风口 |
√ |
√ |
√ |
无风时自动关闭 |
|||||
外气口 |
√ |
√ |
√ |
自带钢丝网 |
|||||
其他 风口 |
弧形风口 |
√ |
√ |
√ |
|||||
装饰风口 |
√ |
√ |
√ |
||||||
蛋格风口 |
√ |
√ |
√ |
||||||
箅板式风口 |
√ |
√ |
√ |
轨道 |
|||||
检修口 |
检修功能 |
1)风口生产方向A×B,统一平行于前边A。风口结构形式若需平行B边请在订货时提前说明。
2)

风口尺寸分为:颈部尺寸、开孔尺寸、面部尺寸。
图1 风口尺寸部位示意图
重要提醒:作为技术人员必须理解普通风口的三种尺寸,正常图纸标注的风口尺寸无特殊说明时一般为颈部尺寸(表面有效通风面积),其中开孔尺寸一般为安装风口时,需要预留的孔洞尺寸,面部尺寸为风口加上外框的尺寸(该尺寸和风口生产厂家的工艺相关),一般来说面部尺寸>开孔尺寸>颈部尺寸。
1)风口外框拼接采用专利角码压铆连接和直角卡码连接,外框平整、无焊点、强度好。
2)风口安装可采用弹簧、卡码专利安装技术,安装方便、效率高和外观美观。本专利技术由重庆尔安机电设备工程有限公司提供。
3)铝合金风口表面可做阳极氧化处理,也可根据项目要求进行静电喷塑(一般为保证不出现色差需要提供色卡或色板)。


图2-角码连接示意图


图3-弹簧、卡码安装示意图
单层百叶风口主要用于空调系统的末端,作送、回风口用(可开式单层百叶风口主要用于回风口)。该风口的叶片角度可在0度到180度范围内任意调节,将叶片角度调节成不同角度,可以得到不同的送风距离和不同的扩散角。侧装时、横向可调叶片在外。颈部尺寸A×B;开孔尺寸(A+20)×(B+20);面部尺寸(A+60)×(B+60)。提醒:红色字体的具体尺寸(含后续尺寸示意图表介绍)主要是介绍风口相关尺寸的概念及区别,本文数据均由重庆尔安机电设备工程有限公司根据其自身生产工艺提供,在项目施工时各位看官需根据自身生产厂家的工艺确定。


图4-可开式单层百叶风口示意图


图5-单层百叶风口示意图
双层百叶风口属双层调节百叶式送风口,本系列风口可直接与风机盘管配套使用,也用于空调系统的末端。该风口的两层叶片交叉组合,叶片角度可在0°~180°范围内任意调节,将叶片角度调节成不同角度,可以得到不同的送风距离和不同的扩散角。风口后部可另配调节阀,将风量及风速控制在适当范围内。颈部尺寸A×B;开孔尺寸(A+20)×(B+20);面部尺寸(A+60)×(B+60)。


图6-双层百叶风口示意图
百叶回风口常用于洗澡间、卫生间的回风装饰,叶片为固定式,倾斜45°。铝合金风口表面经阳极氧化处理,也可根据用户要求进行静电喷塑。颈部尺寸A×B;开孔尺寸(A+10)×(B+10);面部尺寸(A+55)×(B+55)。


图7-固定百叶风口示意图
舒适性高,适用于公共建筑舒适性空调。如播音室、医院、剧场、教室、音乐厅、图书馆、游艺厅、剧场休息厅、一般办公室、商店、旅馆、饭店及体育场合。为了使人们在各种环境里避免噪音的干扰而引起的不适感,除了按性能表确定颈部风速外,还需考虑安装高度及安装场合。
方、矩形散流器按送风方向分为单面、两面、三面和四面送风等多种型式,常用四面送风。气流为平送贴附流型,可与对开多叶调节阀配合使用,调节风量。方形散流器线条挺直,表面光洁,叶片角度为固定式,叶片采用夹角片冲压连接,整个叶片与边框采用分离式结构,以方便安装与调节。颈部尺寸A×B;开孔尺寸(A+100)×(B+100);面部尺寸(A+145)×(B+145)。


图8-方形/矩形散流器示意图
圆形散流器的扩散圈由多层锥面组成,平送流型,在颈部可装单开或双开板式调节阀,调节风量。


图9-圆形散流器示意图

表2-圆形散流器规格表
外形为正方形,内部散流器为圆形结构。(可附圆形调节开关调节风量)


图10-方变圆散流器示意图
线形风口由固定叶片组成,叶片沿平行与长边排列,每节最大连续长度3m,可分段做任意长度,主要为0°线形风口、15°线形风口、30°线形风口。该风口气流流型属于平面射流,可用于室内送、回风口。通常安装在吊顶上方,可平行于侧墙连续布置或成环状布置。颈部尺寸A×B;开孔尺寸(A+10)×(B+10);面部尺寸(A+40)×(B+40)。


图11-线型风口(0°)示意图
线槽形风口,可作送风和回风使用,也可叫活叶条缝风口。有其独特的设计造型,每组叶片的槽内有两个可调叶片,用以控制气流方向及大小,从外部就可以方便调整。该散流器一般用于天花板上,也可以安装在侧墙或其它位置使用,根据房子不同结构,加工成角度型。将导风控制板及活动叶片一起拆下,顶部留有安装孔,用M6螺钉链接,用连接片插入外框的槽内,可使用表面平整如一。内芯为弧型叶片,可开启闭合。固定槽宽,可分段做任意长度。


图12-线槽形风口示意图
(3)灯槽出风口
一般安装在室内顶面上的灯槽和中央空调的出风端,可配温控器。


图13-灯槽出风口示意图
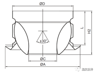
旋流风口是新一代产品,具有送风(冷、热)距离远,噪声小,使用方便等特点。热负荷变化的室内常要根据需要送冷风、等温风或热风。旋流风口无论在供冷还是在供热时均可通过调节送风角度达到最佳送风效果。 外框为圆形,内芯为可调旋流叶片。 送风深度≥3.8mm,可广泛应用于工业广场、机场、剧院、银行营业厅、体育馆等场所,尤其适用于送风温度差较大的场所。送风,动叶可调节,可带阀,顶送风,可加温控器。


图14-旋流风口(圆形)示意图(温控时带电机)

表3-旋流风口(圆形)规格表


图15-旋流风口(方形)示意图
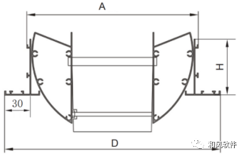
球形风口送风口喷嘴为球形,卡在外壳中间。送风方向可人工 360°范围内±30°调节。主要用于空调送风口与人员活动范围较大距离的环境里。 如:机场、剧院、体育场、候车大厅等。具有射程远、噪声低、覆盖面广的特点。送风、可调节(有方向性,只能上下调节),可带阀。


图16-球形喷口示意图

表4-球形喷口规格表
具有双向调整送风角度的特点,用作空调系统和通风系统的送风口。风口具有矩形外框结构,在外框内套装鼓壳,鼓壳内装有联动的流线形活动叶片。鼓壳可沿水平轴在俯仰方向进行±30°范围的调整。联动叶片可在水平方向进行±45°角范围的调整。以改变送风的方向。可配风量调节阀调节风量。颈部尺寸A×B;开孔尺寸(A+10)×(B+10);面部尺寸(A+60)×(B+60)。


图17-鼓形风口示意图
门铰百叶风口是一种样式像门一样的扇页风口,门铰百叶风口可把中间的扇页打开,以方便更换和清洗回风过滤网。门铰式百叶风口可用于全空气空调系统的侧送风口,既可用于公共建筑的舒适性空调,也可用于恒温精度较高的工艺性空调,此外,也可用于风机盘管机组(含新风)的出风口或独立新风系统的送风口。颈部尺寸A×B;开孔尺寸(A+10)×(B+10);面部尺寸(A+60)×(B+60)。


图18-可开式门铰百叶风口示意图
防雨百叶风口是专门用于外墙的专用铝合金风口,通常用于新风机组、新风进气口与组合空调的机房新风窗处,可安装在砖石、金属、混凝土、木结构等外墙表面上,具有较好的防雨功能,叶片为固定式,倾斜 45°。铝合金风口表面经阳极氧化处理,也可根据用户要求进行静电喷塑。不可调节,叶片带倒勾。颈部尺寸A×B;开孔尺寸(A+10)×(B+10);面部尺寸(A+55)×(B+55)。


图19-防雨百叶风口示意图
适用于具有地面吹向的场合 , 例如影剧院、大型会议室、多媒体课室及室内层高较高而地面出风的广场该风口风速流畅 , 散气效率高。面板形状可为圆形、方形。



图20-阶梯风口(方形/圆形)示意图

自垂百叶风口用于具有正压的空调房间自动排风。通常情况下靠风口的百叶自重而自然下垂,隔绝室内外的空气交换,当室内气压大于室外气压,气流将百叶吹开而向外排气,反之室内气压小于室外气压时,气流不能反向流入室内,该风口具有单向止回作用。铝合金表面经阳极氧化处理,也可根据用户要求进行静电喷塑。颈部尺寸A×B;开孔尺寸(A+10)×(B+10);面部尺寸(A+60)×(B+60)。


图21-自垂百叶风口示意图
圆形排气口适用于一般大楼外墙的排气,此形式的设计为针对大楼及住户的厨房,厕所的排烟风管末端衔接外墙部分使用,有美化外墙的作用。圆形排气口内装有百叶片及不锈钢防虫网。


图22-外气口示意图

送风、回风,不可调节。 可做弧形、扇形等。

图23-弧形风口示意图
送风、回风,不可调节。

图24-装饰风口示意图
蛋格式风口采用优质铝合金材料制作而成,可作送风口,也可作回风口使用。颈部尺寸A×B;开孔尺寸(A+10)×(B+10);面部尺寸(A+55)×(B+55)。

图25-蛋格式风口示意图
本风口可以做回风口、送风口和排风口,可用调节螺栓改变风量(需提供样品照片)。


图26-箅板式风口示意图
检修口又称天花板吊顶检查口(或人孔),方便于装修吊顶等隐蔽工程的检修。有效地解决了装修吊顶工程的检修问题,使得装饰吊顶隐蔽工程更加趋于完善。除此以外,各种预埋安装的线路,管道井、排水管道的必要位置、部分电器设备等地方也需要设置检修口。检修口广泛应用于具有吊顶的商场超市、办公大楼、营业大厅、宾馆客房、会议中心、娱乐大厅等场所。作为吊顶上的水管、电线、灯具、空调、消防等设施的安装孔、操作孔、检修孔、通风孔。颈部尺寸A×B;开孔尺寸(A+10)×(B+10);面部尺寸(A+60)×(B+60)。

图27-检修口示意图
滤网、外框、双层尼龙、铝平网、铝波纹网钢丝、铝合金框。适用于通风空调系统中的进风和回风进行过滤。


图28-过滤网示意图
铝合金轻型对开多叶调节阀,带调节手柄。适用各种矩形、方形风口的后面,达到调节气流大小的目的。

图29- 调节阀示意图
电动风口可自动控制风口叶片的开启和关闭,包括全开、全闭、定角度开启、摆风等。电动风口根据安装位置包括室内百叶风口和外墙防雨百叶风口两类,室内百叶风口又包括侧装和吊顶安装两种。
室内百叶风口在传统单双层百叶风口的基础上,增加了电动控制叶片方向的功能,且对叶片进行加固和外观升级处理,与传统百叶风口相比强度、外观均更好,且密闭性更好,实际使用时,可同时兼顾风口和风阀的功能。
室内百叶风口调节角度及调节方式包括:
(1)单向0~90度调节:适合侧装风口,可使风向贴附天花板或向下调节至全关状态。
(2)单向-45~45度调节:可用于侧装和吊顶安装,只能调节风向,无法全关。
(3)双向0~90度调节:适合吊顶安装风口,风口叶片分两部分,分别向两个不同的方向调节至全关状态
室内百叶风口还可根据需求,增加送风温度、湿度或调节角度显示功能,及根据装饰需求,在风口面层增加百叶或其它类型的装饰面板。
外墙防雨百叶风口因要同时考虑防雨、防腐蚀、安全性、装饰性等多种需求,一般采用大叶片制作。
外墙防雨百叶风口的叶片材质一般使用铝合金制作,对于在风口关闭时有采光需求的,可采用钢化玻璃制作。风口的外框采用加厚铝合金型材,叶片转动部件及夹持部件均采用不锈钢制作。铝合金表面可采用铝极氧化处理或使用静电喷涂处理。
外墙防雨百叶风口一般为向下0~90度调节至全关状态。
外墙防雨百叶风口可增加雨滴感应、风力感应、光线感应等功能,可自动根据室外环境进行开闭动作。外墙防雨也可以接入相应的控制系统,作为消防排烟窗使用。
电动风口可采用多种控制方式:
包括线控、摇控等,对于新装项目可以使用线控,对于改装项目可考虑遥控方式。
可根据需求使用手机APP、电脑等通过网线、WIFI、GSM信号等多种方式,对电动风口进行远程模式设定及控制。
可通过485接口等将电动风口纳入BAS系统进行集中控制。

0人已收藏
1人已打赏
免费7人已点赞
分享
通风排烟
返回版块13.92 万条内容 · 628 人订阅
阅读下一篇
咩话?电动排烟窗也要设置机械式手动开启装置?有个高大空间的项目设置了大量的高位电动排烟窗,在现场距地面高度1.3m~1.5m也设置了电动控制的手动开启装置,被审图老师无情提了一个甲方难以接受的意见(影响美观),就是电动排烟窗需要增加设置机械式手动开启装置! 《建筑防烟排烟系统技术标准》GB51521-2017第4.3.6条规定, 自然排烟窗应设置手动开启装置,设置在高位不便于直接开启的自然排烟窗,应设置距地面高度1.3m~1.5m的手动开启装置。
回帖成功
经验值 +10
全部回复(6 )
只看楼主 我来说两句-
加倍努力
沙发
2024-10-23 08:42:23
赞同0
-
jzhdajia
板凳
2024-10-23 08:38:23
赞同0
加载更多学习了工程常用风口详解资料,多谢了。
回复 举报
工程常用风口详解,谢谢楼主分享好资料谢。
回复 举报