土木在线论坛 \ 站务休闲 \ 闲聊茶吧 \ 特殊空气净化设备层流罩的结构、作用及应用

特殊空气净化设备层流罩的结构、作用及应用

发布于:2024-08-23 14:13:23 来自:站务休闲/闲聊茶吧 [复制转发]

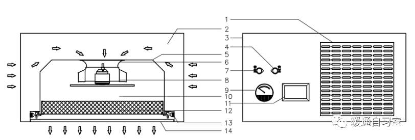
今天作者来为大家介绍一个相对特殊且独立的空气净化设备:层流罩。

图片

图片

图片

多数情况下是针对特殊生产工艺,规划的小范围或者小区域的百级环境,而不必要把整个车间都设计成百级洁净度,此时设计层流罩,既可以满足工艺使用需求,又可以降低洁净室的初投资和运行成本。

图片

图片

图片

来源:暖通自习室



全部回复(2 )

只看楼主 我来说两句抢地板
  • aceyu123456
    aceyu123456 沙发

    谢谢楼主分享的资料。

    2025-03-19 19:10:19

    回复 举报
    赞同0
  • 飞的小蝴
    飞的小蝴 板凳

    嘻嘻嘻嘻嘻嘻嘻嘻嘻嘻嘻嘻嘻嘻嘻嘻嘻嘻

    2024-08-24 07:16:24

    回复 举报
    赞同0
这个家伙什么也没有留下。。。

闲聊茶吧

返回版块

114.52 万条内容 · 196 人订阅

猜你喜欢

阅读下一篇

层流罩原理以及结构知识

 层流罩(Laminar Flow Hood)是一种用于提供无菌或洁净环境的设备,常见于生物实验室、医院手术室和工业制造等领域。它的原理和结构有助于防止微生物和颗粒物的污染,以保护实验物品或手术区域的纯洁性。以下是层流罩的原理和结构知识:   原理:   1.层流气流:层流罩通过高效的空气过滤系统,将室内空气以均匀的水平气流送向操作区域。这种水平层流气流会将悬浮的颗粒物和微生物排除到室外,确保工作区域内的空气保持清洁。

回帖成功

经验值 +10