中间环节:由开关、导线等组成。起传递、分配和控制电能的作用。
在工业生产及日常生活中,广泛使用的是交流电路。交流电具有容易生产、运输经济、易于变化电压等优点。
三相交流电路与单相交流电路相比,有节省输电线用量、输电距离远、输电功率大等优点。目前电力系统广泛采用三相交流电路。
A相用黄色,B相用绿色,C相用红色,N线用淡蓝色,PE线用黄绿双色。
建筑电气系统一般由用电设备、供配电线路、控制和保护装置三大基本部分组成。
1)电压等级:我国规定交流电网的额定电压等级有:220V、380V、3kV、6kV、10kV、35kV、110kV、220 kV等。其中35KV及以上的电力线路为输电线路,10KV及以下电力线路为配电线路。
2)各种电压等级的适用范围:高压多用于远距离输送电能,三相四线制低压供电采用380/220V;
3)额定电压和频率:我国规定使用的工频交流电频率为50Hz,线/相电压为380/220V。
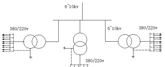
小范围民用建筑设施的供电,只需要设一个简单的降压变电室(所),把电源进线6~10kV经过降压变压器直接变为低压380/220V三相四线制。
大型民用建筑设施的供电,一般电压选为6~10kV,经过高压配电所,再用几路高压配电线将电能分别送到各建筑物变电所,降为380/220V电压供给用电设备工作使用。
根据供电可靠性及中断供电在政治、经济上所造成的损失或影响的程度,用电负荷分为一级负荷、二级负荷及三级负荷。
1.一级负荷:当中断供电将造成人身伤亡、重大政治影响、重大经济损失或将造成公共场所秩序严重混乱的用电负荷,称为一级负荷。(消防用电,医院等场所,一级负荷应由两个电源供电;当一个电源发生故障时,另一个电源不应同时受到损坏。)
2.二级负荷:当中断供电将造成较大的政治影响和经济损失的用电负荷,或将造成公共场所秩序混乱的用电负荷,称为二级负荷。允许短时停电,但是停电时间过长会损坏设备或影响生产的负荷。
3.三级负荷:凡不属于一级和二级的负荷均为三级负荷。
BLV-500-25表示铝芯塑料绝缘塑料导线,额定电压为500V,线芯截面为25㎜?。
常用导线截面规格有:1.0mm?、1.5mm?、2.5mm?、4 mm?、6mm?、10mm?、16mm?、25 mm?、35mm?、50mm?、70 mm?、95mm?、120mm?、150mm?、185mm?、240 mm?等。
电力电缆的线芯分为三芯、四芯、五芯等多种,标称截面主要有4mm?、6mm?、10 mm?、16mm?、25mm?、35mm?、50mm?、70mm?、95mm?、120mm?、150mm?、185mm?、240mm?等。
VV22为铜芯聚氯乙烯绝缘聚氯乙烯护套双钢带铠装电力电缆。
常用的金属管有水煤气管、薄壁钢管、金属软管等。不宜用在潮湿、腐蚀性环境。
常用的塑料管有硬塑料管、半硬型塑料管、软型塑料管等。按材质主要有聚氯乙烯管、聚乙烯管、聚丙烯管等。其特点是常温下抗冲击性能好,耐碱、耐酸、耐油性能好,但易变形老化,机械强度不如钢管。
导线允许载流量大小是根据导线的用途、材料、绝缘种类、允许温升和表面散热条件决定的。根据导线的安全载流量选择导线截面的原则是:导线的安全载流量要满足导线计算电流的要求。
为了保证供电质量,配电导线上的电压损失应低于其最大允许值。当给定的线路输送电功率P(kW),送电距离(单程线路长度)L(m),允许相对电压损失ε%就可根据下面工程计算中的简化公式计算出相应导线截面S(mm2):
根据机械强度、允许载流量、允许电压损失三个方向选择导线截面积时,应取其中最大的截面积作为依据,再根据电线的产品目录中选用等于或稍大于所求的截面积等级的导线。
建筑供配电系统主要由变电所、配电设备及配电线路组成。
小型民用建筑的供电,一般只需要一个简单的6~10KV的降压变电所,供电形式如图所示。用电设备容量在250KW及以下或需用变压器容量在160KVA及以下时,不必单独设置变压器,可以用220/380V低压供电。
中型民用建筑的供电,电源进线一般为6~10KV,经高压配电所,将高压配线连至各建筑物变电所,降为220/380V。
大型民用建筑的供电,由于用电负荷大,电源进线一般为35KV,需经两次降压,第一次由35KV降为10KV,再将10KV高压配线连至各建筑物变电所,降为220/380V。
民用建筑的供电电压根据用电容量、用电设备特性、供电距离、供电线路的回路数、当地公共电网现状及其发展规划等因素,经技术经济比较确定。
①用电设备容量在250kW或需用变压器容量在160kVA以上者宜以高压方式供电。
②用电设备容量在250kW或需用变压器容量在160kVA及以下者宜以低压方式供电。
低压配电系统的配电方式主要有放射式和树干式。由这两种方式组合派生出来供电方式的还有混合式、链接式等。
(1)放射式:是指从前级配电箱分出若干条线路,每条线路连接一个后级配电箱(或一台用电设备)。由于后级配电箱与前级配电箱连接的线路是相互独立的,故后级配电箱之间互不影响。
(2)树干式:是指从前级配电箱引出一条供电干线,在供电干线的不同地方分出支路,连接到后级配电箱或用电设备。
(3)混合式:实际的建筑供配电系统,多为放射式和树干式的综合应用,称之为混合式配电。
变(配)电所是建筑供配电系统中的重要组成部分,其主要作用是变换与分配电能。中小型民用建筑变配电所主要为10KV级。
变(配)电所的位置应尽量避开有腐蚀性污染位场所,以免设备被腐蚀损坏;接近负荷中心,可以节省有色金属;设置在进出线方便场所,有利于大型设备(变压器、配电柜等)的运输和安装;不宜设置在积水、低洼场所和厕所、浴室紧邻场所等。
1)刀开关:刀开关用于分断电流不大的电路,在低压配电柜内有时也起隔离电压的作用。
常见型号有HKl型和HK2型,其额定电流有5A、10A、15A、30A、60A,按极数分为二极开关和三极开关。
铁壳盖的型号有HH3型、HH4型、HH10型、HH11型等系列,HH10型的额定电流有10A、15A、20A、30A、60A、100A,HH11型的额定电流有100A、200A、300A、400A,铁壳闸极数一般为三极。
低压断路器是一种能通断负荷电流,并能对电气设备进行过载、短路、矢压、欠压等保护的低压开关电器。
断路器主要由主触头系统、灭弧系统、储能弹簧、脱扣系统、保护系统及辅助触头等组成。其型式主要有塑壳式断路器和框架式断路器。
1)额定电压的选择:低压断路器的额定电压 应大于线路的工作电压;
2)额定电流的选择:低压断路器的额定电流 应大于或等于线路中的计算电流;
3)开关的断流能力:低压断路器的断流能力是切断的短路电流的能力,其断流能力应大于或等于线路中的短路电流;
4)脱扣器的动作整定电流:对于采用热脱扣器和复式脱扣器的自动空气开关,其脱扣器的动作整定电流可按以下情况选择:
是线路中出现的尖峰电流,对于电动机来说,尖峰电流是电动机的起动电流。
熔断器俗称保险,其结构简单,安装方便,常在低压电路中作短路和过载保护。常用的低压断路器有瓷插式、螺旋式、无填料管式、有填料管式、快速式熔断器等。
低压配电柜是由低压一次设备为主,配合二次设备(如接触器、继电器、按钮开关、信号指示灯、测量仪表等),以一定方式组合成一个或一组柜体的电气成套设备。
室外线路是指建筑物以外的供配电线路,包括架空线路和电缆线路。
架空线路是采用电杆、横担将导线悬空架设,向用户传送电能的配电线路。其特点是:设备简单,投资少;设备明设,维护方便;但易受自然环境和人为因素影响,供电可靠性低,且易造成人身安全事故;影响美观。
架空线路由导线、绝缘子、横担、电杆、拉线及线路金具组成。
(1)测量定位:根据施工图,通过测量,确定电杆的位置,并在杆位上打定位桩。
(2)竖立电杆:按照定位桩位置,首先挖坑,做防沉底基,然后立杆,最后回填土。立杆时,通常借助起重机,电工配合,协调工作。
(3)安装横担:根据施工图要求的横担的形式、数量、位置,在电杆上用抱箍等金具进行安装。横担安装完后,即可安装绝缘子。
(4)架设导线:首先将导线放置在电杆下的地面上,然后将导线拉上电杆,用紧线器将导线在两根电杆间的弧垂度调整到规定范围后,再固定导线于绝缘子上。
(5)安装拉线:根据图纸要求,确定拉线形式、数量、方位,在现场制作拉线,安装拉线盘、上把、下把。
电缆线路多为暗敷设,其特点是:供电可靠性高,使用安全,寿命长;但投资大,敷设及维护不太方便。目前住宅小区、公共建筑等多采用电缆线路。
电缆线路的敷设方式主要有直埋式、电缆沟式、排管式、隧道式等。
(1)测量定位:根据施工图要求和实际现场环境测量确定电缆沟及排管敷设位置。
(2)开挖电缆沟:直埋式电缆沟结构较为简单,一般挖成截面为倒梯形的形状,沟底铲平,铺上100mm的软土或细沙,再将电缆敷设放置在上面,。普通电缆沟由砖砌或混凝土浇注而成,侧壁装有电缆支架。
(3)电缆敷设:电缆一般借助放线架、滚轮等敷设,在沟内不宜拉得很直,应略成波浪形,以适应环境温度造成的热胀冷缩。多根电缆不应相互盘绕敷设,应保持至少一个电缆直径的间距,以满足散热的要求。电缆较长中间有接头时,必须采用专用的电缆接头盒。若电缆有分支,常采用电缆分支箱分线。
(4)电缆连接设备:电缆与设备连接,其终端要做电缆终端头(简称电缆头),电缆头的制作主要有热缩法、冷缩法和干包法等,电缆头的结构如下图所示。
照明方式:一般照明,分区一般照明,局部照明,混合照明。
(1)按配光分类。配光是指光源的光通量向上与向下的发射部分之间的分配,一般可分为直射灯具、半直射灯具、漫射灯具、半反射灯具、反射式灯具五类。
(2)按结构形式分类。照明灯具可分为开启式灯具、保护式灯具、防尘式灯具、密闭式灯具、防爆式灯具五类。
(3)按灯具的安装方式分类。照明灯具可分为悬吊式、吸顶式、壁式、嵌入式、半嵌人式、落地式、台式、庭院式、道路式和广场式灯具等。
照明线路主要由电源进线、总配电箱、干线、分配电箱、支线、用户配电箱(或照明设备)等组成。
一级负荷:应采用两路独立电源供电,电源线路取自不同的变电站,为保证供电的可靠性,工程常多设一路电源,作为应急,常用的应急电源有蓄电池、发电机、不间断电源UPS或EPS等。
二级负荷:采用两回线路供电,电源线路取自同一变电所的不同的母线,但一般也设置蓄电池等应急电源。
照明系统的供电一般应采用380/220V三相四线制(TN-C接地系统)中性点直接接地的交流电源.(即三根相线加一根中线,此时的中线因接地,可以当保护线使用,故又称为保护中线”PEN”),也可采用三相“五线”制(TN-S接地系统)交流电源。(即三根相线加一根中线N、一根保护线PE)
如负荷电流小于等于40A时,可采用220V单相二线制的交流电源。(即一根相线L和一个中线N)
配电箱是将断路器、刀开关、熔断器、电度表等设备、仪表集中设置在一个箱体内的成套电气设备。配电箱在电气工程中主要起电能的分配、线路的控制等作用,是建筑物内电气线路中连接电源和用电设备的重要电气组成装置。
低压配电箱根据用途不同分为电力配电箱和照明配电箱两种。根据安装方式分为悬挂式、嵌入式和半嵌入式三种。根据材质分为铁制、木制和塑料制品,其中铁制配电箱使用较为广泛。
(1)配电箱的金属框架及基础型钢必须接地(PE)或接零(PEN)可靠;装有电器的可开启门,门和框架的接地端子间应用裸编织铜线连接,且有标识。
(3)配电箱间线路的线间和线对地间绝缘电阻值,馈电线路必须大于0.5MΩ,二次回路必须大于1MΩ。
(4)配电箱内配线整齐,无绞接现象,导线连接紧密,不伤芯线,小断股。垫圈下螺丝两侧压的导线截面积相同,同一端子上导线连接不多于2根.防松热圈等零件齐全。
(5)配电箱内开关动作灵活可靠,带有漏电保护的回路,漏电保护装置动作电流不大于30mA,动作时间不大于0.1s。
(6)配电箱内,分别没置零线(N)和保护地线(PE)汇流排(接线端子板),零线和保护地线经汇流排配出。
(8)控制开关及保护装置的规格、型号符合设计要求;
(9)二次回路连线应成束绑扎,不同电压等级、交流、直流线路及计算机控制线路应分别绑扎,且有标识。
(10)配电箱安装高度如无设计要求时,一般暗装配电箱底边距地面为1.5m,明装配电箱底边距地不小于1.8m。
封闭式母线应用的场所是低电压、大电流的供配电干线系统,一般安装在电气竖井内,使用其内部的母线系统向每层楼内供配电。
电缆桥架可以用来敷设电力电缆、控制电缆等,适用于电缆数量较多或较集中的室内外及电气竖井内等场所架空敷设,也可在电缆沟和电缆隧道内敷设。
明配线管的敷设方式有支架敷设、吊架敷设和管卡敷设。
(b)线管在钢筋混凝土楼板内敷设线管在不同结构楼板内固定方法
暗配线管的敷设方式一般与敷设部位的结构有关,一般照明线路的线管埋设深度其表面至墙体(楼板等)表面不小于15mm。
线槽配线适用于正常环境中室内明布线,钢制线槽不宜在有腐蚀性气体或液体环境中使用。
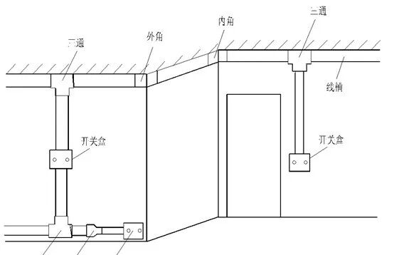
照明设备:照明线路的设备主要有灯具、开关、插座、风扇等。
②开关连接的导线宜在圆孔接线端子内折回头压接(孔径允许折回头压接时)。
③多联开关不允许拱头连接,应采用缠绕或LC型压接帽压接总头后,再进行分支连接。
④安装在同一建筑物的开关、应采用同一系列的产品,开关的通断方向一致,操作灵活,导线压接牢固,接触可靠。
⑤翘板式开关距地面高度设计无要求时,应为1.3m,距门口为150-200mm;开关不得置于单扇门后。
⑥开关位置应与灯位相对应;并列安装的开关高度一致。
⑦在易燃、易爆和特别潮湿的场所,开关应分别采用防爆型、密闭型,或安装在其它场所进行控制。
①单相两孔插座有横装和竖装两种。横装时,面对插座的右极接相线(L),左极接(N)中性线;竖装时,面对插座的上极接相线(L),下极接(N)中性线。
②单相三孔、三相四孔及三相五孔插座的(PE)或接零(PEN)线均应接在上孔,插座的接地端子不应与零线端子连接。
③不同电源种类或不同电压等级的插座安装在同一场所时,外观与结构应有明显区别,不能互相代用,使用的插头与插座应配套。同一场所的三相插座,接线的相序一致。
④插座箱内安装多个插座时,导线不允许拱头连接,宜采用接线帽或缠绕形式接线。
⑤车间及实验室等工业用插座,除特殊场所设计另有要求外,距地面不应低于0.3m。
⑥在托儿所、幼儿园及小学校等儿童活动场所应采用安全插座。采用普通插座时,其安装高度不应低于1.8m。
⑦同一室内安装的插座高度应一致;成排安装的插座高度应一致。
⑧地面安装插座应有保护盖板;专用盒的进出导管及导线的孔洞,用防水密闭胶严密封堵。
⑨在特别潮湿和有易燃、易爆气体及粉尘的场所不应装设插座,如有特殊要求应安装防爆型的插座,且有明显的防爆标志。
如果想要系统学习供配电相关知识,小编在这里向大家推荐《供配电系统设计案例提高班》,本课程帮助初入设计院的电气新人及需要提高的初级电气设计师更加深入的理解规范条文隐含的意义及制订原则;结合实例案例帮助设计师设计出安全可靠,经济合理的供配电系统;解析设计疑问,总结易犯错误,提高设计师设计水平。
你将学到

讲师介绍

全部回复(0 )
只看楼主 我来说两句抢沙发