化工金属结构设备类型
1.在工业生产中用来支撑和传递工艺设备、工艺管道以及其他附加应力所引起的静、动荷载,或为了操作方便所设置的辅助设施,如设备框架、支架、管廊、柱子、桁架结构、操作平台、梯子等;
2.服务于工业生产,在现场制作安装的大型的物料储存设备,如金属油罐、钢质球形储罐、气柜、料仓料斗等;
3.排放处理生产废气的大型金属构造物以及相应辅助设施,如火炬、排气筒、烟道、烟囱等。

油罐是炼油和石油化工工业液态碳氢化合物的主要存储设备,主要用于存储油品类液态物质。油罐按其结构外形分为立式油罐和卧式油罐。在石油化工工业中立式油罐用得较多,可分为桁架油罐、无力矩油罐、拱顶油罐、浮顶油罐等。下面简要介绍石化行业应用最广的拱顶油罐和浮顶油罐。
拱顶油罐系指罐顶为球冠状,罐体为圆筒形的一种容器,其容积可达20000m3。罐顶盖是由4~6mm的薄钢板和加强筋压制而成,如图10-1-1所示。

自支式拱顶油罐简图
拱顶油罐能承受较高的压力,有利于减少储液挥发损耗。拱顶油罐除罐顶板的制作较复杂(需用胎具压制拱形)外,其他部位的制作较易,造价较低,在国内外炼油和石油化工行业应用很广泛。
顾名思义,浮顶油罐的顶不是固定的,而是能随油品液面上下浮动。浮顶油罐的工况特点是浮顶与罐壁之间有一个密封装置,浮顶直接与油品液面接触,没有气体空间,从而大大减少了油品的挥发损耗。
浮顶油罐的种类很多,有单盘式、双盘式等,常用的单盘式浮顶油罐在浮顶周围建造环形浮船,用隔板将浮船分隔成若干个不渗漏的船室,在环形浮船范围内的面积以单层金属板覆盖。而双盘式浮顶油罐的浮顶则是上、下两面分别以金属板覆盖。不论是单盘浮顶油罐还是双盘浮顶油罐,浮盘上面都安装有梯子、平台和栏杆。建造浮顶的金属材料有碳钢和铝合金两种,目前,碳钢材料的浮顶已逐渐被铝合金浮顶所替代。浮顶一般均在专门的制造厂建造,作为成品部件供货。


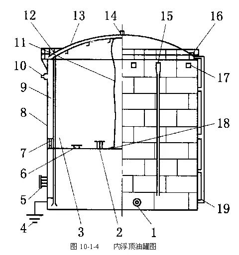
内浮顶油罐是带罐顶的浮顶油罐,也是拱顶罐和浮顶油罐相结合的一种油罐,外部为拱顶,内部为浮顶。见图10-1-4。

与无盖浮顶油罐相比较,内浮顶油罐的优点是能有效地防止雨雪、砂尘的侵入,保证储液的质量。同时,内浮顶漂浮在液面上,使液体无蒸发空间,外层还有一个拱顶保护,减少储液的蒸发损失,减少空气污染,减少着火爆炸危险。因此,内浮顶油罐特别适合储存高级汽油、航空煤油等要求较高的油品。
为保证各种油品的储存、发放、计量和油罐维修的要求,在罐体上需要安装一些不同用途的附属配件,通常称为油罐附件。
人孔用于操作人员进出油罐检查、清洗和修理之用。为了人员进出方便,人孔安装的中心线一般距罐底700mm,人孔公称直径为600mm。透光孔专门为对罐内进行检查、修理、刷洗时透光、通风之用,一般安装在罐的顶部,公称直径为500mm。
排污孔一般安装于轻油罐底部,用于清扫油罐时排除污泥,平时用于排除罐内污水。清扫孔一般安装于重油罐底部,清扫时可排出污水及清除罐内污泥,规格一般为500mm×700mm。
用于储存介质的进入或排出。
用于测量罐内油品的高度、温度及采样。
呼吸阀的作用是调节罐内的油气压力,当罐内压力过高时,通过呼吸阀将部分多余油气排出,使罐内压力下降;当罐内压力过低时,通过呼吸阀从罐外吸入空气,使罐内压力升高,始终保持与大气压恒定的状态,呼吸阀安装在油罐的顶部。
安全阀的作用是油罐在操作过程中,当呼吸阀失灵时起安全作用,其工作压力稍高于呼吸阀压力,能防止由于罐内正压或负压太高,而造成油罐被破坏。安全阀安装在罐顶中部。
储存挥发性差的燃料油、重柴油、润滑油、蜡油等油罐需安装通气管,以便调节罐内气压。
防火器(亦称阻火器)由防火箱、铜丝网和铝隔板组成,安装在呼吸阀或安全阀的下面,用以防止火星、空气经过呼吸阀或安全阀进入罐内引起意外。
加热器的作用是通过蒸汽或电对原油或重油加热,防止油品凝固,便于输送。局部加热器安装在进出油结合管附近。全面加热器安装在罐底上。
其他附件包括旁通管、膨胀管、升降管、喷淋降温管线、消防管线、静电接地、避雷针、梯子、操作平台、栏杆等,均有其相应的作用。
大型立式金属油罐,由于其直径和高度较大,壁板较薄,不适于整体预制,只能在施工现场进行本体安装。常见的施工方法有正装法、倒装法、气顶法和水浮法几种。
机械正装法是按施工规范先将罐底在基础上铺设焊好,经真空试漏合格后,将罐壁的第一圈板逐块分别与底板按划线垂直对好并施焊。当第一圈罐壁组焊完毕,检查合格后再用机械逐块吊装第二圈壁板与第一圈壁板组装焊接,按此方法直至最后一圈壁板组焊完成,再安装顶板。此种施工方法,大部分作业均在高空进行,不安全因素较多,较难保证质量,目前一般很少采用。
充水正装法适用于大容量的浮船式金属储罐的施工,它是利用水的浮力和浮船结构的特点,为罐体组装提供方便。其方法是先将罐底铺设在基础上,焊好后经无损探伤及严密性试验合格,将罐壁的第一圈壁板按线逐块分别与罐底焊接,第一圈壁板安装完毕,检查合格后开始安装储罐的浮顶。当浮顶安装完后,进行充水使浮顶上升到安装其他圈壁板的合适位置,也就是将浮顶作为安装操作平台。此方法在安装浮顶油罐时用的较多。
与正装法正好相反,倒装法是先将底板铺好后,然后从上到下进行安装。其安装顺序是先将罐顶和罐顶下的第一圈壁板在底板上装配并安装好,再将罐顶下的第二圈壁板围在第一圈壁板的外围,并以第一圈壁板为胎具,组对壁板的纵向焊缝并焊成圆形,将罐顶和第一圈壁板整体吊至第一、二圈壁板相搭接的位置停下点焊,再进行环焊缝的焊接。其他各带壁板均依同样方法顺序安装,直至储罐的最下一圈壁板焊接后与罐底板焊接完成。倒装法示意图见图10-1-5。
倒装法安装基本上在地面进行,避免了高空作业,保证了施工安全,有利于提高工效和工程质量,但需要较大的吊装机具。
充气升顶法是罐壁倒装法的另一种形式,采用充气升顶法安装油罐既节省人力、物力,又安全可靠,远比采用笨重的起重设备进行倒装法安装要优越得多。


充气升顶法原理是利用罐体本身的结构条件和密封性能利用鼓风机向罐内送入压缩风所产生的浮力使上部罐体上升就位,当罐体浮升到一定高度时,逐渐关小风门,控制进风量,罐体即悬空平衡,此时可逐圈组装焊接,直至最后一圈壁板安装完毕,并与罐底连接。
在油罐施工中,由于施工单位各自的装备和施工条件不同,因而采用的施工方法也不尽相同,有关定额对油罐的施工方法是综合考虑的,常用的油罐施工方法下见表。
各类油罐的施工方法选定
| 油罐类型 | 施工方法 | |||
|---|---|---|---|---|
| 水浮正装法 | 抱杆倒装法 | 充气升顶法 | 整体吊装法 | |
| 拱顶油罐(m3) | — | 100~700 | 1000~20000 | — |
| 无力矩油罐(m3) | — | 100~700 | 1000~5000 | — |
| 浮顶油罐(m3) | 3000~50000 | — | — | — |
| 内浮顶油罐(m3) | — | 100~700 | 1000~5000 | — |
| 卧式油罐(m3) | — | — | — | 各种容量 |
按照设计技术条件和规范要求,金属油罐在安装完后,需对焊缝进行无损探伤,应分别对罐底板、罐壁板和罐顶板的焊缝进行检验。
罐底焊接后,通常用真空箱试验法进行严密性试验。真空箱是一个无底矩形试验箱,箱底周边装有海绵状泡沫塑料,顶部装窥视镜。试验前在焊道上涂刷肥皂液,然后将真空箱置于焊道上,开动真空泵,使箱内处于真空状态,当焊缝有穿透性裂纹和穿透性气孔等缺陷时,空气就会从上述焊缝缺陷中穿过而产生肥皂泡。在缺陷处作出标记,以便返修。然后用同样方法把真空箱移到下一段焊道上进行检验,直至全部检验完毕。
罐壁板焊缝严密性检验一般采用煤油试漏法。此法是在需检验的焊缝部位(外壁)涂刷一层白垩水溶液,然后在焊缝的另一面(内壁),以0.1~0.2MPa的压力喷射煤油,经过一段时间,检查焊道外表面。当焊缝有穿透性焊接缺陷时,煤油会渗透到白垩的表面,出现明显的煤油斑点,即可确定焊缝缺陷位置,进行返修处理。
罐顶板焊缝一般采用煤油试漏或压缩空气试验法检验其严密性。压缩空气试验法是在需检验焊缝的内部通入压缩空气,并在焊缝外部表面涂肥皂水,未发现气泡为合格。
对油罐的罐底、罐壁、罐顶分别进行严密性试验后,应再进行充水试验,并检查下列试验内容:罐底严密性,罐壁强度及严密性,固定罐顶的强度、稳定及严密性,浮顶的升降试验及严密性,中央排水管的严密性,基础沉降观测。
罐底的严密性以罐底无渗漏为合格。罐壁强度及严密性以充水到设计最高液位并保持48h罐壁无渗漏、无异常变形为合格。固定罐顶的强度及严密性试验方法是:罐内充水高度大约1m后,将所有管口封闭,进行缓慢充水升压,当升至试验压力时,在罐顶焊缝表面涂以肥皂水,应以罐顶无异常变形、焊缝无气泡为合格。若发现缺陷,应在补焊后重新进行试验。浮顶的升降试验应以升降平稳、导向机构及密封装置无卡涩现象、浮梯转动灵活、浮顶与液面接触部分无渗漏为合格。

在我国石油、化工、冶金、城市煤气等工业部门,广泛采用钢质球形贮罐(以下简称球罐)用来贮存液化石油气(如乙烯、丙烯、丁烷等)、液化天然气、液氧、液氮、液氨、氧气、氮气、天然气、城市煤气或其中间产品。
球罐与立式或卧式圆筒形容器相比,在相同容积和相同压力下,球罐的表面积最小,因而所需钢材最少;在相同直径和相同壁厚情况下,球罐壁内应力最小,只有圆筒形容器纵向应力的1/2,即在相同应力情况下,球罐的板厚只需圆筒形容器的一半。此外,球罐占地面积小,基础工程量小,可充分利用土地面积。目前,我国已能制作安装压力为1.03MPa容积为10000m3的贮存天然气的球罐。
球罐由本体、支座及附件组成。
球罐本体是球罐结构的主体,它是球罐贮存物料并承受物料工作压力和液体静压力的构件。球罐本体是由许多块球壳板拼焊而成的一个球形容器。其结构外形见图10-1-7。由于球罐直径大小不同,球壳板的数量也不一样。球壳体有桔瓣式和混合式两种结构
![]() |
![]() |
![]() |
球壳板为标准球形,一般由容器制造厂根据设计图纸进行压制。压制方法有热压和冷压两种。热压是将钢板置于加热炉中,加热至750~800℃然后放在模具上进行压制。对于调质和正火供货的钢板,为保持钢板原有的机械性能,应进行冷压成形。
冷压是将钢板置于模具上用压力机通过模头对钢板施以压力使钢板应力超过屈服强度限而变形。不论是热压和冷压,球壳板周边均应留有余量,便于检验尺寸、划线切割和开坡口。球壳板经检查合格后,在制造厂还应进行预组装,然后对每块球壳板编号,发送施工现场。
球罐支座系用于支承球罐本体、附件、储存物料重量及承受风载、地震力等自然力的结构部件。球罐支座多采用与球罐赤道板正切的柱式支座,也称球罐支柱。球罐支柱一般用钢管制成,支柱数量通常为赤道板数量的一半。支柱间有拉杆,使其支承连成整体。支柱通过柱脚板用地脚螺栓固定在基础上。
除上述赤道正切式支座外,还有V型柱式支座、裙式支座、半埋式支座等,但用得较少。
(1)梯子平台。为了检查、维护和操作,球罐上均设置有顶部平台和中间平台。顶部平台是工艺操作平台,球罐上的工艺接管、人孔、仪表等大部分设置在球罐顶部的极板上。中间平台是为了操作人员上下顶部平台时中间休息或作为检查球罐赤道部位而设置的。

有的球罐为便于内部检查和维护,设置有内部转梯,该转梯可以旋转,可转到球罐内部的任何部位。
(2)人孔和接管。人孔是为了检修人员进出球罐进行检查和维修而设置的,同时也用于现场组装焊接球罐时通风、进行热处理、安装燃烧器和烟气排出等用,人孔大小一般选用DN500。根据工艺需要,球罐还装有各种接管。
(3)喷淋装置。喷淋装置的作用有二:一是对球罐起冷却作用。喷淋装置装在球罐的上部,通水时,冷却水从环管或堰流出,沿球罐壁流下,起到冷却介质的作用。二是消防作用。在球罐不同高度,离球罐外壁一定距离装环形管,环形管每隔一段距离装一个喷头,当球罐失火(自身或相邻)时,即可通过喷头喷洒灭火介质(一般为高压水,通过喷头后形成雾状)进行灭火或隔热。
(4)隔热和保冷设施。隔热和保冷是为了保证介质的一定温度,根据不同的介质和要求而定。
(5)液面计。用于观测球罐内液位。
(6)压力表。为了测量球罐内的压力,一般在球罐的上部和下部各装一块压力表。
1、按形状分为圆球形和椭球形两种。椭球形球罐重心较低但制造复杂,应用较少。
2.按组成球壳体的球壳板形状可分为桔瓣式球罐、足球瓣式球罐和上述两种型式相混的混合式球罐。足球瓣式球罐的优点是球瓣的尺寸相同或相近,制作开片简单。缺点是组装比较困难,有部分支柱搭焊在球壳体的焊缝上,容易形成焊接缺陷和应力集中,因而用得较少。
![]() |
![]() |
3.按壳体层数分为单层壳体和双层壳体。双层球罐由外球和内球组成,双层壳体间充填优质隔热材料,所以隔热保冷性能好,一般用于储存温度低的液化气,如液体乙烯。壳体材料的采用一般是内壳体为不锈钢,用于承受介质工作压力和低温工作条件;外壳体为碳钢,用于支承内壳体和介质的重量,同时可隔绝雨、雪对隔热材料的侵袭。
4.按支承结构分为柱式支承和裙式支承。柱式支承中以赤道正切柱式支承用得最多,我国应用较广。裙式支座有圆筒裙式支承和锥形裙式支承,用于容积较小的球罐支承,但用得较少。
在我国,施工现场广泛采用的拼装球罐方法有两种:环带组装法和分片组装法。
环带组装法的要点是按照设计图纸对球罐的各个环带,分别在平台上组装焊接好,经检验合格后,然后把各个环带由下至上,或先安装赤道带,后安装下温带,再安装上温带,逐带吊装就位,最后施焊环缝,完成球罐的安装。
环带组装法的优点是环带纵缝的组装精度高,组装的约束力小,高空作业比较少,施工进度快,减少了不安全因素,有利于提高工效。缺点是需组装一个比较大的平台,钢板用的较多,占用施工场地也比较大;另外,在组装环缝时,往往难以避免强制组装现象的发生,组装后应力较大,焊缝易产生延迟裂纹;同时,需要吊装能力较大的吊装机械。因此,环带组装法一般用于容积等于或小于400m3的球罐。
分片组装法的顺序是首先安装带支柱的赤道板,可以用机械吊车或桅杆进行起吊。方法是:第一块带支柱的赤道板吊装就位并经调整检查合格用钢丝绳张紧固定。然后用同样的方法安装第二块带支柱的赤道板。当相邻两支柱的赤道板临时固定后,即安装两支柱间的赤道板,找平上、下口,调整好对口间隙,用夹具固定。
采用同一方法,将整圈赤道板组装完毕,并检查及校正水平度、球面曲率及上、下口直径的几何尺寸和圆度,然后进行点固焊。赤道带组装完后再组装下温带、上温带及极板。最后进行全位置焊接。
采用分片组装法的优点是施工准备工作量少,组装速度快,组装应力小,而且组装精度易于掌握,也不需要很大的吊装机械,同时可省去组装平台或只需一简易平台,因而施工现场相对较小。缺点是高空作业大、需要相当数量的夹具,全位置焊接技术要求高,焊工施焊条件差,劳动强度大。
1.焊前预热。制作球罐的钢材大多为高强度钢,焊接后由于冷却、收缩较快,易产生冷裂纹及脆性断裂。预热的目的就是为了缓解焊缝热影响区的冷却、收缩速度,降低钢材硬度,增加塑性及除去表面水分。焊前预热的温度应根据焊件的材质、厚度、接头拘束度、气候条件等,由焊接试验确定,也可按GB12337-1998的规定执行,见表10-1-2。
表10-1-2常用钢种的预热温度
| 钢种 | 20R | 16MnR 16MnDR |
15MnVR | 15MnVNR | 07MnCrMoVR 07MnNiCrMoVDR |
09Mn2VDR | |
|---|---|---|---|---|---|---|---|
| 板厚/mm | 预热温度/℃ | ||||||
| 20 | — | — | — | 75~125 | 50~95 | — | |
| 25 | — | — | 75~125 | 100~150 | — | ||
| 32 | — | 75~125 | 100~150 | 125~175 | — | ||
| 38 | 75~125 | 100~150 | 125~175 | 150~200 | — | ||
| 50 | 100~150 | 125~175 | 150~200 | 150~200 | 75~100 | — | |
2.焊后后热。焊后后热的目的是为了释放焊接残余应力、改善焊缝塑性和韧性,防止产生冷裂纹,更重要的是加速扩散氢的逸除,改善焊接部位的机械性能。后热温度根据板厚不同一般为200~250℃,保温时间为0.5~1h。遇有下列情况的焊缝,均应在焊后立即进行焊后后热消氢处理。
厚度大于32mm,且材料标准抗拉强度下限值6b>540MPa的球壳;
厚度大于38mm的低合金钢;
锻制凸缘与球壳板的对接焊缝;
焊接试验确定需消氢处理者。
3.整体热处理。制作球罐的材料,随着厚度的增加,施焊以后,焊缝产生的残余应力不仅很复杂,而且数值也高,这是引起球罐在设计低应力下产生脆性破坏的主要因素。球罐整体热处理的目的就是为了消除球罐组焊时产生的残余应力,稳定球罐的几何尺寸,改变焊缝金相组织,提高金属韧性和抗应力的能力,防止裂纹的产生。球罐整体热处理还能促使溶解氢析出,防止延迟裂纹的产生,预防滞后破坏,提高耐疲劳强度与抗蠕变强度。
球罐整体热处理目前有两种方法,即内燃法和电加热法。使用最多的为内燃法。
(1)内燃法。内燃法是将焊接完毕并经检验合格的球体作为炉壳。在球体内布置一个或若干个燃烧器(喷油嘴),以雾化的轻柴油作为燃料,以石油液化气作为点火器燃料,燃料在球罐内部不断燃烧,产生热对流和热辐射加热整个球体。为减少热量的损耗,罐外用隔热材料进行隔热。热处理温度按设计要求,也可参照下表
热处理温度
| 钢号 | 热处理温度(℃) |
|---|---|
| 20R | 600±25 |
| 16MnR | 600±25 |
| 15MnVR | 570±20 |
| 15MnVNR | 565±20 |
| 07MnCrMoVR、07MnNiCrMoVDR | 565±20 |
| 09Mn2VDR、16MnDR | 600±20 |
热处理恒温时间,按球壳厚度每25mm恒温1h计算,且不少于1h。
(2)电加热法。电加热法的原理和方法是将专门设计的电热元件放置在球罐内下部,球罐外部用隔热材料封闭,使球罐形成一个封闭式电炉。加热时借助罐内空气的对流将热量均匀地传给罐壁,从而达到加热的目的。
1.焊缝检验。焊缝检验有外观检查、射线探伤、超声波探伤、磁粉探伤及着色探伤等。外观检查主要是检查焊缝外表质量,可用目测或放大镜,要求焊缝及热影响区不得有裂纹、气孔、夹渣、凹陷、熔合性飞溅物等缺陷。有些焊缝的表面微小裂纹缺陷目测检验有困难,则需进行磁粉或着色探伤。焊缝的内在缺陷则采用射线探伤和超声波探伤检验。
选择100%射线探伤检验时,当球壳板厚度大于38mm时还应作超声波探伤复检,复检长度不应小于所探焊缝长度的20%。选择100%超声波探伤时,应对超声波探伤部位作射线探伤复检,复检长度不应小于所探焊缝长度的20%。水压试验后对焊缝应进行复查,复查数量不得小于焊缝全长的20%。
2.水压试验。水压试验的目的是为了检验球罐的强度、考核球罐组装焊接质量,以保证球罐能够承受设计压力,经过水压试验尚能改善球罐内应力及承载能力。水压试验压力一般为设计压力的1.25倍,设计有特殊要求时按设计文件要求进行,试压用液体一般为清洁的工业用水。
3.气密性试验。气密性试验的目的主要是检查焊缝及各连接点的严密性。球罐的气密性试验应在水压试验合格后进行。由于气密性试验有一定的危险性,在试验过程中应严格执行预先制订的各项试验步骤、技术要求和安全措施。气密性试验压力一般等于设计压力,介质为干燥、清洁的压缩空气或氮气。

气柜,广泛应用于化工、石油化工、冶金等行业及城市煤气的储存、供应,它是用来储存气体、输送气体的一种设备。
气柜分为干式和湿式两种,干式和湿式气柜的区别在于密封型式的不同。干式气柜的密封是采用弹性垫片及油封填充方法;湿式气柜则是采用向水封槽充水的方法。目前,常用的为湿式气柜。由于煤气燃烧时工作压力不高,因此气柜承受的压力均为低压(1200~4000Pa)。一般称为低压湿式气柜。
低压湿式气柜分为直升式气柜和螺旋式气柜两种。直升式气柜容积为100~1000m3,螺旋式气柜容积为1000~200000m3,石油化工用气柜的容积一般不超过10000m3。

气柜常用的材料有:Q235-AF、Q235-A、20R、16MnR、16Mn等。厚度大于30mm的16MnR钢板应正火状态供货。设计温度≤-20℃时,厚度≥6mm的钢板,应进行设计温度下的V型缺口冲击试验。
1.低压湿式直升储气柜主要是由储水槽(水槽壁)、中节、钟罩、垂直导轨、桁架钢结构和配重块等组成。钟罩和中节的升降,是沿内外垂直导轨和滑轮上下移动。桁架钢结构的作用,是承受气柜的全部荷载,并通过储水槽将其荷载传递于基础上。
2.低压湿式螺旋储气柜主要是由储水槽、中节、钟罩、螺旋导轨、水封槽、金属结构、配重块等组成。中节有多个,中节及钟罩沿螺旋导轨上下移动。
为保证气柜施工质量,气柜在组装前应尽可能地对各零部件进行预制。首先按照设计要求、材料几何尺寸及规范规定,绘制施工排板图。然后,在气柜中节壁板和钟罩壁板上标出中心线、搭接线及安装顺序和方向;上、下水封分段预制,但立板接口与环形底板接口应错开300mm以上;角钢圈、槽钢圈、立柱预制长度一般不应小于5m,并在平台上放样校正弧度和水平翘曲度;导轨预制应严格按照施工方案进行,热加工后不得有过烧、裂纹、急弯及不符合设计要求的扭曲和凹坑。
气柜安装也有正装法和倒装法之分。
(1)正装法。正装法的安装顺序是由外向里、由下至上进行安装。所谓由外向里是指先安装水槽壁,再安装中节壁,最后安装钟罩壁。所谓由下至上是指水槽壁的安装,由最下一圈带板开始组装直至最上一圈带板。中节壁、钟罩壁的安装,先将下水封及下带板组装焊接完后,再安装立柱、上带板、上水封或拱顶、螺旋导轨及垫片,最后安装菱形板。
(2)水浮正装法。水浮正装法仅适用于水槽壁的安装,当最下一圈壁板组焊完后,向水槽内注水,水将预先制作好并设置在水槽内的浮筒浮起,可作为内部操作平台,浮起的浮筒通过吊架,将吊篮悬空地吊在水槽外空间,可作为外部操作平台。凭借内外操作平台,由下至上组装焊接每一圈壁板。组焊完一圈壁板向水槽内注水一次,达到适合操作的高度,直至最上一圈壁板组焊完成。
(3)倒装法。倒装法的安装顺序是有里向外、由上至下进行安装。所谓有里向外是指先安装钟罩壁,再安装中节壁,最后安装水槽壁。所谓由上至下是指先安装钟罩壁、中节壁、水槽壁的最上一圈带板,然后由上而下逐圈组装焊接,壁板全部组焊完后安装上水封、立柱、下水封,最后安装导轨。钟罩拱顶则在钟罩壁最上一圈带板组焊完后进行。
湿式气柜遭遇腐蚀的程度远远超过一般储罐。其原因是湿式气柜所储存的介质及水槽内的水质(不可避免地会溶解储存介质所携带的二氧化碳、二氧化硫或三氧化硫等酸性物质)都具有较强的腐蚀性,同时中节及钟罩在运行过程中要不断反复地浸入水槽和暴露在大气中,更加快了腐蚀的进程。因此,湿式气柜的防腐是一项很重要的工作。
气柜各零部件的防腐涂料和油漆按设计图纸规定,施工方法按施工规范,一般要求如下:
(1)为保证油漆涂刷质量,在进行油漆防腐前,要将金属表面的污物和铁锈清除干净,一般应采用喷砂处理。喷砂处理部位包括水槽壁板、水槽底板、各中节壁板、钟罩和金属结构等。
(2)水槽底板背面的沥青漆要在安装前全部刷完。水槽底板正面浇热沥青的工作必须在底板真空试验、喷砂除锈合格及气柜整体施工结束后进行。
(3)下水封槽内、外表面油漆要在水封槽注水试验合格后进行。
(4)水槽、中节、钟罩内表面及气柜内的管道、金属结构等的油漆,应在水槽注水试验前进行。
一般采用真空试漏法,其试漏方法与金属油罐相同,真空箱内真空度为1.96kPa。
(1)气柜所有焊缝均应经煤油渗透试验。
(2)当钢板厚度≥8mm时,水槽壁对接焊缝应抽样进行射线探伤检查,抽查数量立缝不少于10%,环缝不少于5%。
(1)水槽注水试验
底板严密性试验合格后,应进行水槽注水试验。注水时,一方面检查焊缝是否渗水,另一方面要观测基础沉降情况。若发现问题应及时停止注水,待问题解决后,再继续注水至试验高度,并保持24h。
(2)气柜升降试验
a.试升阶段。启动供气设备(空气压缩机或鼓风机)向钟罩内充气,使钟罩和中节徐徐上升,密切注意压力计的指示数值和各塔节上升的平稳状况,检查导轨与导轮运行接触情况。当钟罩下水封立板接近中节上水封立板时,应降低上升速度,检查下水封在圆周方向是否同时进入上水封。
在钟罩和中节上升过程中,用肥皂液检查壁板焊缝,如有泄漏应随即补焊。当钟罩和中节上升到设计高度时,压力计的指示应符合设计要求,如差别较大,可用配重块调整。同时,用肥皂液涂刷钟罩顶盖所有焊缝,进行气密性检查。
b.气柜下降试验。当钟罩上升到设计高度并气密性检查合格后,打开放空阀门,使钟罩和中节缓慢下降,此时应密切注意压力计的压力变化、导轨与导轮的接触运行情况,运行应平稳。
c.气柜快速升降试验。以上两个阶段试验合格后,应进行快速升降试验,升降速度为每分钟不超过1.5m,进一步观察钟罩、中节、导轨与导轮的接触运行情况。

火炬及排气筒是石油化工装置中的大型钢结构,用来处理连续或间断排出的有毒、可燃性废气。由于气体排出量的不均衡性,尤其在停车检修或发生事故时,排出的气体不可能完全用作燃料,只能送火炬燃烧掉或由高耸的排气筒排放到大气中,以减少对周围环境的污染。
火炬及排气筒常见规格有φ400~φ1200mm,高度在120m以内。筒体一般由碳素钢板卷制而成,靠近火炬头的筒体,为能承受高温,常采用不锈钢管。塔架是为了支承火炬或排气筒体的吊装、承受风载或地震载荷以及检修之用。火炬、排气筒及塔架结构示意见下图。有的火炬和排气筒没有塔架,而是采用六根拉绳(缆风绳)固定。

火炬结构示意图
排气筒是通过筒体将装置中排出的废气排入大气,它没有燃烧装置,结构比较简单。火炬则是在筒体顶端装有密封器及火炬头并装有点火烧嘴(长明灯)连续燃烧,排放气不论何时出来,均能点燃。
塔架有两种结构,一是钢管制塔架,它由各种规格的无缝钢管焊接成三棱体的空间桁架;另一种结构是型钢制塔架,它由各种型钢焊成四方形的空间桁架。
为减少高空作业,改善焊接条件,火炬、排气筒及塔架均在地面预制、焊接和组装,经检验合格后进行整体吊装或分段吊装。全国统一安装工程预算定额是按双金属桅杆整体起吊的方法考虑的。
料仓是保存和贮藏物料的容器,料斗是供给或排除物料的容器。通常料仓和料斗是连成一体的,即料仓底部的圆锥或角锥形的存料部分称为料斗。有时料斗也附属于给料机。
兼有容器和溜槽作用的料斗种类很多,通常是沿物料向下卸出方向其截面逐渐减小的圆锥或角锥形。
![]() |
为使料仓中的物料混合均匀,有的料仓内部装有渗混管。
石油化工行业用的料仓、料斗一般均用铝合金或不锈钢等材料制作,这主要是为了保证成品物料的清洁和质量。
烟囱、烟道是锅炉或工业炉窑排出燃烧废气的通道。按其制作工艺可分为两类,一类是用非金属材料,即用耐火砖砌筑成的通道,一类是用钢板焊制成的通道。
烟道系用以引导烟气或布置受热面的通道。钢制烟道大多在施工现场按照设计图纸制作,为了便于安装省煤器(或空气预热器)及方便检修和清扫,烟道截面大多采用非圆形。

非圆形钢制烟道的制作比较简单,除顶部需压制成形外,其余部位直接用钢板剪切下料,然后进行组焊。所用材料均为普通碳钢板,焊缝采用煤油渗透检验即可。钢制烟道检验合格安装完后,外面尚应砌一层隔热材料,以减少热损失。非圆形截面的烟道焊接工作量比圆筒形烟道焊接工作量大,制作成本高。
烟囱系用以引导锅炉或工业炉窑燃烧废气排入大气的通道。独立钢烟囱一般在施工现场按照设计图纸制作,其所用材料大多为低碳钢板,用卷板机卷制成圆筒形或圆锥形进行组焊。组焊完后用煤油进行渗透检验。为便于安装和增强刚度,烟囱各段的联结多采用法兰联结。独立钢烟囱制作完后用吊车整体吊放在基础上用地脚螺栓固定。如果独立钢烟囱较细较高,应采用缆风绳拉紧,以抗风载荷和地震载荷。
0人已收藏
0人已打赏
免费2人已点赞
分享
茶余饭后
返回版块6248 条内容 · 74 人订阅
阅读下一篇
业主砍断高空工人安全绳,重庆警方通报重庆市公安局渝中区分局官方微博@平安渝中 7月1日发布警情通报称,6月30日14时许,渝中区大坪一小区物业安排工人维修外墙,架装高空施工安全绳时,损坏了业主伍某(男,56岁)在高层屋顶搭建的花园瓷砖、庭院灯。 伍某称没接到物业通知,施工损坏了花园设施,要求停止施工,并与屋顶施工安全员发生争执。伍某用铁铲砸坏安全绳两个固定锚点外垂落屋顶地面尾端多余部分,该部分绳索不影响施工安全,未造成安全事故。
回帖成功
经验值 +10
全部回复(1 )
只看楼主 我来说两句 抢板凳资料不错,对于学习油罐技术知识有很大的帮助,谢谢楼主分享
回复 举报