闸阀又称为闸板阀,启闭件为闸板,由阀杆带动闸板做升降运动的阀门称为闸阀。
流体流动阻力小;启闭所需力矩小;介质流向不受限制;启闭无水击现象;形体结构比较简单,制造工艺性较好。
外形尺寸和安装高度较大,所需的安装空间也较大;在启闭过程中,密封面有相对摩擦,磨损较大,甚至在高温时容易引起擦伤现象;闸阀一般都有两个密封面给加工、研磨和维修增加了一些困难。
闸阀应用范围广泛。通常用于大于或等于公称直径DN50的给水管路。
闸阀按连接方式可分螺纹闸阀、法兰闸阀和焊接闸阀,按结构特征可分平行式闸板和楔式闸板,按阀门阀杆结构分明杆(升降杆)闸阀和暗杆(旋转杆)闸阀。
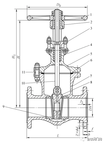
明杆平行式双闸板闸阀如图1所示,它的闸板由两块对称平行放置的两圆盘组成,当闸板下降时,靠置于闸板下部的顶楔使两闸板向外扩张紧压在阀座上,使阀门关严。当闸板上升时,楔块脱离圆盘,待圆盘上升到一定高度时,楔块就被圆盘上的凸块托起,并随闸板一起上升。
该阀门结构简单,密封面的加工、研磨、检修都比楔式闸阀简便,但密封性较差,适用于压力不超过1.0MPa,温度不超过200℃的介质。

图1 明杆平行式双闸板闸阀
1-手轮 2-阀杆螺母 3-阀杆 4-填料压盖 5-填料 6-阀盖
7-垫片 8-密封圈 9-阀体 10-闸板 11-顶楔
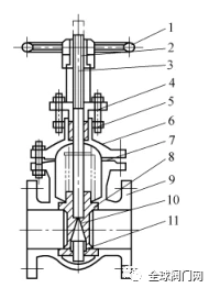
图2所示为暗杆楔式闸板闸阀,该阀门的密封面是倾斜的,并形成一个夹角,介质温度越高,夹角越大。楔式闸板分单闸板、双闸板和弹性闸板,分别如图2a,b、c所示。楔式闸板的加工、研磨、检修较平行式闸板繁琐,但密封性较好。

图2 暗杆楔式闸板闸阀
a)楔式单闸板 b)楔式双闸板 c)楔式弹性闸板
1-手轮 2-指示器 3-压盖 4-填料箱 5-填料 6-阀盖
7-阀杆 8-阀杆螺母 9/12-密封圈10-阀体 11-闸板 13-垫片
3)弹性闸板闸阀
弹性闸板闸阀如图3所示,它具有结构简单、使用可靠等优点,又能产生微小的弹性变形,增加了关闭的严密性。
图3 弹性闸板闸阀
1-手轮 2-阀杆螺母 3-填料压盖 4-填料 5-阀盖 6-垫片
7-阀体 8-闸板 9-密封圈 10-阀杆 11-连接螺栓
明杆闸阀中,阀杆的螺纹与附有手轮的套筒螺母相配合,阀杆的下端有方头,嵌于闸板中,旋转手轮时,阀杆和闸板做上下的升降运动。开启时,阀杆伸出手轮,优点是从阀杆的外伸长度能判断出阀门的开启程度,阀杆不直接与输送介质接触;缺点是阀门开启高度大,安装场所必须有阀杆外伸的足够空间。现场安装时,一定要注意这一点。
暗杆闸阀的阀杆外螺纹与嵌在阀门内的内螺纹相配合,故旋转手轮时,阀杆做旋转运动,使得阀门内的闸板做升降运动,而阀杆不能上下升降。暗杆闸阀安装占据空间小,输送介质与阀杆直接接触,不能通过阀杆来判断阀门的开启程度。不管是明杆闸阀还是暗杆闸阀,闸阀安装均需水平安装。阀杆垂直向上,不应倾斜,严禁阀杆朝下安装。
0人已收藏
0人已打赏
免费1人已点赞
分享
水处理
返回版块43.13 万条内容 · 1505 人订阅
阅读下一篇
当污水厂遇见极端天气,你将会遇到90%的污水处理问题!三四月以来,全国多地频现极端天气。 广州局部出现冰雹和龙卷风,致5死33伤;北江发生接近“百年一遇”特大洪水,致广东多地4死10失联;江西发生21起雷电灾害事故,仅4月发生的四起就造成3死3伤;南昌出现强对流大风,造成4死10余伤...... 同时,这些“来势汹汹”的极端天气也造成电力设施、建筑物、环境设备、工艺系统等不同程度的受损,其中就包括咱们环保人干活的污水处理厂。 因此,当污水处理厂面临变化多样的极端天气时,应在运行管理中加强对工艺、设备、构筑物以及管线等的提前预防和检修、及时调整和控制。
回帖成功
经验值 +10
全部回复(1 )
只看楼主 我来说两句 抢板凳好资料,对于学习阀门知识有很高的参考价值,学习啦,谢谢楼主分享
回复 举报