8.3.1 室内采暖系统工艺流程

定位画线
1.材料:钢钎、尼龙绳等。
2.工具:水准仪、塑料管、水平尺、钢卷尺、红蓝铅笔等。
3.按施工图纸和已经审批的施工方案,绘制施工简图,其内容包括:管道的位置和走向、始末端和拐弯点的坐标和标高;管段长度、管径、变径位置和规格;预留口尺寸、位置和方向;管道坡向;阀门位置、规格型号和方向;支架位置;补偿器安装位置、规格型号等。
4.按照施工简图确定的管道走向、标高和建筑轴线,用水准仪或透明塑料管灌水(应把管内的空气排净,以免有气泡影响准确度)。在墙、柱上找出水平点定位,再按管道坡度,经打钢钎挂线,定出管道安装中心线即管道支架安装基准线。
8.3.3 干管支架安装
1.材料:成品支架、水泥、电焊条、螺栓等。
2.工具:电焊机、钢卷尺、电锤、手锤、扁钎、活扳手等。
3.依据基准线及管道的规格和管道支架间距来确定支架位置。
4.支架安装前应对制作好的支架进行除锈及清理焊渣,再刷防锈漆两遍(刷第二遍时应在第一遍防锈漆外表面干燥后进行,埋入墙内部分可不刷防锈漆)。
5.埋入式支架安装:按照支架位置在墙、板打洞,孔洞的深度应不小于150mm,孔洞直径应比支架燕尾处大20mm。埋设支架前应把孔洞清理干净、湿润,用M10水泥沙浆堵洞,洞内的沙浆应饱满,支架埋入墙内的深度不小于120mm(可先将洞内填满沙浆,再插入支架,填满抹平),埋设的支架应养护72h后方可承托管道。
6.焊接式支架安装:按照预埋铁件的位置,将铁件表面清理干净,依据基准线把支架焊接位置画在预埋铁件上,然后找准位置把支架先点焊在铁件上,经校对无误后,再把支架焊牢。
7.包柱式支架安装:依据基准线,按支架的形式,用长螺栓将支架紧固在混泥土柱上,紧固螺栓时应边紧固边调整支架的高度和水平度。
8.3.4 干管、主立管安装
1.材料:管材、电焊条、氧气、乙炔气等。
2.工具:切割机、电焊机、乙炔焊、套丝机、管钳、活扳手、角尺、钢卷尺、线坠等。
3.埋设的支架达到强度后,可进行干管安装,地沟入口的始端应安装法兰阀。干管安装前应对照施工图对分立管进行定位,依据各段长度进行下料,按翻样图要求的各种部件和管段已加工制作完毕,并适当的组装在一起,此时就可以进行安装就位。
4.采暖管道在地沟敷设时,供水或供汽管应设在水流前进方向的右侧,左侧为回水管道,两管之间应顺直、相互平行,两管之间的间距应根据保温层厚度确定。
5.采暖主立管和干管的分支与变径连接时应避免采用T形连接。当干管与分支管处同一平面水平连接时,分支干管应用羊角弯从上部接出;当分支干管与干管有安装标高差而做垂直连接时,分支干管应用弯头从上部或下部接出,见图8.3.4.5。

图8.3.4.5 干、立管连接示意图
6.管道干管开孔后的钢渣应及时清理不得残留管内,焊接管道分支管,端面与主管表面间隙不得大于2mm,并不得将支管插入主管内。
7.管道的焊缝或弯曲部位不得焊接支管,支管距焊缝的距离应不小于100mm。不同管径的管道焊接,管径相差超过15%,应将大管抽条加工成锥形或使用钢板特制的异径管,管子对口的错口不应大于2mm。
8.制作羊角弯应用两个45°左右的弯头,在连接处锯出坡口,再将主干管锯成鸭嘴形,将3个部件拼对好后焊接(点击领取?隐藏福利)。
9.制作三通应先按每种规格三通做两块样板,用样板靠紧同规格的管子上,画线、切割,得到三通的两个管段,然后将两段焊接即可。
10.采暖管道变径应使用偏心大小头。蒸汽采暖管道供汽管应使管底齐平,蒸汽回水管应使用同心大小头,热水采暖管道变径时应使管顶齐平。
11.制作的大小头,缩口长度应是管径的1~1.5倍,干管焊接支管处距管道变径缩口起点不应小于200mm,见图8.3.4.11。

图8.3.4.11 变径管制作示意图
(a)同心变径;(b)偏心变径;(c)焊接坡口
12.制作的管件与镀锌钢管连接时,应预先进行热镀锌后,再与管道相连接。
13.安装有缝钢管,焊缝应朝向墙面45°,以利于试压时便于检查。
14.采暖管道的方形补偿器,应在两端的管道安装完成后再进行安装。安装前先用千斤顶或其他装置将补偿器胀力伸长(伸长量按热伸长的计算长度),用钢管支撑,两端点焊。补偿器应与管道的坡度相一致,待补偿器与管道连接后再拆除钢管。固定支架的构造及位置按设计要求设置,止动板与管道的焊接应牢靠,见图8.3.4.14。

图8.3.4.14 方形补偿器制作示意图
15.安装波纹管补偿器时,预拉长度应按设计要求,可委托生产厂家在出厂前进行预拉,预拉后采用拉杆固定。待管道安装完毕固定后,再安装补偿器,补偿器应在管道系统水压试验结束后,再拆除拉杆。
16.施工中断的管口,应做临时性封堵,再次施工时必须检查有无杂物后才能继续施工。
8.3.5 隐蔽管道水压试验、保温及验收
1.材料:保温材料、胶、油漆、铁丝、水等。
2.工具:试压泵、压力表、橡胶管、毛刷等。
3.地沟或吊顶内的管道,安装完毕后,应对管道进行水压试验,试验压力应符合设计要求,设计无要求时应符合下列规定:
(1)蒸汽、热水采暖系统,应以系统顶点工作压力加0.1MPa做水压试验,同时在系统顶点的试验压力不小于0.3MPa。
(2)高温热水采暖系统,试验压力应为系统顶点工作压力加0.4MPa。
(3)使用塑料管及复合管的热水采暖系统,应以系统顶点工作压力加0.2MPa做水压试验,同时在系统顶点的试验压力不小于0.4MPa。
4.试压用的压力表必须经过校验,精度不低于1.5级,表的刻度值应为试验压力的1.5倍,试压泵处和系统最高处各设1只。
5.管道系统注水时,应在系统最高处设置排气阀门,待阀门出水时关闭阀门,试压时,当表压达到工作压力时,应对管道进行外观检查,查看是否有渗漏。如有渗漏应做好位置记录,停止下道工序,把管内的水排净进行修复(不得带压维修)。
6.管道修复后应再次注水、试压,试压时,打泵机升压速度应均匀,当表压达到工作压力时,应缓慢升压,表压升至规定压力。检验方法:使用钢管及复合管的采暖系统应在试验压力下10min内压力降不大于0.02MPa,降至工作压力后检查,不渗不漏;使用塑料管的采暖系统应在试验压力下1h内压力降不大于0.05MPa,然后降压至工作压力的1.15倍,稳压2h,压力降不大于0.03MPa同时各连接处不渗不漏。为合格。
7.管道安装结束,经试压自检合格,由专业质检员书面报监理工程师,由监理工程师组织有关人员进行验收。各方应在“管道隐蔽工程验收记录”和“管道水压试验记录”签字认可,方可进行隐蔽。
8.试压验收完毕,管道保温前,应对焊接处或丝扣连接处做防腐处理,主立管的高度不大于5m时,可在中间部位焊接一个托盘,大于5m时,应焊接两个托盘,并应均称焊装。使用聚氨脂瓦块绝热保温时,瓦块厚度应符合设计要求,其规格必须与管道相吻合。瓦块端头和纵缝涂抹发泡剂要均匀,粘合后,每节瓦块两端应使用22号镀锌铁丝或丝带和塑料胶带捆、绑扎牢固,然后将挤压出缝隙多余的部分使用壁纸刀削平。使用缠玻璃丝布做保护层时应将玻璃丝布裁成长条(约150mm宽),卷成小卷,沿保温层缠紧,搭接长度不小于20mm,端头固定要牢靠。涂刷油漆或玻璃钢时应顺玻璃丝布的缠绕方向涂刷(调和玻璃钢剂时,固化剂的比例要适当,并在有效时间内使用)。
使用岩棉锡箔管壳绝热保温时,管壳厚度应符合设计要求,其规格必须与管道相吻合。岩棉锡箔管壳切割纵向缝时,应使用手提切割锯或钢锯条,开缝应顺直(条件允许时可将管壳预先穿套在管道上,留出管道接头即可,待强度试验合格后,修补接头处即可)。岩棉锡箔管壳的纵、环向缝及管壳两端300mm处,应使用锡箔胶带密封和捆扎,封闭应严密、牢固。
9.使用橡塑海绵绝热管套保温时,橡塑海绵绝热管套应使用壁纸刀切割,开缝应顺直,套在管道上后,纵、环向缝应使用801胶粘剂粘结牢固,接缝要平整,并用胶带封口(条件允许时可将管壳预先穿套在管道上,留出管道接头,待强度试验合格后,修补接头处即可)。
10.使用缠玻璃丝布做保护层时应将玻璃丝布裁成长条(约150mm宽),卷成小卷,沿保温层缠紧,搭接长度不小于20mm,端头固定要牢靠。涂刷油漆或玻璃钢时应顺玻璃丝布的缠绕方向涂刷,以保证外观平整、光滑。
11.镀锌板保护层应按保温层周长下料,用压边机压边,用滚圆机滚圆成圆筒,将圆筒套在保温层上,环向的搭接方向应与管道坡度一致,搭接长度为30~40mm为宜;纵向搭接缝应朝下,搭接长度不小于30mm。金属圆筒应与保温层紧靠,不留空隙,用自攻螺钉或拉拔铆钉固定,间距为200~250mm。环向搭接的固定间距不大于150mm。螺钉或拉拔铆钉孔应使用手电钻钻孔(不得冲孔)。镀锌板保护层应由管道的低端敷设,环向搭接缝应朝向低端,弯管处做成虾米腰片,按顺序搭接。
12.法兰、阀门两端绝热层应做成45°坡角,端头要牢固。法兰、阀门要单独绝热保温,且能单独拆、卸。
8.3.6 立管支架和套管埋设
1.材料:水泥、成品支架、钢套管。
2.工具:线坠、尼龙绳、扁钎、手锤、钢卷尺、电锤等。
3.先把一层至顶层的预留洞全部凿通,从顶层楼板洞用线坠一直垂至一层立管中心,然后每层依中心线为轴线,对孔洞进行修正。
4.孔洞修正后,在墙面划线确定支架标高,然后打洞埋设立管支架(依线为中心,以保证立管垂直度)。
5.埋设支架前应把孔洞清理干净、湿润,用M10水泥沙浆堵洞,洞内的灰浆应饱满(可先堵满沙浆后再把支架插入,再堵满抹平)。
6.楼板内的套管应逐个丈量(以免楼板厚度不一致,导致套管出地面高度达不到要求),套管应比立管大两个管径,套管安装应从顶层向下逐层安装,垂直线应在套管中心,以确保立管的垂直度。卫生间和厨房间的套管应在做防水层前安装,安装后应支设模板,灌洞前应将孔洞浇水湿润,用不低于C20混泥土分二次进行浇灌、捣实,浇灌后的孔洞宜低于楼板10~20mm。
8.3.7 分立管安装
1.材料:钢管、管件、麻皮、防锈漆等。
2.工具:套丝机、切割机,管钳、活扳手、手锯、手锤、钢卷尺、线坠、毛刷等。
3.分立管应在土建地面或找平层完成后进行安装,立管下料前应依据暖气片的型号、规格、安装高度、暖气支管的坡度,在墙面上用红蓝铅笔画线,分层进行丈量、下料(点击领取?隐藏福利)。
4.立管套丝后应整根立管连接起来进行调直,调直后应在管道和三通上画线做好标记,分段拆开再进行安装。
5.暖气立管及单立管的跨越管不得使用补芯变径,应使用异径管箍变径。上下楼层的墙厚不一致时,立管应煨制等差弯管或两个45°弯头沿墙安装。
6.立管管径小于DN32时,管外壁距净墙面应为25~35mm,管径大于DN32时不大于50mm。双立管的两管中心距为80mm,供水或供汽管应置于面向的右侧。立管与支管相交,立管应煨弯或用元宝弯绕过支管。
7.管道套丝和安装破坏的镀锌层及外露丝扣应及时刷防锈漆防腐。
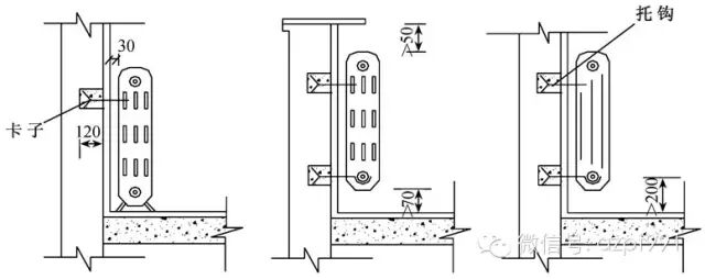
8.3.8 散热器组对试压、就位安装
1.材料:暖气片、对丝、堵头、补芯、耐热橡胶垫、防锈漆、支架、水泥等。
2.工具:打泵机、操作台、电锤、钢卷尺、线坠、尼龙绳、手锤、活扳手、毛刷等。
3.组对散热器的垫片应使用成品,垫片的材质当设计无要求时,应采用耐热橡胶制品,组对后的散热器垫片露出颈部不应大于1mm(见图8.3.8.3)。

图8.3.8.3 长翼、柱型散热器安装示意图
4.现场组装和整组出厂的散热器,安装前应做单组水压试验。试验压力如设计无要求时,应为工作压力的1.5倍,但不小于0.6MPa,试验时间为2~3min,压力不降、不渗、不漏。散热器的水压试验应在监理工程师现场监视下进行,并组织有关人员进行验收,试压合格后各方应在“散热器单体水压试验记录”签字认可。
5.散热器支架安装前应刷防锈漆一道,面漆一道。同室内的支架应拉线在墙面上画出十字中心线,用电锤对准十字线打洞,洞的深度应不小于150mm(如遇到轻质或空心墙体,应在墙体砌筑时配合,将栽支架的部位砌成砖墙体或将空心砌块用混凝土填实或埋设铁件)。
6.埋设支架前应把孔洞清理干净、湿润,用M10水泥砂浆堵洞,洞内的灰浆应饱满(可先堵满砂浆后再把支架插入,再堵满抹平)。支架埋设完毕,应拉线进行校正,以保证支架处在同一水平上。散热器的支架数量应符合设计或产品说明书的要求,如设计无要求时,应符合表8.3.8.6的规定。
表8.3.8.6 散热器支、托架数量
项次 |
散热器形式 |
安装方式 |
每组片数 |
上部支架数量 |
下部支架数量 |
合计 |
1 |
长翼型 |
挂墙 |
2~4 |
1 |
2 |
3 |
5 |
2 |
2 |
4 |
|||
6 |
2 |
3 |
5 |
|||
7 |
2 |
4 |
6 |
|||
2 |
柱型 |
挂墙 |
3~8 |
1 |
2 |
3 |
9~12 |
1 |
3 |
4 |
|||
13~16 |
2 |
4 |
6 |
|||
17~20 |
2 |
5 |
7 |
|||
21~25 |
2 |
6 |
8 |
|||
3 |
柱型 |
带足落地 |
3~8 |
1 |
- |
1 |
8~12 |
1 |
- |
1 |
|||
13~16 |
2 |
- |
2 |
|||
17~20 |
2 |
- |
2 |
|||
21~25 |
2 |
- |
2 |
7.埋设后的支架经48h养护后,可对照施工图每组散热器的数量进行就位安装,片数较多的散热器不得平放搬抬(以免颤动造成接口处渗漏)。同侧连接的支管,补芯应为右丝扣,丝堵应为左丝扣。
8.散热器安装后的背面与墙表面的距离,应符合设计或产品说明书的要求,如无要求时应为30mm,距窗台不小于50mm,距地面高度设计无要求时,挂装应为150~200mm。
9.散热器的手动排气阀安装,热水采暖应安装在散热器上部的堵头上,蒸汽采暖应安装在散热器底部1/3全高处。排气阀的排气孔应向外斜45°安装。
8.3.9 散热器支管安装
1.材料:管材、管件、阀门、支架、水泥等。
2.工具:套丝机、切割机、煨弯器、管钳、活扳手、水平尺、钢卷尺等。
3.散热器就位后,可进行散热器支管安装,支管的长度应按实际测量确定,测量时应考虑煨制等差弯所占的长度。
4.供回水支管的等差弯应保持在同一位置上,活接或长丝根母应靠近散热器安装,坡度为1%。
5.散热器支管长度等于大于1.5m,应在支管中间安装角钢支架。L型立管,支管长度应依立管支架至散热器边缘计算(见图8.3.9.5)。

图8.3.9.5 L型立管示意图
8.3.10 系统水压试验、清洗、调试及验收
1.材料:水、法兰盘等。
2.工具:打泵机、压力表、橡胶管、测温仪等。
3.采暖系统安装完毕,应对系统进行水压试验,试验压力应符合设计要求,设计无要求时应符合8.3.5中的第3条规定。
4.试压程序同8.3.5中的第4、5、6、7条规定。
5.系统水压试验经验收合格后,应对全系统进行管道清洗。清洗时自来水管应连接在供水管道上,回水管道为排出管。管道的清洗压力应不小于0.4MPa,流速不小于1.5m/s。清洗时间以出水口不含泥沙,进、出水口水质颜色一致为合格(排出的水应控制流向,有条件时可考虑二次回用)。系统清洗完毕,应对过滤器和除污器进行清理。
6.系统清洗时应在监理工程师现场监视下进行,清洗合格后各方应在“采暖系统水压试验记录”和“管道系统清洗记录”签字认可。
7.管道系统清洗完毕,应带热源进行系统调试。调试前应将暖气入口供、回水阀门和系统分立管的供水阀门全部关闭。热源接通后,应缓慢开启供水阀再开启回水阀,同时观察压力表和温度计是否符合要求,检查补偿器和固定支架有无变化。
8.分立管的阀门应顺热源方向单根开启,分层有人检查(并配备灵敏可靠的通讯工具)无问题后再开启下一根立管阀门,待全部立管开启无问题后,系统连续运行24h后,应对系统的各个房间进行温度测试,测试时,测温仪的位置应置于房间中心1m高处。
9.调试合格后,由专业质检员书面报监理工程师,由监理工程师组织有关人员进行验收。各方应在“采暖系统调试验收记录”签字认可。
10.调试后的平衡阀和调节阀,应在整个系统调试合格后做出标记。
8.3.11 管道系统防腐涂漆
1.材料:油漆、松香水等。
2.工具:叉梯、毛刷、小镜、回丝、铲刀、钢丝刷等。
3.采暖系统试压、清洗结束,应对采暖管道外表面、散热器、麻丝进行清理,钢管的返锈部位、散热器配件、外露丝扣刷防锈漆。
4.油漆的种类和涂刷道数应符合设计要求。第一道面漆应在防锈漆干燥后进行,刷漆前先将油漆在大桶内调和均匀,倒入小桶使用。涂刷时应先涂刷管道背面,用小镜检查是否有漏刷,然后再涂刷外表面。涂刷时应在地面设保护措施(以免污染地面),靠近阀门处应使用小刷子,以防交叉污染。第二道面漆应在地面清理完毕,门窗已封闭后涂刷。
5.露出地面的钢套管涂刷后,应使用密实阻燃材料填塞,密封胶封口(设在卫生间和厨房的套管应用防水油膏封口)。
8.3.12 低温热水地板辐射采暖安装
1.材料:分集水器、管材、配件、阀门、管架、绝热板、胶带等。
2.工具:断管器、管钳、活扳手、壁纸刀、打泵机等。
3.绝热层应在土建地面找平层施工结束后进行铺设,铺设应平整,搭接缝应严密,当敷有真空镀铝聚脂薄膜或玻璃布基铝箔贴面层时,除将加热管固定在绝热层上的塑料卡钉穿越外,不得有其他破损。
4.加热盘管在安装前应对管材外观进行检查,并做水压试验后再进行铺设。
5.加热盘管的固定方法
(1)用固定卡子将加热管直接固定在敷有复合面层的绝热板上。
(2)用扎带将加热管绑扎在铺设于绝热层表面的钢丝网上。
(3)卡在铺设于绝热层表面的专用管架或管卡上。
6.加热盘管的铺设应按照设计的间距边铺设边固定在专用管架上。固定点的间距:设计无要求时,直线管段不大于700mm,弯曲部分不大于350mm(加热盘管铺设时,可用高压锅烧蒸汽,用橡胶管一端插在锅盖出汽管上,一端插在加热盘管内,对加热盘管进行加热法施工)。
7.加热管穿越伸缩缝处,应设置长度不小于100mm柔型套管保护。
8.加热盘管煨弯应使用与管径相吻合的弯管器,弯管的椭圆率不大于6%,不得有折皱。
9.每个回路的加热盘管应使用整根管铺设,不得有接头。断管应使用专用工具,管口应平整。出地面的管段应设置钢套管加以保护,用阻燃材料填塞并用防水油膏封口。
10.加热盘管在安装过程中,应防止油漆、沥青漆或其他化学溶剂污染管道。
11.集、分水器水平安装
分水器应安装在上面,集水器安装在下面,中心距为200mm,集水器中心距地面不小于300mm。垂直安装:集、分水器下端距地面不小于150mm。集、分水器应固定在角钢支架上用U型卡环紧固。集、分水器与各分路加热盘管的连接应使用专用连接件。
12.加热盘管安装完毕应对每个回路做管道清洗和水压试验,系统清洗完毕,应对集水器上的除污阀打开进行清理。清洗和水压试验经自检合格后,由专业质检员书面报监理工程师,由监理工程师组织有关人员进行验收。各方应在“隐蔽工程验收记录”、“水压试验记录”、“管道清洗记录”签字认可,方可交接给土建进行混凝土填充层施工隐蔽。
13.浇捣混凝土填充层之前和混凝土填充层养护期满之后,应分别进行系统水压试验。水压试验应符合下列要求:
(1)水压试验前,应对试压管道和部件采取安全有效的固定和保护措施。
(2)试验压力应为工作压力的1.5倍,但不得低于0.6MPa。
(3)压力升至规定试验压力后,稳压1h,无渗漏现象。补压至规定试验压力,15min内,压力降不大于0.05MPa,无渗漏为合格(试压程序同8.3.5中的第4、5、6、7条规定。系统清洗同8.3.10中的第5条规定)。
8.3.13 混凝土填充层的浇捣和养护
1.材料:水泥、卵石、泡沫塑料、水、草袋等。
2.工具:抹子、水管。
3.辐射供暖地板面积超过30或长边超过6m时,填充层应设置间距≤ 6m,宽度≥ 5mm的伸缩缝,缝中填充弹性膨胀材料。
4.与墙、柱的交接处,应填充厚度≥ 10mm的软质闭孔泡沫塑料。
5.在试压合格后,进行卵石混凝土填充层的浇注标号应小于C15,卵石粒径宜不大于12mm,并宜掺入适量防止龟裂的添加剂,填充层的养护周期,应不小于48h。
6.土建在浇注卵石混泥土填充层和养护过程中,盘管系统应保持不小于0.4MPa的压力,并有专人看护。
7.在填充层养护期满后,方可进行面层的施工,面层及其找平层施工时,不得剔凿填充层或向填充层楔入任何物件。
8.3.14 系统调试
1.工具:温度计、测温仪、活扳手等。
2.系统调试时,升温应缓慢,先将水温控制在25~30℃范围内运行24h,以后每隔24h升温不超过5℃。在达到设计水温条件下,连续运行24h,每一回路的水温都应达到正常范围。
3.水温达到正常范围后,应对系统的各个房间进行温度测试,测温仪的位置应置于房间中心1m高处。
4.调试合格后,由专业质检员书面报监理工程师,由监理工程师组织有关人员进行验收。各方应在“采暖系统调试验收记录上”签字认可。
5.在冬季到来之前供不上暖的工程或分户,必须用压缩空气把盘管系统内的水吹扫干净,以防冻坏设备和管路。
0人已收藏
0人已打赏
免费0人已点赞
分享
采暖供热
返回版块20.38 万条内容 · 611 人订阅
回帖成功
经验值 +10
全部回复(0 )
只看楼主 我来说两句抢沙发