一、变压器
1.变压器安装
油浸式变压器安装包括:
1)变压器高压侧进线方式:架空进线或电缆进线。
2)变压器低压侧出线方式:母线引出。
3)电源进线的断开点分为:不设断开点、设隔离(负荷)开关、设跌落式熔断器三种类型。
4)变压器室通风方式:自然通风,排风温度按45℃计算,进排风温差不超过15℃。
5)变压器室的布置尺寸能满足在运行中不停电进入室内维护和安全操作的要求,当不满足安全净距的要求时,应采取适当的安全措施。
6)当变压器容量≥800kV·A时,可按需要在顶板(梁)及后墙上安装吊心检查的吊钩及搬运的拉钩。
干式变压器安装包括:
1)变压器高压侧进线方式:高压电缆上(下)进线。
2)变压器低压侧出线方式:30~1250kV·A电缆出线,250~2500kV·A母线出线。
3)电源进线的断开点分为:不设断开点、设隔离(负荷)开关、设断路器三种类型。
4)变压器布置型式:高压配电装置与变压器同站布置、高压配电装置与变压器不同站布置。
5)变压器温控器电源从低压配电系统接取。
2.通道与围栏
室内、外配电装置的最小电气安全净距应符合表1-1的规定。
露天或半露天变电所的变压器四周应设高度不低于1.5m的固定围栏或围墙,变压器外廓与围栏或围墙的净距不应小于0.5m,变压器底部距地面不应小于0.3m。油重小于1000kg的相邻油浸变压器外廓之间的净距不应小于1.5m;油重1000~2500kg的相邻油浸变压器外廓之间的净距不应小于3.0m;油重大于2500kg的相邻油浸变压器外廓之间的净距不应小于5m;当不能满足上述要求时,应设置防火墙。
当露天或半露天变压器供给一级负荷用电时,相邻油浸变压器的净距不应小于5m;当小于5m时,应设置防火墙。
油浸变压器外廓与变压器室墙壁和门的最小净距,应符合表1-2的规定。
表1-1 室内、外配电装置的最小电气安全净距 (单位:mm)
监控项目 |
场所 |
额定电压/kV |
符号 |
|||||
≤1 |
3 |
6 |
10 |
15 |
20 |
|||
无遮拦裸带电部分至地(楼)面之间 |
室内 |
2500 |
2500 |
2500 |
2500 |
2500 |
2500 |
一 |
室外 |
2500 |
2700 |
2700 |
2700 |
2800 |
2800 |
||
裸带电部分至接地部分和不 同的裸带电部分之间 |
室内 |
20 |
75 |
100 |
125 |
150 |
180 |
A |
室外 |
75 |
200 |
200 |
200 |
300 |
300 |
||
距地面2500mm以下的遮拦防护等级为IP2X 时,裸带电部分与遮护物间水平净距 |
室内 |
100 |
175 |
200 |
225 |
250 |
280 |
B |
室外 |
175 |
300 |
300 |
300 |
400 |
400 |
||
不同时停电检修室内的无遮 拦裸导体之间的水平距离 |
室内 |
1875 |
1875 |
1900 |
1925 |
1950 |
1980 |
- |
室外 |
2000 |
2200 |
2200 |
2200 |
2300 |
2300 |
||
裸带电部分至无孔固定遮拦 |
室内 |
50 |
105 |
130 |
155 |
- |
||
裸带电部分至用钥匙或工 具才能打开或拆卸的栅栏 |
室内 |
800 |
825 |
850 |
875 |
900 |
930 |
C |
室外 |
825 |
950 |
950 |
950 |
1050 |
1050 |
||
高低压引出线的套管至室外、户外通道地面 |
室外 |
3650 |
4000 |
4000 |
4000 |
4000 |
4000 |
一 |
变压器容量/kV·A |
100-1000 |
1250以上 |
变压器外廓与后壁、侧壁 |
600 |
800 |
变压器外廓与门 |
800 |
1000 |
干式变压器基础预埋如图1-1所示。
4.变压器稳装
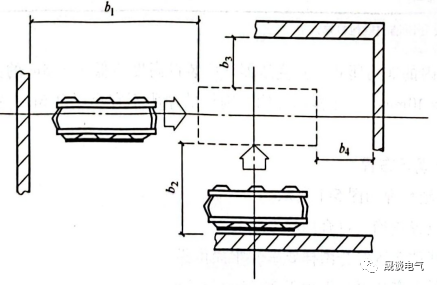
变压器就位时,应注意其方位和距墙尺寸应与图样相符,允许误差为±25mm,图样无标注时,纵向按轨道定位,横向距离不得小于800mm,距门不得小于1000mm。干式变压器安装图样无注明时,安装、维修最小环境距离应符合图1-2要求。

图1-1干式变压器基础预埋

图1-2安装最小环境距离
变压器基础的轨道应水平,轨距与轮距应配合,装有气体继电器的变压器,应使其顶盖沿气体继电器气流方向有1%~1.5%的升高坡度(制造厂规定不需安装坡度者除外)。
变压器宽面推进时,低压侧应向外;窄面推进时,储油柜侧一般应向外。
油浸变压器的安装,应考虑能在带电的情况下,便于检查储油柜中的油位、上层油温、气体继电器等。
变压器的安装应采取抗震措施。
5.变压器连线
变压器的一、二次连线,地线、控制管线均应符合相应各工艺标准的规定。
变压器一、二次引线的施工不应使变压器的套管直接承受应力。
变压器中性导体与中性点接地导体应分别敷设。中性导体与接地极的连接宜采用焊接,接地线与电气设备的连接可用螺栓和焊接,用螺栓时应设防松螺母或防松垫片,PE线可用电缆,一般与相线相等,但要不小于相线的一半,变压器中性点接地线大小要考虑最大不平衡电流的影响,中性点铜25m㎡,钢50m㎡。变压器的接地如图1-3所示。

图1-3变压器的接地
变压器中性点的接地回路中,靠近变压器处,宜做一个可拆卸的连接点。
油浸变压器附件的控制导线,采用具有耐油性能的绝缘导线。靠近箱壁的导线,应用金属软管保护,并排列整齐,接线盒应密封良好。
6.变压器的交接试验
变压器的交接试验应由当地供电部门许可的实验室进行。试验标准应符合GB 50150-2016《电气装置安装工程 电气设备交接试验标准》、当地供电部门规定及产品技术资料的要求。
变压器交接试验的内容包括:
1)测量绕组连同套管的直流电阻。
2)检查所有分接头的电压比。
3)检查变压器的三相接线组别和单相变压器引出线的极性。
4)测量绕组连同套管的绝缘电阻、吸收比或极化指数。
5)绕组连同套管的交流耐压试验。
6)测量与铁心绝缘的各紧固件及铁心接地线引出套管对外壳的绝缘电阻。
7)绝缘油试验。
8)有载调压切换装置的检查和试验。
9)额定电压下的冲击合闸试验。
10)检查相位。
11)测量噪声。
7.变压器送电前的准备
变压器试运行前应做全面检查,确认符合试运行条件时方可投入运行。
变压器试运行前,必须由质量监督部门检查合格。
变压器试运行前的检查内容包括:
1)各种交接试验单据齐全。
2)变压器应清理、擦拭干净,顶盖上无遗留杂物,本体及附件无缺损,且不渗油。
3)变压器一、二次引线相位正确,绝缘良好。
4)接地线良好。
5)通风设施安装完毕,工作正常;事故排油设施完好;消防设施齐备。
6)油浸变压器油系统门应打开,油门指示正确,油位正常。
7)油浸变压器的电压切换装置及干式变压器的分接头位置放置于正常电压档位。
8)保护装置整定值符合设计要求;操作及联动试验正常。
9)干式变压器护栏安装完毕。各种标志牌挂好,门装锁。
8.变压器送电试运行
变压器第一次投人时,可全压冲击合闸,冲击合闸时一般可由高压侧投人。
变压器第一次受电后,持续时间不应少于10min,无异常情况。
变压器应进行3~5次全压冲击合闸,并无异常情况,励磁涌流不应引起保护装置误动作。
油浸变压器带电后,检查油系统不应有渗油现象。
变压器试运行要注意冲击电流,空载电流,一、二次电压,温度,并做好详细记录。
变压器并列运行前,应检查相位、阻抗值及联结组标号。
变压器空载运行,24h后无异常情况,方可投人负荷运行。
0人已收藏
0人已打赏
免费0人已点赞
分享
变压器
返回版块14.14 万条内容 · 431 人订阅
回帖成功
经验值 +10
全部回复(0 )
只看楼主 我来说两句抢沙发