一、河岸溢洪道的类型

正槽式溢洪道
1—进水渠;2—溢流堰
3—泄槽;4—消力池
5—出水渠
6—非常溢洪道;7—土石坝
正槽式溢洪道
如图所示,这种溢洪道的泄槽轴线与溢流堰轴线正交,过堰水流方向与泄槽轴线方向一致,其水流平顺,超泄能力大,并且结构简单,运用安全可靠,是采用最多的河岸溢洪道型式之一。
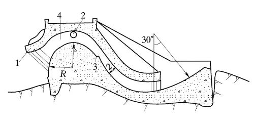
侧槽式溢洪道
如图所示,这种溢洪道的泄槽轴线与溢流堰的轴线接近平行,即水流过堰后,在侧槽内转弯约90°,再经泄水槽泄入下游。侧槽溢洪道多设置于较陡的岸坡上,大体沿等高线设置溢流堰和泄水槽,易于加大堰顶长度,减少溢流水深和单宽流量,不需大量开挖山坡,但侧槽内水流紊乱、撞击很剧烈。因此,对两岸山体的稳定性及地基的要求很高。
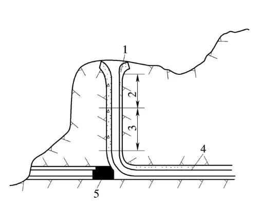
井式溢洪道
其组成主要有溢流喇叭口段、渐变段、竖井段、弯道段和水平泄洪洞段,如图所示。其适用于岸坡陡峭、地质条件良好,又有适宜的地形的情况。可以避免大量的土石方开挖,造价可能较其他溢洪道低,但当水位上升,喇叭口溢流堰顶淹没,堰流转变为孔流,超泄能力较小。当宣泄小流量,井内的水流连续性遭到破坏时,水流不稳定,易产生振动和空蚀。因此,我国目前较少采用。
虹吸式溢洪道
该型式溢洪道通常包括进口(遮檐)、虹吸管、具有自动加速发生虹吸作用和停止虹吸作用的辅助设备、泄槽及下游消能设备,如图6-4所示。溢流堰顶与正常高水位在同一高程,水库正常高水位以上设通气孔,当水位超过正常高水位时,水流将流过堰顶,虹吸管内的空气逐渐被空气带走达到真空,形成虹吸作用自行泄水。当水库水位下降至通气孔以下时,虹吸作用便自动停止。这种溢洪道可自动泄水和停止泄水,能比较灵敏地自动调节上游水位,在较小的堰顶水头下能得到较大的泄流量,但结构复杂,施工检修不便,进口易堵塞,管内易空蚀,超泄能力小。一般用于水位变化不大和需随时进行调节的中、小型水库,以及发电和灌溉的渠道上。

侧槽式溢洪道
1—溢流堰;2—侧槽
3—泄水槽;4—出口消能段
5—上坝公路;6—土石坝

井式溢洪道
1—喇叭口;2—渐变段;3—竖井段;4—隧洞;5—混凝土塞

虹吸式溢洪道
1—遮檐;2—通气孔;3—挑流坎;4—曲管
二、河岸溢洪道的位置选择
0人已收藏
0人已打赏
免费6人已点赞
分享
水利工程资料库
返回版块1.37 万条内容 · 233 人订阅
阅读下一篇
世界水域面积最大的十座水库今天我们来盘点全球最大的十个水库,你知道几个呢? 10、古里水库(委内瑞拉)水库面积4250平方公里 古里水库是委内瑞拉卡罗尼河上的水库。1963年起在卡罗尼河中游内奎马峡谷修建古里大坝和水电站。坝高162米,水库面积4250平方公里,库容1400亿立方米,装机容量1030万千瓦。1986年11月工程全部竣工,成为迄今世界建成的装机容量最大的水电站之一。 9、卡尼亚皮斯科水库(加拿大)面积约为4318平方公里
回帖成功
经验值 +10
全部回复(1 )
只看楼主 我来说两句 抢板凳河岸溢洪道可以分为正常溢洪道和非常溢洪道两大类,正常溢洪道常用的型式主要有正槽式、侧槽式、井式和虹吸式四种
回复 举报