01
虹吸式屋面排水系统简介
02
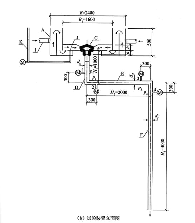
排水原理
03
系统组成
04
形成过程
05
优缺点
06
相关的规范及规程等
07
实用案例及方案、图纸等
机场屋面虹吸排水方案

会展虹吸雨水
0人已收藏
0人已打赏
免费2人已点赞
分享
建筑给排水
返回版块47.29 万条内容 · 1370 人订阅
阅读下一篇
地下室改造安装马桶提升泵安装方式有哪些?地下室改造,卫生间是一定需要改造的,因此卫生间排水问题如何解决就成关键,毕竟地下室本身没有下水管道,导致污水无法正常排走,所以通常我们可以安装一个马桶提升泵,那么安装马桶提升泵的方式有哪些呢? 第一种 落地后排式安装 这个应该是最常见的马桶提升泵的安装方式。这种安装方式需要配套使用落地式的后排马桶,将设备上的接入口与马桶排污口直接连接就可以了。 第二种 侧排式安装 这是将提升泵隐藏在台盆柜内安装。这种安装方式需要搭配使用隐藏式水箱和挂壁式马桶。安装好以后的卫生间,整体美观简洁,并且设备在台盆柜内运行,声音会比较小。
回帖成功
经验值 +10
全部回复(1 )
只看楼主 我来说两句 抢板凳好资料,学习啦,谢谢楼主分享
回复 举报