土木在线论坛 \ 建筑结构 \ 钢结构工程 \ 钢结构常见的几种梁柱刚性连接形式

钢结构常见的几种梁柱刚性连接形式

发布于:2023-08-04 16:07:04 来自:建筑结构/钢结构工程 [复制转发]
(1)梁与柱刚性连接的构造形式有三种,如图所示:

图片


(2)梁与柱的连接节点计算时,主要验算以下内容: 
①梁与柱连接的承载力 ②柱腹板的局部抗压承载力和柱翼缘板的刚度 ③梁柱节点域的抗剪承载力


(3)梁与柱刚性连接的构造 ①框架梁与工字形截面柱和箱形截面柱刚性连接的构造:
图片
框架梁与柱刚性连接
②工字形截面柱和箱形截面柱通过带悬臂梁段与框架梁连接时,构造措施有两种:
图片
柱带悬臂梁段与框架梁连接
梁与柱刚性连接时,按抗震设防的结构,柱在梁翼缘上下各500mm的节点范围内,柱翼缘与柱腹板间或箱形柱壁板间的组合焊缝,应采用全熔透坡口焊缝。


(4)改进梁与柱刚性连接抗震性能的构造措施 ①骨形连接 
骨形连接是通过削弱梁来保护梁柱节点。
图片
骨形连接
图片
梁端翼缘加焊楔形盖板
在不降低梁的强度和刚度的前提下,通过梁端翼缘加焊楔形盖板。


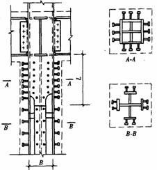
(5)工字形截面柱在弱轴与主梁刚性连接 
当工字形截面柱在弱轴方向与主梁刚性连接时,应在主梁翼缘对应位置设置柱水平加劲肋,在梁高范围内设置柱的竖向连接板,其厚度应分别与梁翼缘和腹板厚度相同。柱水平加劲肋与柱翼缘和腹板均为全熔透坡口焊缝,竖向连接板与柱腹板连接为角焊缝。主梁与柱的现场连接如图所示。
图片

2
梁与柱的铰接连接

(1)梁与柱的铰接连接分为:仅梁腹板连接仅梁翼缘连接
图片
仅梁腹板连接        仅梁翼缘连接
图片
柱上伸出加劲板与梁腹板相连        梁与柱用双盖板相连


(2)柱在弱轴与梁铰接连接分为:柱上伸出加劲板与梁腹板相连、梁与柱用双盖板相连
柱的拼接节点一般都是刚接节点,柱拼接接头应位于框架节点塑性区以外,一般宜在框架梁上方1.3m左右。考虑运输方便及吊装条件等因素,柱的安装单元一般采用三层一根,长度10~12m左右。根据设计和施工的具体条件,柱的拼接可采取焊接或高强度螺栓连接。
按非抗震设计的轴心受压柱或压弯柱,当柱的弯矩较小且不产生拉力的情况下,柱的上下端应铣平顶紧,并与柱轴线垂直。柱的25%的轴力和弯矩可通过铣平端传递,此时柱的拼接节点可按75%的轴力和弯矩及全部剪力设计。抗震设计时,柱的拼接节点按与柱截面等强度原则设计。
非抗震设计时的焊缝连接,可采用部分熔透焊缝,坡口焊缝的有效深度不宜小于板厚度的1/2。有抗震设防要求的焊缝连接,应采用全熔透坡口焊缝。
图片
柱拼接接头的部分熔透焊缝

3
各种截面柱的拼接连接

工字形截面柱的拼接接头,翼缘一般为全熔透坡口焊接,腹板可为高强度螺栓连接,当柱腹板采用焊接时,上柱腹板开K形坡口,要求焊透。箱形截面柱的拼接接头应全部采用焊接,为便于全截面熔透。
图片
栓焊                                  全焊
图片
箱形柱的焊接接头
高层钢结构中的箱形柱与下部型钢混凝土中的十字形柱相连时,应考虑截面形式变化处力的传递平顺。箱形柱的一部分力应通过栓钉传递给混凝土,另一部分力传递给下面的十字形柱,如下图所示。两种截面的连接处,十字形柱的腹板应伸入箱形柱内,形成两种截面的过渡段。伸入长度应不小于柱宽加200mm,即L≥B+200mm,过渡段截面呈田字形。过渡段在主梁下并靠紧主梁。
两种截面的接头处上下均应设置焊接栓钉,栓钉的间距和列距在过渡段内宜采用150mm,不大于200mm,沿十字形柱全高不大于300mm。
型钢混凝土中十字形柱的拼接接头,因十字形截面中的腹板采用高强度螺栓连接施工比较困难,翼缘和腹板均宜采用焊接。
图片
箱形柱与十字形柱的连接

4
变截面柱的拼接

柱需要变截面时,一般采用柱截面高度不变,仅改变翼缘厚度的方法。若需要改变柱截面高度时,柱的变截面段应由工厂完成,并尽量避开梁柱连接节点。对边柱可采用有偏心的做法,不影响挂外墙板,但应考虑上下柱偏心产生的附加弯矩,对中柱可采用无偏心的做法。柱的变截面处均应设置水平加劲肋或横隔板。
图片
有偏心拼接          无偏心拼接
梁与梁的连接有两种情况,一是主梁与主梁的连接;二是次梁与主梁的连接。


1.各种截面柱的拼接连接 
主梁的工地拼接主要用于梁与柱全焊接节点的柱外悬臂梁段与中间梁段的连接,其次为框筒结构密排柱间梁的连接,其拼接形式有:栓焊连接、全栓接、全焊接。
图片


2.次梁与主梁的连接 
次梁与主梁的连接通常设计为铰接,主梁作为次梁的支座,次梁可视作简支梁。其拼接形式如下图所示,次梁腹板与主梁的竖向加劲板用高强度螺栓连接(图a、b),当次梁内力和截面较小时,也可直接与主梁腹板连接(图c)。
图片
当次梁跨数较多,跨度、荷载较大时,次梁与主梁的连接宜设计为刚接,此时次梁可视作连续梁,这样可以减少次梁的挠度,节约钢材。次梁与主梁的刚接形式如下图所示。
图片
次梁与主梁的刚性连接


3.主梁的侧向隅撑 
  侧向隅撑可按轴心受压构件计算,其轴心压力按下式计算:
    图片
  侧向隅撑的长细比应满足下式要求:
   图片


4.梁腹板开孔的补强 
当因管道穿过需要在梁腹板上开孔时,应根据孔的位置和大小确定是否对梁进行补强。当圆孔直径小于或等于1/3梁高,且孔洞间距大于3倍孔径,并避免在梁端1/8跨度范围内开孔时,可不予补强。
当因开孔需要补强时,弯矩由梁翼缘承担,剪力由孔口截面的腹板和孔洞周围的补强板共同承担。圆形孔的补强可采用套管、环形补强板或在梁腹板上加焊V形加劲肋等措施予以补强,如图下所示。
图片
梁腹板上开矩形孔时,对腹板的抗剪影响较大,应在洞口周边设置加劲板,其纵向加劲板伸过洞口的长度不小于矩形孔的高度,加劲肋的宽度为梁翼缘宽度的1/2,厚度与腹板相同,如下图所示。
图片


作者:遂安居士,编辑:张维官,审核:王颖。

全部回复(0 )

只看楼主 我来说两句抢沙发
这个家伙什么也没有留下。。。

钢结构工程

返回版块

46.53 万条内容 · 1213 人订阅

猜你喜欢

阅读下一篇

钢结构计算公式

为保证承重结构的承载能力和防止在一定条件下出现脆性破坏,应根据结构的重要性、荷载特征、结构形式、应力状态、连接方法、钢材厚度和工作环境等因素综合考虑,选用合适的钢材牌号和材性。 承重结构的钢材宜采用Q235钢、Q345钢、Q390钢和Q420钢,其质量应分别符合现行国家标准《碳素结构钢》GB/T 700和《低合金高强度结构钢》GB/T 1591的规定。当采用其他牌号的钢材时,尚应符合相应有关标准的规定和要求。对Q235钢宜选用镇静钢或半镇静钢。

回帖成功

经验值 +10