知识点:定位器
阀门定位器(valvepositioner),是控制阀的主要附件,它将阀杆位移信号作为输入的反馈测量信号,以控制器输出信号作为设定信号,进行比较,当两者有偏差时,改变其到执行机构的输出信号,使执行机构动作,建立了阀杆位移倍与控制器输出信号之间的一一对应关系。阀门定位器能够增大调节阀的输出功率,减少调节信号的传递滞后的情况发生,加快阀杆的移动速度,能够提高阀门的线性度,克服阀杆的摩擦力并消除不平衡力的影响,从而保证调节阀的正确定位。
01
阀门定位器的分类
1、阀门定位器按输入信号分为气动阀门定位器、电气阀门定位器和智能阀门定位器。
(1)气动阀门定位器的输入信号是标准气信号,例如,20~100kPa气信号,其输出信号也是标准的气信号。
(2)电气阀门定位器的输入信号是标准电流或电压信号,例如,4~20mA电流信号或1~5V电压信号等,在电气阀门定位器内部将电信号转换为电磁力,然后输出气信号到拨动控制阀。
(3)智能电气阀门定位器它将控制室输出的电流信号转换成驱动调节阀的气信号,根据调节阀工作时阀杆摩擦力,抵消介质压力波动而产生的不平衡力,使阀门开度对应于控制室输出的电流信号。并且可以进行智能组态设置相应的参数,达到改善控制阀性能的目的。
2、按动作的方向可分为单向阀门定位器和双向阀门定位器。单向阀门定位器用于活塞式执行机构时,阀门定位器只有一个方向起作用,双向阀门定位器作用在活塞式执行机构气缸的两侧,在两个方向起作用。
3、按阀门定位器输出和输入信号的增益符号分为正作用阀门定位器和反作用阀门定位器。正作用阀门定位器的输入信号增加时,输出信号也增加,因此,增益为正。反作用阀门定位器的输入信号增加时,输出信号减小,因此,增益为负。
4、按阀门定位器输入信号是模拟信号或数字信号,可分为普通阀门定位器和现场总线电气阀门定位器。普通阀门定位器的输入信号是模拟气压或电流、电压信号,现场总线电气阀门定位器的输入信号是现场总线的数字信号。
5、按阀门定位器是否带CPU可分为普通电气阀门定位器和智能电气阀门定位器。普通电气阀门定位器没有CPU,因此,不具有智能,不能处理有关的智能运算。智能电气阀门定位器带CPU,可处理有关智能运算,例如,可进行前向通道的非线性补偿等,现场总线电气阀门定位器还可带PID等功能模块,实现相应的运算。
6、按反馈信号的检测方法也可进行分类。例如,用机械连杆方式检测阀位信号的阀门定位器:用霍尔效应检测位移的方法检测阀杆位移的阀门定位器:用电磁感应方法检测阀杆位移的阀门定位器等。
02
定位器的作用原理
阀门定位器是控制阀的主要附件.它将阀杆位移信号作为输入的反馈测量信号,以控制器输出信号作为设定信号,进行比较,当两者有偏差时,改变其到执行机构的输出信号,使执行机构动作,建立了阀杆位移量与控制器输出信号之间的一一对应关系。因此,阀门定位器组成以阀杆位移为测量信号,以控制器输出为设定信号的反馈控制系统。该控制系统的操纵变量是阀门定位器去执行机构的输出信号。
(1)用于对调节质量要求高的重要调节系统,以提高调节阀的定位精确及可靠性。
(2)用于阀门两端压差大(△p>1MPa)的场合。通过提高气源压力增大执行机构的输出力,以克服液体对阀芯产生的不平衡力,减小行程误差。
(3)当被调介质为高温、高压、低温、有毒、易燃、易爆时,为了防止对外泄漏,往往将填料压得很紧,因此阀杆与填料间的摩擦力较大,此时用定位器可克服时滞。
(4)被调介质为粘性流体或含有固体悬浮物时,用定位器可以克服介质对阀杆移动的阻力。
(5)用于大口径(Dg>100mm)的调节阀,以增大执行机构的输出推力。
(6)当调节器与执行器距离在60m以上时,用定位器可克服控制信号的传递滞后,改善阀门的动作反应速度。
(7)用来改善调节阀的流量特性。
(8)一个调节器控制两个执行器实行分程控制时,可用两个定位器,分别接受低输入信号和高输入信号,则一个执行器低程动作,另一个高程动作,即构成了分程调节。
03
常见定位器调试方法集锦
一、ABB定位器

调试步骤:
1、定位器面板设置:

2、内部接线(4根)反馈和指令线。
3、调试前的重要参数切换方式:
?(1)切换就地、远方。按住MODE键不要松开,再点击↑ ↓键可以进行切换。
?(2)用(1)?的方式进入1.1(远方控制)1.2(就地控制)
?(3)若要实现快开,则先按住↑键再按键 ↓键;实现快关,则先按住 ↓键再按住↑键,方可完成操作。
?(4)用?(1)的方式进入1.3,出现单词SENS-POS,其意思是显示调节定位器后连杆与后旋钮弧度保持在对称的范围内。
4、调试步骤
(1)?P1.0:将↑↓键同时按,然后点击”ENTER”键,出现单词“LINEAR”调节角行程和直行程。
(2)P1.1:按住MODE键,点击↑ ↓键,进入P1.1菜单。常按ENTER键3S,然后面板显示倒数计时为0后松开,就出现自整定,直到出现完成“COMPIETE”单词。
(3)P1.4:退出(EXIT)会显示“保存”和“不保存”,按住“ENTER”3S,则保存调试,若不保存,直接按↑键,退出到“放弃”单词,然后再按住“ENTER”3S,退出。
(4)P2.3出现REVERSE单词,显示的是调节阀门和定位器的正反作用。
(5)P3.2出现CW/CCW单词,调节的是DCS和就地定位器指令的正反作用。
(6)P3.3出现EXIT单词,意思为退出。
(7)P8.2出现DIGEET单词,则调节的是DCS和就地定位器反馈的正反作用。
以上参数为重要参数调试步骤,详情请查看说明书!
二、费希尔(FISHER)阀门定位器

DVC6000调试步骤:
打开275/375手操器 从主菜单(Main Menu) 选择Hart应用(HART Application)从On line找到该定位器。依次进入Setup&Diag ——Detailed Setup——Mode——Instument Mode (或者按手操器上快捷键直接进入)——警告!in service 模式被送到仪表当中时阀门也许会动(WARNING!Valve may move when in Service mode is sent to the instrument.) 按OK 后进入仪表模式(Instrument Mode)选择Out of service 后 按ENTER——提示“Instrument mode is already out of service!” 后回到主界面依次进入 Setup&Diag——Basic Setup——Auto setup——Setup Wizard:
1、选择你所使用的压力单位(Pressure units (psi))后ENTER ;
2、输入最大供气压力(Max Supply Press (psi))后ENTER;
3、选择执行机构的生产厂家(Actuator Manufcture)后ENTER 以上品牌没的话选OTHER ;
4、 如果执行机构单作用带弹簧选3 、双作用带弹簧选4 、双作用不带弹簧选2;
5.、选ROTARY 下一步根据阀门零信号时是开选2 关的话选1 下一步再选1 下一步选YES自动选择阀门转向及其增益大小;
6、选择是否有加速器或者快速释放阀(Is a Volume Booster or Quick Release Present ? );
7、提示 执行机构的信息正被发送到仪表当中,请稍等“Actuator information is being sent to the instrument. Please wait…” ;
8、选择使用出厂默认设置Use Factory defaults for setup?(Yes is recommended for Initial Setup) Yes 后ENTER ;
9、 提示 出厂默认设置正被发送到仪表当中,请稍等“Factory default are being sent to the instrument. Please wait… ” ;
10、继续自动设置 选择放大器调整“To continue Auto Setup.select Relay Adjust ”;
11、你是否希望现在进行放大器调整?(Do you wish to run Relay Adjustment Calibration now ?) 假如是双作用选择Yes 单作用选择No后ENTER ;
12、选择行程标定 (To continue.select Auto Calib Travel.)按OK;
13、 你希望现在进行自动行程标定吗?(Do you wish to run Auto Travel Calib now ?Select YES if initial setup)选择Yes 后按 ENTER;
14、 警告!标定将导致仪表的输出突然变化 按 OK;
15、选择交点的调整(Select Crossover Adjust)Manual/Last Value/Default 正常情况下选择 default 后 ENTER 假如默认的调整后精度比较差 才会选择Manual手动;
16、 下面进入自动行程标定的过程,完成后仪表模式恢复到In service!
三、梅索尼兰SVI-II定位器

调试步骤:
1、检查接线及阀门安装情况是否完整;
2、切换到人工模式(Manual);
3、检查并调整好所有的结构参数(CONFIGuration);
4、运行全开、全关点(STOPS)自动搜索。
5、运行自动调整功能(autoTUNE),得到新的动态响应参数;
6、检查是否有错误提示;
7、手动操作看看是否可以正常运行;
退出人工状态,回到自动控制状态。
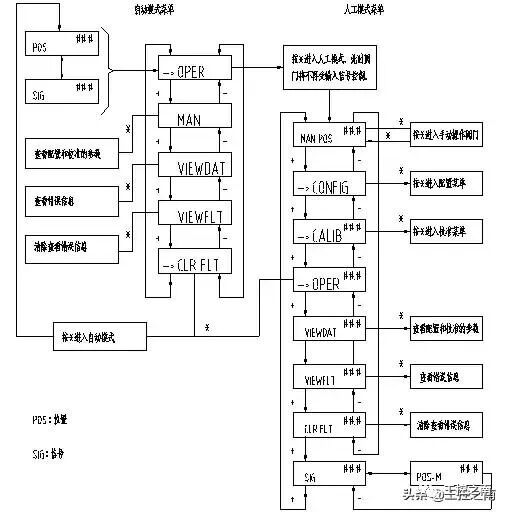
菜单流程:
接通信号源后,将输入信号调节到12mA。系统会进行自检,然后进入交替显示阀位和输入信号的值。此时系统有可能处于人工或自动的状态,取决于上次运行断电前的状态。如果屏幕显示阀位时使用(POS-M)说明处于人工状态;如果显示阀位时使用(POS)说明处于自动状态。然后按照流程图操作即可完成设定。



四、韩国永泰YTC定位器

调试步骤:
1、条件:①稳定的气源 压力≥0.3MPa(角行程定位器压力≥0.5MPa)
②4-20mA信号输入设备
2、调试:

①打开定位器前盖,打开电源接线盒。
②把稳定气源接入过滤减压阀并密封严紧。
③区分正负输入端接好信号输入设备。
④打开气源开关,向下调节调“0”旋钮,直至排气压力表指针不为0,然后反方向缓慢旋转调“0”旋钮,使压力表指针刚好处于0位置。
⑤输入25%(8mA)、50%(12mA)、75%(16mA)、100%(20mA)信号,观察指针下降(上升)行程:
A.、若单次行程超过刻度盘的1/4,说明定位器量程过大,此时应调节量程调节旋钮(先松开螺丝,然后调节下方的旋钮,向“—”方向调节。根据实际情况确定调节的程度,单次微调,边试边调)。
B、若单次行程过小或不足刻度盘的1/4,说明定位器量程过小,操作与A相同,方向相反。
⑥每次调节量程调节旋钮后,重新进行试验,若实际行程与理论行程差距仍然很大,则再调节量程调节旋钮;若实际行程与理论行程差距较小,则调节调“0”旋钮,使 指针移动到对应的刻度上,再输入信号观察指针移动是否正确。
注:通过量程调节旋钮和调“0”旋钮的配合来调节量程和行程,已达到调试的目的。
注意事项:
(1)当输入信号为20mA是,定位器排气压力必须>3公斤(球阀5公斤),一般为3.2-4公斤。若压力不足则调节阀开启/关闭不严,无法正常工作。
(2)气开阀:当输入信号为0时,排气压力必须为0,否则阀门没有完全关闭。
相关推荐:
0人已收藏
0人已打赏
免费9人已点赞
分享
电气工程原创版块
返回版块2.2 万条内容 · 598 人订阅
阅读下一篇
乙炔气瓶减压阀的原理及使用注意事项知识点:回火防止器 作用 乙炔减压器一般是瓶装气体的减压装置。减压器是将高压气体降为低压气体、并保持输出气体的压力和流量稳定不变的调节装置。 由于气瓶内压力较高,而气焊和气割和使用点所需的压力却较小,所以需要用减压器来把储存在气瓶内的较高压力的气体降为低压气体,并应保证所需的工作压力自始至终保持稳定状态。 构造和工作原理 1.乙炔减压器的本体是由黄铜制成。由活门顶杆、调压弹簧、弹性薄膜装置、减压门等零部件组成。第一级减压系统主要用于将高压气体自动降为中压气体,降至压力为2MPa,然后送入第二级减压系统。在二级减压系统,当旋拧调压螺钉时,通过调压弹簧、弹性薄膜装及活门顶杆,使减压活门作不同程度的开启和关闭,以用来调节第一减压系统送入的氧气的减压程度或停止供气。
回帖成功
经验值 +10
全部回复(1 )
只看楼主 我来说两句 抢板凳学习了常见阀门定位器调试步骤,多谢了。
回复 举报