管道支架的制安在管道安装中扮演着主要的角色,它直接关系到管道的承重流向及观感。目前各实施项目中制安的各种管道支架,各有特点,但也暴露出不少缺点,而且有些支吊架不但影响观感,更存在着安全隐患,为了消除管道支吊架存在的各种隐患,使管道支吊架制安达到较高水平,特制定我公司管道支吊架的统一标准做法,目的使在消防管道支架制安达到标准化,统一化。
二、 角钢类支吊架的制安
1、 倒吊式:

倒吊式支吊架材料适用表
吊架钢材 |
适用管道 |
倒吊钢板 |
膨胀螺栓 |
L30×30×4 |
≤DN25 |
δ=6 100×100 |
M8×80 |
L40×40×5 |
DN32~DN50 |
δ=8 110×110 |
M10×85 |
2、 龙门式

龙门式支吊架材料适用表
支架型材 |
适用管道 |
倒吊钢板 |
膨胀螺栓 |
L30×30×4 |
≤DN25~DN40 |
δ=6 100×100 |
M8×80 |
L40×40×5 |
DN50~DN150 |
δ=8 110×110 |
M10×85 |
3、 单支角钢支架

单支角钢式支吊架材料适用表
支架型材 |
适用管道 |
膨胀螺栓 |
备注 |
L30×30×4 |
≤DN25 |
M8×80 |
适用于Ⅰ型 |
L40×40×5 |
DN32~DN80 |
M10×85 |
适用于Ⅰ型 |
L50×50×6 |
DN100~DN150 |
M12×100 |
适用于Ⅰ |
L30×30×4 |
DN25~DN50 |
M8×80 |
适用于Ⅱ |
L40×40×5 |
DN60~DN150 |
M10×85 |
适用于Ⅱ |
注:如≥DN200则用槽钢型支架。
4、水平式支架

I型:水平龙门式

Ⅱ型:水平单支角钢组合式
水平式支架材料适用表
支架型材 |
适用管道 |
支架底板 |
膨胀螺栓 |
备注 |
L40×40×5 |
DN65~DN80 |
δ=8 110×110 |
M10×85 |
适用I型 |
L40×40×5 |
≤DN50 |
M10×85 |
适用Ⅱ型 |
|
L50×50×6 |
DN60~DN100 |
M10×100 |
适用Ⅱ型 |
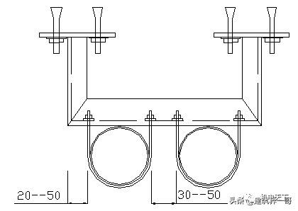
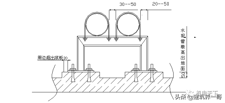
5、 座地式

注:座地式支架安装在室外的地面、天面露台的地面,这部分的支架必须安装在高于地面不少于50mm的水泥基础上。
座地式支架材料适用表
支架型材 |
适用管道 |
支架底板 |
膨胀螺栓 |
L40×40×5 |
≤DN25~DN50 |
δ=8 110×110 |
M10×85 |
L50×50×6 |
DN60~DN150 |
δ=10 120×120 |
M12×100 |
6、 挂墙式支架(宜固定在混凝土墙体上和墙体结实的砖墙上)
Ⅰ型:L型支架(立柱长度与横担长度之比1:1)
挂墙式支架材料适用表
支架型材 |
适用管道 |
膨胀螺栓 |
备 注 |
L40×40×5 |
≤DN50 |
M10×100 |
适用于Ⅰ型及空调的冷凝水、冷媒支架 |
L50×50×6 |
DN60~DN100 |
M12×100 |
适用于Ⅱ型三角型支架 |

Ⅱ型:三角型支架

三、槽钢类支吊架的制安
1、吊式龙门支架

吊式龙门支架材料适用表(同时适用于座地式)
吊架型材 |
适用管道 |
支架底板 |
膨胀螺栓 |
6#槽钢 |
DN200 |
δ=10 150×150 |
M12×100 |
8#槽钢 |
DN250 |
δ=10 170×170 |
M12×100 |
10#槽钢 |
DN300~DN400 |
δ=12 190×190 |
M12×120 |
2、水平龙门支架:
水平安装龙门支架材料适用表
吊架型材 |
适用管道 |
支架底板 |
膨胀螺栓 |
备注 |
6#槽钢 |
DN100~DN 150 |
δ=10 150×150 |
M12×100 |
|
8#槽钢 |
DN200~DN250 |
δ=10 170×170 |
M12×100 |
立管顶部、底部增设支承措施 |
10#槽钢 |
DN300~DN400 |
δ=12 190×190 |
M12×120 |
同上 |
四、 角钢类综合支架(最大支承管道数量如管径减少一级,支承管径数量可增加
1、 吊式龙头支架
吊式龙门支架材料适用表
吊架型材 |
最大支承管道数量 |
支架底板 |
膨胀螺栓 |
L30×30×4 |
≤DN25×2 |
δ=8 100×100 |
M10×85 |
L40×40×5 |
DN32~DN65×2 |
δ=10 110×110 |
M10×85 |
L50×50×6 |
DN80~DN150×2 |
δ=10 110×110 |
M12×100 |

2、座地龙门支架(适用于露台及室外露天管道)

座地龙门支架材料适用表
吊架型材 |
最大支承管道数量 |
支架底板 |
膨胀螺栓 |
L30×30×4 |
≤DN25×2 |
δ=8 100×100 |
M10×85 |
L40×40×5 |
DN32~DN65×2 |
δ=10 110×110 |
M10×85 |
L50×50×6 |
DN80~DN150×2 |
δ=10 110×110 |
M12×100 |
3、水平龙门支架

水平龙门支架材料适用表
吊架型材 |
最大支承管道数量 |
支架底板 |
膨胀螺栓 |
L40×40×5 |
≤DN40×2 |
δ=8 110×110 |
M10×85 |
L50×50×6 |
DN50~DN100×2 |
δ=10 110×110 |
M12×100 |
4、 挂墙式(适用于冷媒管的敷设)

立柱与横担之比(2:3)
挂墙式支架材料适用表
支架型材 |
适用管道 |
膨胀螺栓 |
备注 |
L40×40×5 |
≤2组冷媒管 |
M10×100 |
支架间距应≤1.5米 |
L50×50×6 |
3~4组冷媒管 |
M12×100 |
支架间距应≤1.5米 (隔组采用吊杆加强) |
五、 槽钢类综合支架(最大支承管道数量如管径减少一级,支承管径数量可减少一条)
1、吊式龙门支架

吊式龙门支架材料适用表
吊架型材 |
最大支承管道数量 |
支架底板 |
膨胀螺栓 |
10#槽钢 |
DN200~DN250×2 |
δ=12 190×190 |
M12×120 |
12#槽钢 |
DN300~DN400×2 |
δ=12 210×210 |
M12×120 |
2、座地龙门支架

座地龙门支架材料适用表
吊架型材 |
最大支承管道数量 |
支架底板 |
膨胀螺栓 |
10#槽钢 |
DN200~DN250×2 |
δ=12 190×190 |
M12×120 |
12#槽钢 |
DN300~DN400×2 |
δ=12 210×210 |
M12×120 |
水平龙门支架:

3、水平龙门支架(立管支架)
水平龙门支架(立管支架)材料适用表
吊架型材 |
最大支承管道数量 |
支架底板 |
膨胀螺栓 |
8#槽钢 |
DN125~DN150×2 |
δ=12 210×210 |
M12×120 |
10#槽钢 |
DN200~DN250×2 |
δ=12 230×230 |
M12×120 |
12#槽钢 |
DN300~DN400×2 |
δ=12 250×250 |
M12×120 |
六、防晃支架(也可作为固定支架使用,其支架型材可套用同类支架相同)

七、滑动支架
1、晃动式滑动支架
晃动支架材料适用表
晃动吊杆 |
管道卡码 |
六角螺栓 |
支架吊板 |
膨胀螺栓 |
|
DN15~25 |
φ8元钢 |
δ=3 25扁钢 |
M8×30 |
δ=6 100×100 |
M8×85 |
DN32~40 |
φ10元钢 |
δ=4 30扁钢 |
M10×30 |
δ=8 100×100 |
M10×85 |
DN50~65 |
φ12元钢 |
δ=5 40扁钢 |
M10×30 |
δ=10 100×100 |
M10×100 |
2、移动式滑动支架
注:管卡码适用于铜管,镀锌钢管等到不可焊接管支架,如无缝钢管等可焊接部位可采用焊接形式取代卡码形式。
滑动支架材料适用表
卡 码 |
卡码底座 |
六角螺栓 |
|
≤DN40 |
δ=4 40扁钢 |
δ=6 120×80 |
M8×30 |
DN50~DN65 |
δ=5 50扁钢 |
δ=8 140×100 |
M10×30 |
DN80~DN100 |
δ=6 60扁钢 |
δ=10 160×120 |
M12×30 |
DN125~DN150 |
δ=8 80扁钢 |
δ=10 160×120 |
M12×30 |
3、固定支架
注:固定支架材料与滑动支架材料相同
4、固定支架及滑动支架布置形式。
(1)、一般长度大于或等于50m须制作滑动及固定支架,以利于管道受冷热温度所引起的膨胀与收缩。其伸缩量以钢铁材料为常见例子,温度在100℃时,1毫米/米的伸缩量。因此,滑动支架安装时,应向伸缩方向预留伸缩量。
(2)、一般管道的转弯位置可作为膨胀节使用,膨胀节的形式还有套管式膨胀节、不锈钢波纹膨胀节及用管道做成 状的方型膨胀节。目前最佳的膨胀节以管道弯头及方型膨胀节为首选。套管式及不锈钢波纹膨胀节安装方便,但使用寿命有限制。膨胀节部位是用于伸缩作用的,这部位禁止使用固定支架。
八、典型综合管道布置形式
1、公共走廊管道综合布置

2、管道井布置

九、支吊架制作的一些要求
1、 平支架安装高度:4米楼层以下支架离地面1.5~1.8m,以1.65米为宜。如起过4米楼层,则按比例均布。
2、 道卡码螺栓处露以2~5个螺距为宜,并应安装平介子,紧固螺母。
3、 架必须先油漆后安装,按规定应二遍防锈漆,外加二遍面漆。
4、 架所有孔必须采用钻孔,不得使用气割开孔。
5、 胀螺栓的深度应充分考虑到批荡层的厚度。
6、 倡使用共用支架。对大面积使用的一些支架宜先做样板,以点带面(特别是本文无提及的做法)。
7、 道支架的水平度、垂直度以±1毫米/米误差为宜。
8、 支架底板如采用角钢代替时应采用比主型材大一号角钢并旋转90°安装。
十、 常用管道的支吊架间距
1、塑料给水管的支吊架最大间距。
公称直径(mm) |
15 |
20 |
25 |
32 |
40 |
50 |
63 |
75 |
90 |
110 |
160 |
|
支吊架的最大间距(m) |
立 管 |
0.8 |
0.9 |
1.0 |
1.1 |
1.3 |
1.6 |
1.8 |
2.0 |
2.2 |
2.4 |
2.6 |
水平管 |
0.5 |
0.6 |
0.7 |
0.8 |
0.9 |
1.0 |
1.1 |
1.2 |
1.35 |
1.55 |
1.7 |
|
注:塑料管采用金属管卡作支架时,管卡与塑料管之间应用塑料带或橡胶物隔垫,并不宜过大或过紧。
2、钢管管道最大支吊架间距。
公称直径(mm) |
15 |
20 |
25 |
32 |
40 |
50 |
65 |
80 |
100 |
125 |
150 |
200 |
250 |
300 |
|
支吊架的最大间距(m) |
保温管 |
2 |
2.5 |
2.5 |
2.5 |
3 |
3 |
4 |
4 |
4.5 |
6 |
7 |
7 |
8 |
8.5 |
不保温管 |
2.5 |
3 |
3.5 |
4 |
4.5 |
5 |
6 |
6 |
6.5 |
7 |
8 |
9.5 |
11 |
12 |
|
3、铜管最大支吊架间距。
公称直径(mm) |
15 |
20 |
25 |
32 |
40 |
50 |
65 |
80 |
100 |
125 |
150 |
200 |
|
支吊架的最大间距(m) |
立 管 |
1.8 |
2.4 |
2.4 |
3.0 |
3.0 |
3.0 |
3.5 |
3.5 |
3.5 |
3.5 |
4.0 |
4.0 |
水平管 |
1.2 |
1.8 |
1.8 |
2.4 |
2.4 |
2.4 |
3.0 |
3.0 |
3.0 |
3.0 |
3.5 |
3.5 |
|
4、排水塑料管道最大支吊架间距
排水塑料管道支吊架最大间距(单位:m)
管径(mm) |
50 |
75 |
110 |
125 |
160 |
立管 |
1.2 |
1.5 |
2.0 |
2.0 |
2.0 |
横管 |
0.5 |
0.75 |
1.10 |
1.30 |
1.6 |
十一、为规范管道卡码螺栓外露的标准,特制作卡码尺寸标准图,希望在采购进货时留意。见附图一、二

全部回复(0 )
只看楼主 我来说两句抢沙发