知识点:定位器
阀门定位器是控制阀的主要附件,它将阀杆位移信号作为输入的反馈测量信号,以控制器输出信号作为设定信号,进行比较,当两者有偏差时,改变其到执行机构的输出信号,使执行机构动作,建立了阀杆位移倍与控制器输出信号之间的一一对应关系。本文重点讲解常见定位器调试步骤,帮助仪表人轻松掌握各类定位器。

阀门定位器(valvepositioner)阀门定位器按结构分:气动阀门定位器、电气阀门定位器及智能阀门定位器,是调节阀的主要附件,通常与气动调节阀配套使用,它接受调节器的输出信号,然后以它的输出信号去控制气动调节阀,当调节阀动作后,阀杆的位移又通过机械装置反馈到阀门定位器,阀位状况通过电信号传给上位系统。
阀门定位器按其结构形式和工作原理可以分成气动阀门定位器、电-气阀门定位器和智能式阀门定位器。
阀门定位器能够增大调节阀的输出功率,减少调节信号的传递滞后的情况发生,加快阀杆的移动速度,能够提高阀门的线性度,克服阀杆的摩擦力并消除不平衡力的影响,从而保证调节阀的正确定位。
1、阀门定位器按输入信号分为气动阀门定位器、电气阀门定位器和智能阀门定位器。
(1)气动阀门定位器的输入信号是标准气信号,例如,20~100kPa气信号,其输出信号也是标准的气信号。
(2)电气阀门定位器的输入信号是标准电流或电压信号,例如,4~20mA电流信号或1~5V电压信号等,在电气阀门定位器内部将电信号转换为电磁力,然后输出气信号到拨动控制阀。
(3)智能电气阀门定位器它将控制室输出的电流信号转换成驱动调节阀的气信号,根据调节阀工作时阀杆摩擦力,抵消介质压力波动而产生的不平衡力,使阀门开度对应于控制室输出的电流信号。并且可以进行智能组态设置相应的参数,达到改善控制阀性能的目的。
2、按动作的方向可分为单向阀门定位器和双向阀门定位器。单向阀门定位器用于活塞式执行机构时,阀门定位器只有一个方向起作用,双向阀门定位器作用在活塞式执行机构气缸的两侧,在两个方向起作用。
3、按阀门定位器输出和输入信号的增益符号分为正作用阀门定位器和反作用阀门定位器。正作用阀门定位器的输入信号增加时,输出信号也增加,因此,增益为正。反作用阀门定位器的输入信号增加时,输出信号减小,因此,增益为负。
4、按阀门定位器输入信号是模拟信号或数字信号,可分为普通阀门定位器和现场总线电气阀门定位器。普通阀门定位器的输入信号是模拟气压或电流、电压信号,现场总线电气阀门定位器的输入信号是现场总线的数字信号。
5、按阀门定位器是否带CPU可分为普通电气阀门定位器和智能电气阀门定位器。普通电气阀门定位器没有CPU,因此,不具有智能,不能处理有关的智能运算。智能电气阀门定位器带CPU,可处理有关智能运算,例如,可进行前向通道的非线性补偿等,现场总线电气阀门定位器还可带PID等功能模块,实现相应的运算。
6、按反馈信号的检测方法也可进行分类。例如,用机械连杆方式检测阀位信号的阀门定位器:用霍尔效应检测位移的方法检测阀杆位移的阀门定位器:用电磁感应方法检测阀杆位移的阀门定位器等。
阀门定位器是控制阀的主要附件.它将阀杆位移信号作为输入的反馈测量信号,以控制器输出信号作为设定信号,进行比较,当两者有偏差时,改变其到执行机构的输出信号,使执行机构动作,建立了阀杆位移量与控制器输出信号之间的一一对应关系。因此,阀门定位器组成以阀杆位移为测量信号,以控制器输出为设定信号的反馈控制系统。该控制系统的操纵变量是阀门定位器去执行机构的输出信号。
(1)用于对调节质量要求高的重要调节系统,以提高调节阀的定位精确及可靠性。
(2)用于阀门两端压差大(△p>1MPa)的场合。通过提高气源压力增大执行机构的输出力,以克服液体对阀芯产生的不平衡力,减小行程误差。
(3)当被调介质为高温、高压、低温、有毒、易燃、易爆时,为了防止对外泄漏,往往将填料压得很紧,因此阀杆与填料间的摩擦力较大,此时用定位器可克服时滞。
(4)被调介质为粘性流体或含有固体悬浮物时,用定位器可以克服介质对阀杆移动的阻力。
(5)用于大口径(Dg>100mm)的调节阀,以增大执行机构的输出推力。
(6)当调节器与执行器距离在60m以上时,用定位器可克服控制信号的传递滞后,改善阀门的动作反应速度。
(8)一个调节器控制两个执行器实行分程控制时,可用两个定位器,分别接受低输入信号和高输入信号,则一个执行器低程动作,另一个高程动作,即构成了分程调节。
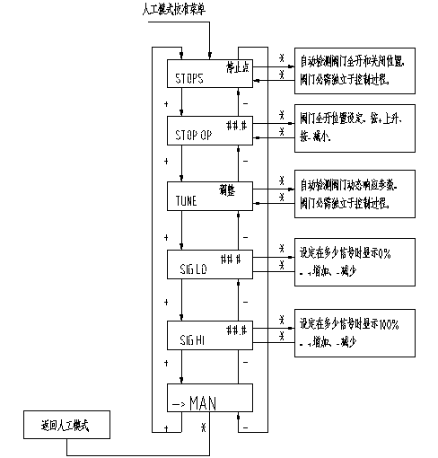
?(1)切换就地、远方。按住MODE键不要松开,再点击↑ ↓键可以进行切换。
?(2)用(1)?的方式进入1.1(远方控制)1.2(就地控制)
?(3)若要实现快开,则先按住↑键再按键 ↓键;实现快关,则先按住 ↓键再按住↑键,方可完成操作。
?(4)用?(1)的方式进入1.3,出现单词SENS-POS,其意思是显示调节定位器后连杆与后旋钮弧度保持在对称的范围内。
(1)?P1.0:将↑↓键同时按,然后点击”ENTER”键,出现单词“LINEAR”调节角行程和直行程。
(2)P1.1:按住MODE键,点击↑ ↓键,进入P1.1菜单。常按ENTER键3S,然后面板显示倒数计时为0后松开,就出现自整定,直到出现完成“COMPIETE”单词。
(3)P1.4:退出(EXIT)会显示“保存”和“不保存”,按住“ENTER”3S,则保存调试,若不保存,直接按↑键,退出到“放弃”单词,然后再按住“ENTER”3S,退出。
(4)P2.3出现REVERSE单词,显示的是调节阀门和定位器的正反作用。
(5)P3.2出现CW/CCW单词,调节的是DCS和就地定位器指令的正反作用。
(7)P8.2出现DIGEET单词,则调节的是DCS和就地定位器反馈的正反作用。
打开275/375手操器 从主菜单(Main Menu) 选择Hart应用(HART Application)从On line找到该定位器。依次进入Setup&Diag ——Detailed Setup——Mode——Instument Mode (或者按手操器上快捷键直接进入)——警告!in service 模式被送到仪表当中时阀门也许会动(WARNING!Valve may move when in Service mode is sent to the instrument.) 按OK 后进入仪表模式(Instrument Mode)选择Out of service 后 按ENTER——提示“Instrument mode is already out of service!” 后回到主界面依次进入 Setup&Diag——Basic Setup——Auto setup——Setup Wizard:
1、选择你所使用的压力单位(Pressure units (psi))后ENTER ;
2、输入最大供气压力(Max Supply Press (psi))后ENTER;
3、选择执行机构的生产厂家(Actuator Manufcture)后ENTER 以上品牌没的话选OTHER ;
4、 如果执行机构单作用带弹簧选3 、双作用带弹簧选4 、双作用不带弹簧选2;
5.、选ROTARY 下一步根据阀门零信号时是开选2 关的话选1 下一步再选1 下一步选YES自动选择阀门转向及其增益大小;
6、选择是否有加速器或者快速释放阀(Is a Volume Booster or Quick Release Present ? );
7、提示 执行机构的信息正被发送到仪表当中,请稍等“Actuator information is being sent to the instrument. Please wait…” ;
8、选择使用出厂默认设置Use Factory defaults for setup?(Yes is recommended for Initial Setup) Yes 后ENTER ;
9、 提示 出厂默认设置正被发送到仪表当中,请稍等“Factory default are being sent to the instrument. Please wait… ” ;
10、继续自动设置 选择放大器调整“To continue Auto Setup.select Relay Adjust ”;
11、你是否希望现在进行放大器调整?(Do you wish to run Relay Adjustment Calibration now ?) 假如是双作用选择Yes 单作用选择No后ENTER ;
12、选择行程标定 (To continue.select Auto Calib Travel.)按OK;
13、 你希望现在进行自动行程标定吗?(Do you wish to run Auto Travel Calib now ?Select YES if initial setup)选择Yes 后按 ENTER;
14、 警告!标定将导致仪表的输出突然变化 按 OK;
15、选择交点的调整(Select Crossover Adjust)Manual/Last Value/Default 正常情况下选择 default 后 ENTER 假如默认的调整后精度比较差 才会选择Manual手动;
16、 下面进入自动行程标定的过程,完成后仪表模式恢复到In service!
3、检查并调整好所有的结构参数(CONFIGuration);
5、运行自动调整功能(autoTUNE),得到新的动态响应参数;
接通信号源后,将输入信号调节到12mA。系统会进行自检,然后进入交替显示阀位和输入信号的值。此时系统有可能处于人工或自动的状态,取决于上次运行断电前的状态。如果屏幕显示阀位时使用(POS-M)说明处于人工状态;如果显示阀位时使用(POS)说明处于自动状态。然后按照流程图操作即可完成设定。
1、条件:①稳定的气源 压力≥0.3MPa(角行程定位器压力≥0.5MPa)
④打开气源开关,向下调节调“0”旋钮,直至排气压力表指针不为0,然后反方向缓慢旋转调“0”旋钮,使压力表指针刚好处于0位置。
⑤输入25%(8mA)、50%(12mA)、75%(16mA)、100%(20mA)信号,观察指针下降(上升)行程:
A.、若单次行程超过刻度盘的1/4,说明定位器量程过大,此时应调节量程调节旋钮(先松开螺丝,然后调节下方的旋钮,向“—”方向调节。根据实际情况确定调节的程度,单次微调,边试边调)。
B、若单次行程过小或不足刻度盘的1/4,说明定位器量程过小,操作与A相同,方向相反。
⑥每次调节量程调节旋钮后,重新进行试验,若实际行程与理论行程差距仍然很大,则再调节量程调节旋钮;若实际行程与理论行程差距较小,则调节调“0”旋钮,使 指针移动到对应的刻度上,再输入信号观察指针移动是否正确。
注:通过量程调节旋钮和调“0”旋钮的配合来调节量程和行程,已达到调试的目的。
(1)当输入信号为20mA,定位器排气压力必须>3公斤(球阀5公斤),一般为3.2-4公斤。若压力不足则调节阀开启/关闭不严,无法正常工作。
(2)气开阀:当输入信号为0时,排气压力必须为0,否则阀门没有完全关闭。
(2)如定位器没有调试过,这时显示屏中应出现P进入组态,先按“+”再同时按“—”,反之相同,看阀门的最大点或最小点;
(3)看最小点应在5-9之间,不对调定位器的黑色齿轮。看最大点应不超过95,调最小点尽量接近5;
(4) 用“+”、“—”键将阀门行程调到50%,调试前准备工作完成;
注意:如果定位器调试过必须清零,清零步骤为:按手键进入(新出的为50,最初的为55),再按“+”5秒出现OCAY,再按手键5秒,出现C4抬手出现P,进入组态后调试步骤同以上2、3、4相同。
注:自动初始化前一定要正确设定阀门的开关方向!否则初始化无法进行!
(1)正确移动执行机构,离开中心位置,开始初始化。
或
如果你希望在初始化阶段完成后,计算的整个冲程量用mm 表示,这一步必须设置。为此,你需要在显示屏上选择与刻度杆上驱动钉设定值相同的值。
初始化进行时,“RUN1”至“RUN5”一个接一个出现于显示屏下行。
通过下按功能键超过 5 秒,退出组态方式。约5 秒后,软键显示将出现。松开功能键后,装置将在Manual 方式,按功能键将方式切换为AUTO,此时可以远控操作。
利用这一功能,不需硬性驱动执行机构到终点位置即可进行初始化。杆的开始和终止位置可手工设定。初始化剩下的步骤(控制参数最佳化)如同自动初始化一样自动进行。
(1)对直行程执行机构实行初始化。通过手工驱动保证覆盖全部冲程,即显示电位计设定处于P5.0 和P95.0 的允许范围中间
或
注:这一值必须与传送速率选择器的设定相对应。(33°或90°)
如果你希望初始化过程结束时,测定的全冲程用mm 表示,你需要在显示器中选择与驱动销钉在杆刻度上设定的值相同,或对介质调整来说下一个更高的值。
①先按住“—”再同时按住“+”键,快关阀门(显示在6.5左右),否则调节黑色旋钮调节,使其在范围内;
注:如果按此操作显示的数是减小的,请先调整执行器的开关方向;
②然后先按住“+”再同时按住“—”键,快开阀门。开展后观察显示应在95以内,否则调节黑色旋钮,使其在正常范围内,然后下按功能键确认;
③先按住“—”再同时按住“+”键快关阀门,显示应在5到9之间,然后按下功能键确认;
⑤初始化的停止是自动出现的。RUN1 到RUN5 顺序出现在显示屏的下行。当初始化已全部完成时,出现如下显示:
下按功能键超过 5 秒,离开杆组态方式。接近5 秒后,软键显示将出现。松开功能键后,装置将在Manual 方式,按功能键将方式切换为AUTO,此时可以远控操作。
注:改变调整门的开关方向,需要调整定位器的7和38项,两项同时用“+”、“—”键更改,两项的设置必须要相同。
1、调整
自动设定是一种独特的程序,可用来自动进行定位器的各种调整。
用开度开关进行自动设定,执行自动设定和零点-量程调整时需要对定位器进行观察。
开度按钮用来启动自动设定和进行手动零点-量程标定,步骤:
(1)将定位器的输入信号设定为DC 18±1mA;
(2)打开SCP的前盖,按住开度按钮到“UP”位置(对于Flowing Rotary VFR阀门为“DOWN” );
(3)按住此按钮,直到阀门开始动作(约3秒),将启动自动设定程序,松开此按钮
(4)阀门从全关到全开往返两次。之后,阀门开启到50%的位置,并保持3分钟;
(5)通过改变输入信号确认自动设定程序已经完成。整个自动设定过程约需3分钟;
注:执行自动设定过程中,请勿将输入型号设定到4mA以下。(只要信号在4-20mA范围内,自动设定过程中改变输入信号不会影响程序的执行。)如果输入信号跌倒4mA以下,则自动设定将无效,且必须重新开始。自动设定完成后,信号维持在至少4mA的水平,并至少保持30秒钟,以确保数据和参数被保存到SVP内存中。操作结束后,通过改变输入信号检查阀门的动作,并确认阀门是否移到与信号相对应的正确位置。如满度位置发生偏移,再执行满度调整。
2、零点-量程调整
自动设定后,定位器已将其自身标定到阀门的全关(零点)和全开(量程)值。如果阀门不能获得其开度与定位器控制信号之间的正确关系,则按以下步骤手动调整零点-量程。
注:只有关闭和全开输入信号(例:4-20)与储存在定位器中的,或工厂中设定于定位器中的关闭和全开输入信号设定相同,开度开关才会工作。
(1)将阀门调整到关闭位置(零点)的步骤:
a、从控制器输入对应阀门全关位置的电流信号(例:4mA);
b、通过按开度按钮“UP”或“DOWN”,调整阀门全关位置。强制关闭功能默认值设定为0.5%。
(2)将阀门调整到全开位置(量程)的步骤:
a、从控制器输入对应阀门全关位置的电流信号(例:20mA);
b、通过按开度按钮“UP”或“DOWN”,调整阀门全关位置。直至调整阀门位置到位。
注:完成零点-量程调整后,改变输入信号以确认阀门工作是否准确。
3、维修
(1)滤网更换和节气喷嘴维修
可在维修过程中清除积累在定位器节气喷嘴中的仪表空气污染物。步骤:
1)、切断通向定位器的供气;
2)、从A/M开关铭牌部分拧下固定螺丝(注:拧下螺丝时,小心勿弄丢A/M开关盖板垫圈和防栓垫圈);
3)、从A/M开关转到MAN(手动)位置;
4)、用镊子或其它工具去除夹具,取出旧过滤网;
5)、用铁丝(直径为0.3μm)清除节气喷嘴中的污染物(清除污染物时,勿让油污或油脂弄脏节气喷嘴);
6)、将新过滤网缠在A/M开关上,用夹具将其压到原位;
7)、将A/M开关拧到底;
8)、用固定螺丝将A/M开关部分铭牌固定在A/M开关盖板上。
(2)清洁挡板
若仪表空气中的污染物积在挡板上(注:若向定位器施加气压,则清洁挡板和喷嘴背压会改变,引起阀门位置突然变化)
1)、拆下盖子;
2)、拧下盖板上的四颗螺丝;
3)、将盖板滑到左侧,然后拆下;
4)、准备好厚度为0.2mm的纸片,普通名片即可;
5)、用纸片清洁EPM喷嘴和挡板之间间隙内的脏物;
6)、清洁间隙后,将盖板和盖子重新装上。
4、故障排除
(1)定位器不能工作(无输出气压)
a、确认定位器反馈杆的转动角度未超过20°。若超过该角度,请在反馈杆上添加一个加长杆,以获得足够的反馈长度;
b、检查供气是否存在泄露;
c、检查电器输入信号;
d、检查自动/手动开关是否处于自动位置;
e、检查挡板和滤网的清洁状况。
(2)不能获得全行程,或影响速度慢
a、检查零点(全开)和量程(全开)的调整是否正确;
b、检查滤网和挡板的清洁状况。
(3)乱调或超程
a、检查反馈杆转动的允许角度。
3、给定8mA信号,通过零位调节螺母将零位调节至对应值;
4、给定16mA信号,通过量程调节螺母将量程调节至对应值;
5、给定4mA信号,检查阀门全关位置,必要时进行微调;
6、给定20mA信号,检查阀门全开位置;必要时进行微调;
7、给定4mA(或20mA)、8mA(或16mA)、12mA、4mA(或 20mA)、16mA(或8mA)、20mA(或4mA)进行刻度验证,必要时进行微调。
说明:1、通过量程调节螺母可以改变定位器的作用方式。
2、取用8mA和12mA信号,分别调整零位和量程,是因为8mA和12mA均有上下刻度值,可以明显反应零位和量程的位置,而4mA向下下没有刻度(和20mA向上也没有刻度值),不宜采用4mA和20mA来调节零位和量程。
3、定位器调校时,必须保证阀门能够完全关闭,有时候虽然给定4mA(或20mA)信号,阀门仍然有开度。
4、气动阀门定位器和电-气阀门均属机械式阀门定位器,因此调校方法类似,不再详细介绍。
(1)气动放大器挡板零点调节过低,挡板过于压紧喷嘴。
会导致调节阀的膜头受损、漏气,造成有输入信号但调节阀动作缓慢的故障,使调节阀达不到及时调节的效果,处理办法检查膜室,更换膜片。
(2)反馈连杆机构安装不好或者在某些位置有卡住的现象。
相关推荐:
1、GB5226.1-2008 机械电气安全
2、GB19517-2009国家电气设备安全技术规范
全部回复(0 )
只看楼主 我来说两句抢沙发