土木在线论坛 \ 电气工程 \ 电气工程原创版块 \ 复合式火灾探测器

复合式火灾探测器

发布于:2023-03-10 15:01:10 来自:电气工程/电气工程原创版块 [复制转发]

知识点:

复合型图像火灾探测器

灾是一种在时空上失去控制的燃烧所引发的灾害。它造成人员伤亡、财产损失、环境污染甚至生态失衡。正是由于它的危害性,所以必须进行及时有效的监测,并给出准确的警报,从而力图将火灾控制在一定的限度之内。

火灾中的燃烧火焰表现出的光谱、辐射、形状和闪烁等物理特征,产生的燃烧音及其燃烧产物——烟等,都会在火灾所发生的环境中有所体现,这也成为进行火灾探测的充分条件,探测技术与火灾物理特征的相互耦合则是火灾探测的必要条件。


图片

火灾探测原理

图片

火灾探测技术的实质是将火灾中表现的物理现象特征,利用传感元件进行感应,并将其转换为另一种易于处理的物理量。根据火灾的物理特征,人们已经利用数十种物理量转换效应作为火灾探测原理,并研制开发出相应的火灾探测器,如下表所列。

图片

图1 火灾探测原理及探测技术实质


根据监测的火灾特性不同, 火灾探测器可分为感烟、感温、感光 、复合和可燃气体等五种类型。其中,复合式火灾探测器是一种响应两种或两种以上火灾参数的火灾探测器。已经投入使用的有感温感烟火灾探测器、感光感烟火灾探测器、感光感温火灾探测器、差定温火灾探测器等,现在又有了进一步的发展,出现了探测三个参量或更多参量的探测器,如:一氧化碳、光电感烟和感温三复合火灾探测器等。复合探测器与单一参量的探测器相比具有误报率低、反应灵敏、使用场合广等诸多优点,因而也被应用到了火灾探测报警的众多场合。

图片

三复合火灾探测器

图片

绝大多数火灾都要产生一氧化碳(CO)气体,而且CO气体比空气轻,扩散性比烟雾更强,特别是许多常用感烟方法的误报源并不产生CO气体,因此将CO传感器引入火灾探测,构成复合火灾探测器是一种比较理想的早期火灾探测方法。

一氧化碳、光电感烟和感温三复合火灾探测器采用低功耗的金属氧化物CO传感器、散射光烟雾探测和半导体温度传感技术,并利用微处理器对信号进行复合火灾探测算法处理。下图2为CO、光电感烟和感温复合探测器电路框图,由微处理器控制CO传感器控制电路产生CO传感器加热器所需的供电周期脉冲,以降低探测器功耗,CO传感信号则通过信号放大电路后进入微处理器,经A/D采样后与光电烟雾和温度信号一起送入复合火灾探测算法进行处理。图3为探测器的结构和外形。

图片

图2 CO、光电感烟和感温复合探测器框图

图片

图3 CO、光电感烟和感温复合探测器结构


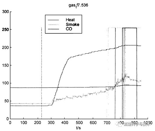
对CO、光电感烟和感温复合探测器按照欧洲标准进行测试,它对EN54规定的6种标准试验火均能正确响应。图3显示了这种复合探测器对CEA(欧洲保险商委会)新规定的复合探测器专用试验火TF7的响应情况。图中起火时刻为230s,CO报警在530s处,CO和烟雾复合报警在700s处,均比烟雾报警(760s)要早得多,CO、烟雾和温度三复合报警在810s处,而烟温复合报警在820s处,CO和温度复合报警在830s处,可见这种三复合方法能够明显提高探测器对各种火灾的探测性能,对普通光电烟温复合探测器难以响应的低温升黑烟也能早期报警。

图片

图4 CO、光电感烟和感温复合探测器对TF7的响应

图片

总线式烟温复合火灾探测器

图片

总线式烟温复合火灾探测器采用分布式控制的思想,将一台PC机作为整个系统的上位机,通过CAN总线与各个区域的火灾报警节点通讯,组成了分布式智能火灾监控系统。其中,分布式控制即为采用多个控制器,数据和算法分布在各控制器中,采用适当的通信方式连接在一起。该系统可以实时检测各个节点的火灾信息,利用PC机的强大运算功能处理火灾信息,实现实时报警和控制功能。

CAN全名为控制器局域网,是有效地支持分布式控制和实时控制的串行通信总线。与一般通信总线相比,它的数据通信具有突出的可靠性、实时性和灵活性,这使得其在总线的实时性和有效性,以及传输的距离和速率上都能满足火灾报警的控制要求。

总线式智能火灾报警系统如图5所示,在此系统中火灾报警系统主要由智能节点、CAN智能适配卡、PC上位机组成。在单片机的控制下,烟雾和温度模块将采集到的数据发送到总线上,智能适配卡采集CAN总线上的数据并把数据传输到上位机中,由上位机对数据进行处理,判断火灾是否发生;另一方面,上位机通过CAN 适配卡给各个节点传输控制命令。

图片

图5 智能火灾报警系统

对该系统对火灾监测和通信的可靠性进行验证,测试CAN总线节点以及上位机。测试采用CAN2.0B协议,CAN总线设置的传输速率为10kb/s,包括节点地址、温度数据和烟雾浓度的数据,通过CAN总线传输至计算机串口。计算机读取数据后在后台界面中显示火灾信息,由实验测得数据绘制曲线如图6所示。实验表明该系统能够快速有效地响应烟雾火灾信号,在火灾发生的初期探测出火灾信息并报警。此外,在实验的过程中系统比较稳定,无数据传输错误和丢失情况具有较好的可靠性。

图片

图6 烟雾和温度探测结果

图片

总结

图片

复合式火灾探测系统的优点在于能够更准确的探测火灾和减少误报警。它将多元探测与探测智能汇集于一身,实现了高智能、高可靠性和多功能,从而可以更加有效地探测各类早期火情和减少火灾发生。


相关推荐:

1、GB5226.1-2008 机械电气安全

2、GB19517-2009国家电气设备安全技术规范



全部回复(0 )

只看楼主 我来说两句抢沙发
这个家伙什么也没有留下。。。

电气工程原创版块

返回版块

2.2 万条内容 · 598 人订阅

猜你喜欢

阅读下一篇

柴油颗粒过滤器(DPF)尾气处理及再生原理

知识点:柴油车排气后处理器 当前汽车工业中,内燃机是重要的汽车动力源,燃料燃烧均会留下有害的残留物,例如炭烟颗粒(PM),我国新颁布的《中华人民共和国大气污染防治法》对在用机动车尾气排放提出了更加严格的要求,世界各国也均制定了更加严格的排放法规,以降低汽车尾气排放对环境的污染。 柴油机有害颗粒物排放始终是汽车工程师们关注的焦点之一。 目前,欧洲甚至全球均颁布了非常严格的汽车尾气排放标准,由欧洲经济委员会(ECE)的汽车尾气排放法规和欧盟(EU)的汽车尾气排放指令共同加以实现的欧洲汽车尾气排放标准,是欧盟国家为限制汽车尾气排放污染物对环境造成危害而共同采用的汽车尾气排放标准,当前对几乎所有类型的车辆排放的氮氧化物(NOx )、碳氢化合物(HC)、一氧化碳(CO)和颗粒物(Particulate Matter,简称PM)都有限制,对每一种车辆类型,汽车尾气排放标准有所不同。

回帖成功

经验值 +10