钢类支吊架的制安
倒吊式:

倒吊式支吊架材料适用表
吊架钢材 |
适用管道 |
倒吊钢板 |
膨胀螺栓 |
L30×30×4 |
≤DN25 |
δ=6 100×100 |
M8×80 |
L40×40×5 |
DN32~DN50 |
δ=8 110×110 |
M10×85 |
2、 龙门式

单支角钢支架

单支角钢式支吊架材料适用表
支架型材 |
适用管道 |
膨胀螺栓 |
备注 |
L30×30×4 |
≤DN25 |
M8×80 |
适用于Ⅰ型 |
L40×40×5 |
DN32~DN80 |
M10×85 |
适用于Ⅰ型 |
L50×50×6 |
DN100~DN150 |
M12×100 |
适用于Ⅰ |
L30×30×4 |
DN25~DN50 |
M8×80 |
适用于Ⅱ |
L40×40×5 |
DN60~DN150 |
M10×85 |
适用于Ⅱ |
注:如≥DN200则用槽钢型支架。
4、水平式支架
I型:水平龙门式

Ⅱ型:水平单支角钢组合式

(两角钢距离可根据水平长度移动准确后焊接。)
水平式支架材料适用表
支架型材 |
适用管道 |
支架底板 |
膨胀螺栓 |
备注 |
L40×40×5 |
DN65~DN80 |
δ=8 110×110 |
M10×85 |
适用I型 |
L40×40×5 |
≤DN50 |
M10×85 |
适用Ⅱ型 |
|
L50×50×6 |
DN60~DN100 |
M10×100 |
适用Ⅱ型 |
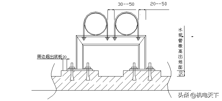
座地式

注:座地式支架安装在室外的地面、天面露台的地面,这部分的支架必须安装在高于地面不少于50mm的水泥基础上。
座地式支架材料适用表
支架型材 |
适用管道 |
支架底板 |
膨胀螺栓 |
L40×40×5 |
≤DN25~DN50 |
δ=8 110×110 |
M10×85 |
L50×50×6 |
DN60~DN150 |
δ=10 120×120 |
M12×100 |
挂墙式支架(宜固定在混凝土墙体上和墙体结实的砖墙上)
Ⅰ型:L型支架(立柱长度与横担长度之比1:1)
挂墙式支架材料适用表
支架型材 |
适用管道 |
膨胀螺栓 |
备 注 |
L40×40×5 |
≤DN50 |
M10×100 |
适用于Ⅰ型及空调的冷凝水、冷媒支架 |
L50×50×6 |
DN60~DN100 |
M12×100 |
适用于Ⅱ型三角型支架 |

Ⅱ型:三角型支架

三、槽钢类支吊架的制安
1、吊式龙门支架

Ⅰ、横梁安装(一) Ⅱ、天花吊顶式 Ⅲ、横梁安装(二)
吊式龙门支架材料适用表(同时适用于座地式)
吊架型材 |
适用管道 |
支架底板 |
膨胀螺栓 |
6#槽钢 |
DN200 |
δ=10 150×150 |
M12×100 |
8#槽钢 |
DN250 |
δ=10 170×170 |
M12×100 |
10#槽钢 |
DN300~DN400 |
δ=12 190×190 |
M12×120 |
2、水平龙门支架:

水平安装龙门支架材料适用表
吊架型材 |
适用管道 |
支架底板 |
膨胀螺栓 |
备注 |
6#槽钢 |
DN100~DN 150 |
δ=10 150×150 |
M12×100 |
|
8#槽钢 |
DN200~DN250 |
δ=10 170×170 |
M12×100 |
立管顶部、底部增设支承措施 |
10#槽钢 |
DN300~DN400 |
δ=12 190×190 |
M12×120 |
同上 |
四、角钢类综合支架(最大支承管道数量如管径减少一级,支承管径数量可增加一条;
吊式龙头支架
吊式龙门支架材料适用表
吊架型材 |
最大支承管道数量 |
支架底板 |
膨胀螺栓 |
L30×30×4 |
≤DN25×2 |
δ=8 100×100 |
M10×85 |
L40×40×5 |
DN32~DN65×2 |
δ=10 110×110 |
M10×85 |
L50×50×6 |
DN80~DN150×2 |
δ=10 110×110 |
M12×100 |
2、座地龙门支架(适用于露台及室外露天管道)
座地龙门支架材料适用表
吊架型材 |
最大支承管道数量 |
支架底板 |
膨胀螺栓 |
L30×30×4 |
≤DN25×2 |
δ=8 100×100 |
M10×85 |
L40×40×5 |
DN32~DN65×2 |
δ=10 110×110 |
M10×85 |
L50×50×6 |
DN80~DN150×2 |
δ=10 110×110 |
M12×100 |
3、水平龙门支架
水平龙门支架材料适用表
吊架型材 |
最大支承管道数量 |
支架底板 |
膨胀螺栓 |
L40×40×5 |
≤DN40×2 |
δ=8 110×110 |
M10×85 |
L50×50×6 |
DN50~DN100×2 |
δ=10 110×110 |
M12×100 |
挂墙式(适用于冷媒管的敷设)
立柱与横担之比(2:3)
使用L50角钢时隔组吊杆加固
挂墙式支架材料适用表
支架型材 |
适用管道 |
膨胀螺栓 |
备注 |
L40×40×5 |
≤2组冷媒管 |
M10×100 |
支架间距应≤1.5米 |
L50×50×6 |
3~4组冷媒管 |
M12×100 |
支架间距应≤1.5米 (隔组采用吊杆加强) |
五、槽钢类综合支架(最大支承管道数量如管径减少一级,支承管径数量可减少一条)
1、吊式龙门支架

吊式龙门支架材料适用表
吊架型材 |
最大支承管道数量 |
支架底板 |
膨胀螺栓 |
10#槽钢 |
DN200~DN250×2 |
δ=12 190×190 |
M12×120 |
12#槽钢 |
DN300~DN400×2 |
δ=12 210×210 |
M12×120 |
2、座地龙门支架

座地龙门支架材料适用表
吊架型材 |
最大支承管道数量 |
支架底板 |
膨胀螺栓 |
10#槽钢 |
DN200~DN250×2 |
δ=12 190×190 |
M12×120 |
12#槽钢 |
DN300~DN400×2 |
δ=12 210×210 |
M12×120 |
水平龙门支架:

3、水平龙门支架(立管支架)
水平龙门支架(立管支架)材料适用表
吊架型材 |
最大支承管道数量 |
支架底板 |
膨胀螺栓 |
8#槽钢 |
DN125~DN150×2 |
δ=12 210×210 |
M12×120 |
10#槽钢 |
DN200~DN250×2 |
δ=12 230×230 |
M12×120 |
12#槽钢 |
DN300~DN400×2 |
δ=12 250×250 |
M12×120 |
六、防晃支架(也可作为固定支架使用,其支架型材可套用同类支架相同)

Ⅰ型

Ⅱ型
七、滑动支架
1、晃动式滑动支架
晃动支架材料适用表
部 件 名 称 适 用 管 道 |
晃动吊杆 |
管道卡码 |
六角螺栓 |
支架吊板 |
膨胀螺栓 |
DN15~25 |
φ8元钢 |
δ=3 25扁钢 |
M8×30 |
δ=6 100×100 |
M8×85 |
DN32~40 |
φ10元钢 |
δ=4 30扁钢 |
M10×30 |
δ=8 100×100 |
M10×85 |
DN50~65 |
φ12元钢 |
δ=5 40扁钢 |
M10×30 |
δ=10 100×100 |
M10×100 |

2、移动式滑动支架

注:管卡码适用于铜管,镀锌钢管等到不可焊接管支架,如无缝钢管等可焊接部位可采用焊接形式取代卡码形式。
滑动支架材料适用表
部 件 名 称 适 用 管 道 |
卡 码 |
卡码底座 |
六角螺栓 |
≤DN40 |
δ=4 40扁钢 |
δ=6 120×80 |
M8×30 |
DN50~DN65 |
δ=5 50扁钢 |
δ=8 140×100 |
M10×30 |
DN80~DN100 |
δ=6 60扁钢 |
δ=10 160×120 |
M12×30 |
DN125~DN150 |
δ=8 80扁钢 |
δ=10 160×120 |
M12×30 |
3、固定支架

注:固定支架材料与滑动支架材料相同
4、固定支架及滑动支架布置形式。
(1)、一般长度大于或等于50m须制作滑动及固定支架,以利于管道受冷热温度所引起的膨胀与收缩。其伸缩量以钢铁材料为常见例子,温度在100℃时,1毫米/米的伸缩量。因此,滑动支架安装时,应向伸缩方向预留伸缩量。
(2)、一般管道的转弯位置可作为膨胀节使用,膨胀节的形式还有套管式膨胀节、不锈钢波纹膨胀节及用管道做成 状的方型膨胀节。目前最佳的膨胀节以管道弯头及方型膨胀节为首选。套管式及不锈钢波纹膨胀节安装方便,但使用寿命有限制。膨胀节部位是用于伸缩作用的,这部位禁止使用固定支架。
(3)、伸缩支架布置形式

八、典型综合管道布置形式。
1、公共走廊管道综合布置

2、管道井布置

九、支吊架制作的一些要求。
平支架安装高度:4米楼层以下支架离地面1.5~1.8m,以1.65米为宜。如起过4米楼层,则按比例均布。道卡码螺栓处露以2~5个螺距为宜,并应安装平介子,紧固螺母。架必须先油漆后安装,按规定应二遍防锈漆,外加二遍面漆。架所有孔必须采用钻孔,不得使用气割开孔。胀螺栓的深度应充分考虑到批荡层的厚度。倡使用共用支架。对大面积使用的一些支架宜先做样板,以点带面(特别是本文无提及的做法)。道支架的水平度、垂直度以±1毫米/米误差为宜。支架底板如采用角钢代替时应采用比主型材大一号角钢并旋转90°安装。
常用管道的支吊架间距。
1、塑料给水管的支吊架最大间距。
公称直径(mm) |
15 |
20 |
25 |
32 |
40 |
50 |
63 |
75 |
90 |
110 |
160 |
|
支吊架的最大间距(m) |
立 管 |
0.8 |
0.9 |
1.0 |
1.1 |
1.3 |
1.6 |
1.8 |
2.0 |
2.2 |
2.4 |
2.6 |
水平管 |
0.5 |
0.6 |
0.7 |
0.8 |
0.9 |
1.0 |
1.1 |
1.2 |
1.35 |
1.55 |
1.7 |
|
注:塑料管采用金属管卡作支架时,管卡与塑料管之间应用塑料带或橡胶物隔垫,并不宜过大或过紧。
2、钢管管道最大支吊架间距。
公称直径(mm) |
15 |
20 |
25 |
32 |
40 |
50 |
65 |
80 |
100 |
125 |
150 |
200 |
250 |
300 |
|
支吊架的最大间距(m) |
保温管 |
2 |
2.5 |
2.5 |
2.5 |
3 |
3 |
4 |
4 |
4.5 |
6 |
7 |
7 |
8 |
8.5 |
不保温管 |
2.5 |
3 |
3.5 |
4 |
4.5 |
5 |
6 |
6 |
6.5 |
7 |
8 |
9.5 |
11 |
12 |
|
3、铜管最大支吊架间距。
公称直径(mm) |
15 |
20 |
25 |
32 |
40 |
50 |
65 |
80 |
100 |
125 |
150 |
200 |
|
支吊架的最大间距(m) |
立 管 |
1.8 |
2.4 |
2.4 |
3.0 |
3.0 |
3.0 |
3.5 |
3.5 |
3.5 |
3.5 |
4.0 |
4.0 |
水平管 |
1.2 |
1.8 |
1.8 |
2.4 |
2.4 |
2.4 |
3.0 |
3.0 |
3.0 |
3.0 |
3.5 |
3.5 |
|
4、排水塑料管道最大支吊架间距
排水塑料管道支吊架最大间距(单位:m)
管径(mm) |
50 |
75 |
110 |
125 |
160 |
立管 |
1.2 |
1.5 |
2.0 |
2.0 |
2.0 |
横管 |
0.5 |
0.75 |
1.10 |
1.30 |
1.6 |
十一、为规范管道卡码螺栓外露的标准,特制作卡码尺寸标准图,希望在采购进货时留意。见附图一、二。(此图已提交公司采购部)
附图一:

卡码管径 |
超出支托长度(A) |
卡码螺丝长度 |
卡码螺栓直径 |
备注 |
DN15 |
17 |
17 |
φ5 |
|
DN20 |
17 |
17 |
φ5 |
|
DN25 |
19 |
19 |
φ6 |
|
DN32 |
19 |
19 |
φ6 |
|
DN40 |
22 |
22 |
φ8 |
|
DN50 |
22 |
22 |
φ8 |
|
DN65 |
22 |
22 |
φ8 |
|
DN80 |
24 |
24 |
φ10 |
|
DN100 |
24 |
24 |
φ10 |
|
DN125 |
24 |
24 |
φ10 |
|
DN150 |
24 |
24 |
φ10 |
|
DN200 |
27 |
27 |
φ12 |
|
DN250 |
27 |
27 |
φ12 |
|
DN300 |
27 |
27 |
φ12 |
|
DN350 |
27 |
27 |
φ12 |
|
DN400 |
27 |
27 |
φ12 |
附图二:

单位:mm
管卡公称内径 |
管卡内径 |
管卡螺纹长度(A) |
管卡有效长度(B) |
管卡螺栓直径 |
备注 |
DN15 |
φ22 |
17 |
39 |
φ5 |
|
DN20 |
φ27 |
17 |
44 |
φ5 |
|
DN25 |
φ34 |
19 |
53 |
φ6 |
|
DN32 |
φ43 |
19 |
62 |
φ6 |
|
DN40 |
φ49 |
19 |
68 |
φ8 |
|
DN50 |
φ61 |
21 |
82 |
φ8 |
|
DN65 |
φ76 |
21 |
97 |
φ8 |
|
DN80 |
φ89 |
23 |
112 |
φ10 |
|
DN100 |
φ115 |
23 |
138 |
φ10 |
|
DN125 |
φ141 |
23 |
164 |
φ10 |
|
DN150 |
φ166 |
23 |
189 |
φ10 |
|
DN200 |
φ220 |
26 |
246 |
φ12 |
|
DN250 |
φ274 |
26 |
300 |
φ12 |
|
DN300 |
φ326 |
26 |
352 |
φ12 |
内容源于网络,旨在分享,如有侵权,请联系删除
相关资料推荐:
https://ziliao.co188.com/d63768789.html
知识点:钢类、槽钢类、角钢类管道支架制作安装标准
0人已收藏
0人已打赏
免费5人已点赞
分享
建筑给排水
返回版块47.29 万条内容 · 1372 人订阅
阅读下一篇
卫生间排水管道装配式施工“卫生间UPVC排水管道装配式施工方法”简化了排水管道安装工艺、改进了施工流程,在结构施工时直接安装卫生间排水支管安装的连接预埋件和管道吊架预埋件,结构混凝土一次性浇注,结构面平整光洁无污染、减少结构板面预留孔洞;排水管道下料、安装统一尺寸,现场实现无电源装配式施工,减少了粉尘和现场废料。 模具化定位 ↓标准预埋件结构预埋安装 ↓装配式安装 ↓基于工程实例详细解读该施工工艺↓
回帖成功
经验值 +10
全部回复(0 )
只看楼主 我来说两句抢沙发