土木在线论坛 \ 给排水工程 \ 建筑消防给水 \ 消防系统的联动

消防系统的联动

发布于:2023-02-23 13:59:23 来自:给排水工程/建筑消防给水 [复制转发]

几种典型的防排烟系统:

1、通风与排烟系统分开设置。在通风、空调系统的送、回风管路上设置防火阀,平时呈开启状态,当火灾一旦发生,管道内气体温度达到70℃时即自行关闭。在排烟系统管道上或排烟风机的排风口处设置排烟阀,平时呈关闭状态,当火灾发生时,通过火灾报警信号手动或自动开启阀门,根据系统功能配合排烟,当管道内烟气温度达到280℃时自动关闭。

2、通风与排烟共用一套系统。在系统管道上或排风兼排烟风机的排风口处设置排烟阀,平时呈开启状态,排风兼排烟风机低速运行。一旦火灾发生时,排风兼排烟风机高速运行。

3、通风与排烟共用一套风管,分别设置通风机和排烟风机。在系统管道上设置排烟阀,在系统管道末端设置“T”风管将通风机和排烟风机与系统风管连通。通风机的送风口处设置防火阀,平时呈开启状态,当火灾一旦发生,电动关闭,风机关闭;排烟风机的排风口处排烟阀,平时呈关闭状态,当火灾一旦发生,电动开启,风机启动。(如下图所示)

图片

电气联动控制原理:

1 通风与排烟系统分开设置

1.1控制流程:

图片

1.2 控制原理:

1.2.1平时只运行通风系统。通风系统中防火阀开启,通风机正常运行,当防火阀关闭时,通风机停止运行;排烟系统中排烟阀关闭,排烟风机不运行。

1.2.2一旦火灾发生:

1)消防报警系统火灾探测器将火灾信号传送至消防主机。

2)消防主机确认火灾后,发出信号至消防联动柜。

3)通过消防联动柜手动/自动分别发出控制信号,停止通风机,关闭防火阀,通风系统停止使用;开启防火阀,启动排烟机,排烟系统投入使用。为了确保安全,排烟机一般不通过消防联动控制系统自动关闭,而只设置手动关闭方式。

4)防火阀关闭信号,排烟阀开启信号,通风机和排烟风机运行信号反馈到消防中心。

1.3消防中心监控点一览表:


DI

DO(点动)

开启

信号

关闭

信号

低速运行信号

高速运行信号

开风

关风

开启

控制

停止

控制

防火阀


1




1



通风机


1






1

排烟阀

1




1




排烟机

1






1

1

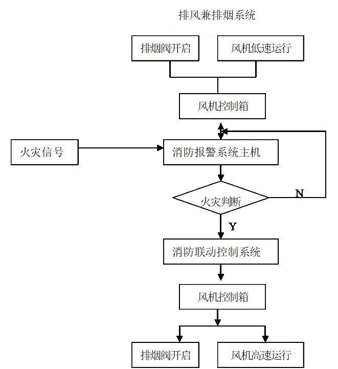
2 通风与排烟共用一套系统

2.1控制流程:

图片

2.2 控制原理:

排风兼排烟系统,排风与排烟的方向一致。

2.2.1该系统中排烟阀为常开状态,平时风机低速运行,完成通风功能。

2.2.2一旦火灾发生:

1)消防报警系统火灾探测器将火灾信号传送至消防主机。

2)消防主机确认火灾后,发出信号至消防联动柜。

3)通过消防联动柜手动/自动分别发出控制信号,排风兼排烟风机低速运行转为高速运行,完成排烟功能。

4)排烟阀关闭信号,排风兼排烟风机运行信号反馈到消防中心。

2.3消防中心监控点一览表:


DI

DO(点动)

开启

信号

关闭

信号

低速运

行信号

高速运

行信号

开风阀

关风阀

低速

运转

高速

运转

排烟阀


1







排风兼排烟机

1


1

1



1

1

3、通风与排烟共用一套风管,分别设置通风机和排烟风机

3.1控制流程:

图片

3.2控制原理:

该系统通风机出风口设置防火阀,排烟机出风口设置排烟阀,风管中设置排烟阀(常开)。该系统排风与排烟的方向相反。

3.2.1平时该系统中防火阀为开启状态,通风机运行,完成通风功能。排烟阀为关闭状态,排烟机停止。

3.2.2一旦火灾发生:

1)消防报警系统火灾探测器将火灾信号传送至消防主机。

2)消防主机确认火灾后,发出信号至消防联动柜。

3)通过消防联动柜手动/自动分别发出控制信号至风机、排烟机控制箱,通过控制箱完成下列控制,完成排烟功能。

图片

4)防火阀关闭信号,排烟阀开启信号,通风机和排烟风机运行信号反馈到消防中心。

3.3消防中心监控点一览表:


DI

DO

开启

信号

关闭

信号

低速运行信号

高速运行信号

开风

关风

开启

控制

停止

控制

防火阀


1







通风机

1







1

排烟阀

1








排烟机

1






1


上述三种防排烟系统类型及其控制方法均在不同的工程实施中实现过,都能满足相关规范要求,并都顺利通过消防验收。工程技术人员如能掌握防排烟系统与消防联动控制的原理及熟练的运用,在项目实施过程中充分考虑两系统之间的联动控制逻辑关系,在相应设备订货时(如排烟阀、排风阀、控制箱、消防联动控制设备)能周密的考虑其技术要求、参数要求及相应的接口类型,将大大提高工作效率和经济效益,为系统的联动调试一次性顺利实现奠定良好基础。


内容源于网络,旨在分享,如有侵权,请联系删除


相关资料推荐:

某地消防系统联动CAD参考图

https://ziliao.co188.com/d63744926.html


知识点:消防系统的联动


全部回复(0 )

只看楼主 我来说两句抢沙发

建筑消防给水

返回版块

28.41 万条内容 · 744 人订阅

猜你喜欢

阅读下一篇

消防给水设计流量知识点

3.5.2  建筑物室内消火栓设计流量不应小于表3.5.2的规定(民用建筑)。 3.5.3 当建筑物室内设有自动喷水灭火系统、水喷雾灭火系统、泡沫灭火系统或固定消防炮灭火系统等一种或两种以上自动水灭火系统全保护时,高层建筑当高度不超过50m且室内消火栓系统设计流量超过20L/s时,其室内消火栓设计流量可按本规范表3.5.2减少5L/s;多层建筑室内消火栓设计流量可减少50%,但不应小于10L/s。

回帖成功

经验值 +10