土木在线论坛 \ 电气工程 \ 电气工程原创版块 \ 程控阀典型故障案例,如何正确处理

程控阀典型故障案例,如何正确处理

发布于:2023-02-22 13:45:22 来自:电气工程/电气工程原创版块 [复制转发]

知识点:程控阀

程控阀是化工生产中的主要组成部分,应用在一些自动化要求比较高的复杂工艺中,且应用越来越广泛,尤其是在制氢装置、制氧装置上。


中海油惠州石化有限公司炼油二部共3套PSA装置,见表1。每套工艺条件不同,但控制方法相同,由83台不同口径的程控阀,按13个步序频繁地开关,循环动作实现变压吸附的整个工艺过程。
表1 3套PSA装置概况
图片

PSA工艺对程控阀的要求
程控阀在PSA生产过程中具有周期性高频率的开关动作,因而程控阀必须具备快开、高频特性,二部制氢装置的程控阀具体体现在执行机构具有快开(2s)、高频(1年10万次,4年40万次)、缓冲功能(关阀时具备缓冲功能)等特性。


  • 密封要求高。由于变压吸附是一个周期性的过程,且动作频繁。程控阀在正常使用周期内,要保证一定的密封性,其密封性能应在ANSI Class VI级。

  • 程控阀可靠性要求高,年起闭次数需在6万~10万次,4年起闭次数需在25万~40万次。

  • 具有双向操作功能。在PSA工艺中,通过均压程控阀的介质为双向流动,这就要求程控阀的结构既能满足低进高出,又能满足高进低出。




  • 起闭速度快。不同的程控阀通径不同,开起和关闭的时间要控制在3s之内。目前程序设置了6s的延时报警。




  • 程控阀应具有一定的耐压性以及抵抗高速气流冲刷的性能。在一个大修周期内,程控阀应能保证正常工作。




制氢装置开工至今出现的程控阀问题
2010年,委托成都华西化工科技有限公司对PSA工艺进行重新核算,提出将部分程控阀缩径和增加节流孔板以降低局部流速的方法,使装置得到长周期的平稳运行。但随着运行时间的推移,还是出现了大口径蝶阀轴套断裂的故障。
2014年检修,109单元II系列PSA更换为液压系统,106单元与I系列PSA已运行了两个检修周期,更换了所有密封件,但还是出现各种不同故障。如大口径蝶阀卡涩、内漏、外漏,轴套断裂,截止阀卡涩严重以及阀杆断、打不开等。
故障率较高的程控阀主要为均压线的截止阀和逆放、冲洗线的蝶阀。主要原因如下:


  • 均压线压差大(前后约2.0MPa),逆放、冲洗线冲刷量大,气动阀门扭矩大。

  • 年开关6万~9万次的大口径蝶阀结构有缺陷,且已到使用寿命。

  • 小口径截止阀因要承受大压差,在役的已运行超过6年,各种故障频繁出现。


程控阀的典型故障分析
1. 程控阀外漏
随着运行时间的延长,高频次的动作使得填料函处经常发生泄漏,紧固填料可以解决。但是,当填料无效时,程控阀不能切出,无法在线更换填料。针对此问题制定相应的检查计划,对I、II系列所有程控阀定期测漏,实行预防性维修,将泄漏处理在萌芽状态。特别是程控阀紧固效果不好,需要从阀体结构解决,组织技术攻关。
2. 程控阀内漏
内漏使PSA各吸附塔在均压过程中压力不平衡,吸附剂再生过程不彻底,影响各塔吸附剂运行寿命。同时,造成解析气量大幅波动,导致转化炉炉膛负压波
动,严重的话会造成联锁停炉。主要原因如下。
1)吸附剂粉碎,在吸附塔细网格筛处泄漏,冲刷主密封,从而引起泄漏。
2)程控阀频繁动作,主密封处的紧固螺栓松动,引起三偏心蝶阀主密封偏位,从而引起泄漏。
3)气缸内部串气或外部漏气,导致驱动力不足,程控阀关不到位造成内漏,如图1所示。
图片
图1 程控阀磨损严重导致串气内漏
内漏解决措施:更换密封圈、O形圈。注意:内漏问题需要将程控阀下线处理。但由于PSA工艺的特殊性,在线生产时不能将有问题的程控阀切出,只有整列PSA停工才可处理,增加了保运的难度。若内漏小,通过工艺调整可满足要求;若内漏大,则要切出吸附塔,待停工后处理。
3. 阀门卡涩或打不开
1)驱动力不够。II系列PSA出现过因油压不够,程控阀打不开的现象,导致吸附塔自动被切出。通过调整增大油压,阀门能顺畅动作,但给油路管道和其他油缸带来泄漏风险。目前,对有问题的程控阀已更换了大油缸,油压调回设计的4.5MPa,运行状况良好。
2)气控阀故障。在现场露天环境,气控阀阀芯间隙很小,其排/放气时产生的呼吸效应易将粉尘吸入阀内,一段时间后干枯硬化变成硬度较高的小颗粒,小颗粒受到振动松脱进入阀芯腔体造成程控阀卡涩或打不开。
3)液控模块故障。实为两通路的换向滑阀,阀芯与阀体之间为硬密封,一旦油路系统的微小颗粒进入其密封面,就会导致程控阀动作异常,颗粒大点会损坏其密封面,使液动模块损坏,无法再用。此现象在系统投运初期时有发生,但油站设有吸油过滤器和回油过滤器,随着不断的使用,油路会越来越干净。
4)吸附剂粉化。106单元PSA从首开至今未更换过吸附剂,粉化较为严重,程控阀的故障为卡涩严重,振动较大,导致阀芯处的密封圈很快损坏。
4. 轴套开裂
具体表现在DN600气动蝶阀,气动程控阀的特点是起闭扭矩大、开关迅速,但对密封面的冲击也更加剧烈。同时,随着使用时间延长,大流量冲刷,增加了密封面的摩擦,使阀板上的轴套开裂。从2013年至今,已有5台蝶阀轴套开裂,如图2所示。
图片
图2 程控阀轴套开裂
5. 阀杆断
具体表现在均压截止阀。拆检气缸时发现缓冲块碎,怀疑是程控阀前后的大压差没有被缓冲块抵消,导致阀杆断,程控阀随着使用周期越来越长,使用寿命变短容易出现阀杆断的情况,后期维护和维修成本较高。
6. 其他仪表问题
主要表现在阀检故障、保险烧断和程序缺陷,出现次数较少,已制定相应的定期检查计划。阀检故障,气动阀扭矩大、振动大,时间久了会出现反馈杆偏移现象,通过校正反馈杆的位置,调整检测距离至3~5mm,紧固之后可以解决;其次是探头的老化,直接更换即可。
保险烧断发生在II系列,经彻底检查,排除短路、过载、进水和电缆绝缘度过低的可能,就是接线问题。厂家配套的电磁阀正负接线端靠得很近,且铜线头没有压线、裸露,再加上15W的功率(I系列电磁阀为7W),程控阀开起瞬间易烧保险,接线整改后未再出现烧保险故障。

程控阀的改造
程控阀的内漏问题主要是因为阀芯处内漏和平衡缸处内漏造成的,阀芯内漏主要体现在阀芯密封片和阀体密封面被损坏,如管道吹扫不当,有焊渣或异物,管道工艺气体中粉尘含量太大,粘在密封片上,气流冲刷而损坏。为了解决程控阀内漏问题,对程控阀的阀座密封面对焊用507MoNb,该材料焊前、焊后不需热处理,维护施工方便,焊后硬度33~37HRC,由于添加了Mo、Nb稳定元素,抗疲劳与抗冲刷性能相当好,比原来采用18-8(硬度为19HRC左右)好。
同时密封面采用新材料PEEK,大幅提高了密封面的抗高速气流冲刷和微量粉尘的性能,有利于装置的长周期稳定运行。PEEK在温度使用范围内热不变形、冷不收缩,常被用于航天军工轴承材料,稳定性好。
程控阀平衡缸处内漏可通过更换为橡胶O形圈取代老式O形圈解决。程控阀的外漏主要是因为填料函与阀杆处泄漏和气缸泄漏导致的,同样可以将气缸执行机构部件各配合处损坏的O形圈换成橡胶材料,解决因磨损导致泄漏的情况,V形填料圈磨损调整为螺钩压紧填料即可。
针对程控阀出现的问题对程控阀做了特殊的改造。
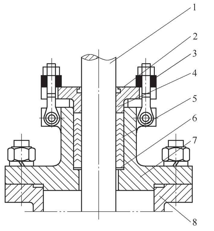
1.轴封填料结构
填料组件是阀门无外漏的关键(见图3),在填料密封设计上采用了如下关键技术。
图片
图3 轴封填料结构
1—阀杆 2—防尘圈 3—蝶簧 4—填料压盖 5—填料 6—轴承 7—阀盖 8—阀体
1)填料组件为具有截止压力自紧密封的V形填料组,只需在填料压盖上施加很小的密封力就能实现填料的有效密封。
2)在填料压盖上设计一组碟簧,以保证填料在长期使用后出现磨损或应力松弛时,给予行程及密封压力补偿。有效地延长填料密封的使用寿命及提高长时密封效果。
3)在填料压盖上设置防尘圈,有效地避免外界杂质、灰尘等进入轴与填料之间造成卡涩及加剧填料磨损,更有效地保证填料使用寿命。
2.阀芯组件结构
阀芯组件是阀门密封的关键(见图4),为保证阀门更好的密封效果,阀芯组件需具有以下特点。
图片
图4 阀芯组件结构
1—阀杆 2—阀芯压盖 3—阀芯 4—主密封圈 5—密封圈压圈


  • 阀芯与阀杆连接采用球型关节式结构。阀门在关闭时,该结构可以使阀门密封面和阀座密封面自动找正,提高密封性;同时球型关节的阀杆可以有效地避免常规结构中卡槽应力集中效应,提高了阀杆的受力,有效地避免因应力集中而产生的阀杆断裂失效。




  • 主密封圈材料采用PEEK,其与阀芯连接采用分体式结构。这种结构便于更换密封圈和日常维护。




  • 阀芯主密封圈采用了独特的金属外包防冲刷结构,大大地提高了主密封圈寿命。




  • 阀芯采用整体式结构,该结构增加了阀芯的强度和刚度,有利于阀门更好的密封效果,并减少了阀芯的漏点,更有利于保证阀门零泄漏。




  • 阀芯组件设置有缓冲装置。在阀门开起的初始瞬间有效地减少介质对阀座及密封圈的冲刷,在关闭结束的瞬间对阀芯组件起到有效的缓冲作用,减小密封圈和阀座之间冲击,从而提高阀门主密封的使用寿命。

相关推荐:

1、GB5226.1-2008 机械电气安全

2、GB19517-2009国家电气设备安全技术规范



全部回复(0 )

只看楼主 我来说两句抢沙发
这个家伙什么也没有留下。。。

电气工程原创版块

返回版块

2.2 万条内容 · 598 人订阅

猜你喜欢

阅读下一篇

程控阀典型故障案例,如何正确处理

知识点:程控阀 程控阀是化工生产中的主要组成部分,应用在一些自动化要求比较高的复杂工艺中,且应用越来越广泛,尤其是在制氢装置、制氧装置上。 中海油惠州石化有限公司炼油二部共3套PSA装置,见表1。每套工艺条件不同,但控制方法相同,由83台不同口径的程控阀,按13个步序频繁地开关,循环动作实现变压吸附的整个工艺过程。 表1 3套PSA装置概况

回帖成功

经验值 +10