知识点:高压压水试验
一、基坑开挖施工质量控制
基坑开挖是基坑支护过程的一个重要环节,直接影响到整个基坑工程的安全。因此合理有效的开挖方案对基坑工程的成败至关重要。
1、无支护开挖
基坑无支护开挖通常是指直接分层放坡开挖,其施工作业空间大,工期短,常用于地处空旷环境,且开挖深度不大的基坑,较少用于城市中。在施工时,软土地基的分层厚度应控制在2m以内,且开挖深度不宜过大,应控制在6~7m;而硬质土的分层厚度应控制在5m以内,但其开挖深度则不受限制。
此外,基坑开挖前,还应根据土质、基坑深度、开挖方法、留置时间、边坡荷载、排水情况及场地大小确定基坑边坡的稳定性,以保证基坑开挖施工的安全。
2、有支护开挖
基坑有支护开挖主要包括盆式挖土及中心岛式挖土等方式。
(1)盆式挖土:施工时先开挖基坑中间部分的土方,周围四边预留土坡,且土坡最后挖除。该方法常用于基坑面积较大、支撑或拉锚作业困难且无法放坡的基坑,且其具有支撑用量小,费用低等特点,可使周边土坡对围护墙起到支撑作用,有利于减少围护墙的变形,保证基坑稳定性。
(2)中心岛式挖土:施工时应先开挖基坑周边土方,暂时留置基坑中间的土方,以中间留土方作为支点搭设栈桥。该方法常用于具有较大空间情况下的大型基坑土方开挖,且其具有挖土和运土速度快的特点,但由于其施工特点,可能会增大支护结构的变形量,对支护结构受力产生不利影响,因此施工时应严格遵循相关要求。

3、施工要点
(1)基坑开挖时应遵循“土方分层开挖、垫层随挖随浇”的原则,其中在有支护的基坑开挖时应遵循“开槽支撑、先撑后挖、分层开挖、严禁超挖”的原则。
(2)基坑开挖时须结合边坡修护,在开挖一定深度后,应先修整好相应的土方开挖边坡,再进行下一层挖土。
(3)无法采用机械时应采用人工挖土,并适当放慢挖机的开挖速度,使人工挖土尽量能跟上挖机的速度,同时二者须错开时间和地点,以确保挖土安全,挖出的土方应及时装满运出。
(4)基坑开挖至坑底标高以上200~300mm时应暂停挖土,并进行人工修土,同时,施工时应严格执行开挖程序,且土方开挖的顺序、方法必须与设计工况一致,严禁超挖,以确保施工安全。
(5)深基坑开挖前,须进行基坑工程监测,即对支护结构、周围环境进行观察和监测,以准确了解土层的实际情况,及时对基坑周围环境采取有效保护,从而确保基坑工程的安全。
4、地下水对基坑的影响
地下水是运动着的水流,它和周围的岩土介质不断进行着物理的、力学的、化学的作用,从而影响地下水流的性质和化学组成,同时也对岩土介质状态产生影响。水文地质学侧重于水与岩土介质作用对地下水流系统的影响,而岩土力学则偏重于水与岩土介质作用对岩土介质变形的影响。前者以地下水污染研究和成岩成矿的研究为其主要应用方向,后者以岩土体水力学及其在工程中的应用和环境问题研究中的应用为主。这两方面的研究均是环境地学的前缘领域。工程地质力学研究的主要是后者,研究内容包含“地下水流,岩土介质变形,环境影响”的完整过程。
地下水普遍赋存于岩土体中,它与岩土体相互作用可以归结为两个方面:一是地下水与岩土体间发生机械的、物理的和化学的相互作用,使岩土体与地下水的性质或状态发生不断的变化。从岩土力学观点看,地下水对岩土体性质的软化作用、地下水通过结晶为主的胶结作用对岩土体性质的强化即属于此类,从而影响岩土介质的变形和破坏。二是地下水与岩土体间发生的力学方面的相互作用,它不断地改变着双方的力学状态和特性。从岩土力学角度看,地下水对岩土体力学作用主要有静水压力、动水压力(渗透力)和浮托力。在非饱和土体中还存在一种基质吸力(matric suction)。因此,在工程地质力学研究中,必须考虑岩土介质性质和力学作用中地下水的作用,并将其纳入总体的本构关系中。由于地下水流是一种活跃的介质,其动态变化又大,研究中时间因子的考虑也是必须的。从理论上探讨,地下水与岩土介质相互作用的工程地质力学理论研究应包括地下水渗流的研究、地下水对岩土性质的改变、地下水对岩土介质的力学作用。在应用于实际地质环境问题时,由于实际地质条件的复杂性,需要研究不同地质环境的一些基本作用形式,如碳酸盐岩分布区的岩溶作用、松散层中的渗透变形等等。这些作用都是水与岩土介质的机械、物理、化学及力学作用的一种复合,而又往往是许多环境问题中的一种作用因子,因此,这些也应该是水与岩土介质相互作用的基本理论的组成部分。由于地下水渗流的幕本理论在有关水文地质学科中有深入详细的研究,工程地质力学主要就空隙水压力作用及其对岩土体变形破坏的影响 (含有效应力原理对岩土体的普遍适用性)、水对岩土体力学性质的弱化作用、非饱和土的工程性质、渗透变形和岩溶作用等方面来研究地下水与岩土介质相互作用。
许多灾害和其它环境问题都和地下水与岩土介质相互作用有关,如水库及河流堤坝的渗漏、抽排地下水引起的地面沉降和地面塌陷、地震诱发的砂土液化、斜(边)坡和古滑坡的失稳、水库蓄水及深井注液诱发的地震等都是水与岩土介质相互作用影响岩土介质变形,进而影响这些灾害和其它环境问题的发生和演化。在这些灾害和其它环境问题中,斜(边)坡和古滑坡的失稳(即滑坡)中地下水作用约研究是薄弱环节。
5、土体渗透破坏
1、基坑壁流土破坏
在饱和含水地层(特别是有砂层、粉砂层或者其他的夹层等透水性较好的地层),由于围护墙的止水效果不好或止水结构失效,致使大量的水夹带砂粒涌入基坑,严重的水土流失会造成地面塌陷。下图为某深基坑止水帷幕渗漏、桩间流土事故。

2、基坑底突涌破坏由于对承压水的降水不当,在隔水层中开挖基坑时,当基底以下承压含水层的水头压力冲破基坑底部土层,将导致坑底突涌破坏。下图为上海某深基坑坑底内发生承压水突涌。

3、基坑底管涌破坏在砂层或粉砂底层中开挖基坑时,在不打井点或井点失效后,会产生冒水翻砂(即管涌),严重时会导致基坑失稳。下图为湖南浯溪水电站二期深基坑出现管涌 。


以上深基坑工程安全质量问题,只是从某一种形式上表现了基坑破坏,实际上深基坑工程事故发生的原因往往是多方面的,具有复杂性,深基坑工程事故的表现形式往往具有多样性。
二、深基坑降水与止水技术

(一)深基坑降水技术
1 土的渗透系数测定
渗透系数K反映土的透水性大小(cm/s或m/d)
现场渗透试验:
(1)抽水试验——用于含水层或地下水位较浅,且有一定富水性的土层;
(2)压水试验——用于贫水、干旱地层;
(3)注水试验——钻孔注水,原理同抽水试验。
大型工程对土的渗透系数作测定
抽水试验(扬水试验)
(1)在试验点钻中心试验孔;
(2)在中心孔每侧钻不少于2个观测孔;
(3)在中心孔持续抽水至孔内水柱稳定,测得孔内水位降深(S),涌水量(Q)与相应的影响半径(r)

对于无压完整井

2 降水方法与降水深度
(1)一般轻型井点(一级) 3~6m
(2)射流泵轻型井点 8m
(3)喷射井点8~20m
(4)深井泵 15m
(5)管井井点(潜水泵)浅的3~6m,深的可达20m。
上海常用:轻型、喷射
南京常用:管井、轻型



工作原理
由离心泵提供的高压工作水通过管通进入埋于井点管中底部的射流泵内,水流从喷嘴中高速喷出,在其周围形成真空,从而使地下水通过滤水管吸入泵内汇同工作水一起升压后排出。

特点:
射流泵是利用流体传递能量,其结构简单,工作可靠,寿命长,管理使用方便。
适用于土的渗透系数数为5-20m/昼夜及降水深度为10-25m的工况。由于吸上高度大,从而增加了基坑开深度。
与轻型井点喷射泵比较,在同样抽吸深度时,轻型井点泵需二次以上分段降水,而射流深井泵则一次到位,减少了工作量。
与机械长轴深井泵比较,克服了长轴深井泵安装复杂,故障多,使用要求高,维修不便等弊病。

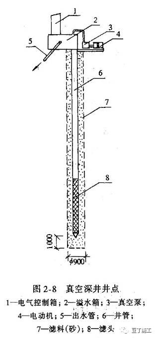
说明:
1溢流口
2机组水箱
3压力表
4真空表
5真空表接管
6出水管
7进水管
8外套管
9射流管
10管接
11滤水管
12外套管滤头










3、降水方案选择要素
(1)气象条件——特别考虑暴雨水,如上海暴雨量120~150mm/d,广州300mm/d
(2)地质条件——按当地条件及施工经验确定抽水量
(3)场地条件
(4)坡面保护——井点抽水保真空,不使坡面漏气(薄膜覆盖、挂网喷浆)
(5)电渗井点——粘性土中用
(6)电源有两路,井点泵有备用量
4、基坑开挖与降水对邻近建筑物的影响及措施
(1)降水不当引起的危害
〔实例〕上海康乐路十二层大楼工程
基础:箱基,开挖5.5m,面积70×14m2
降水方案:钢板桩加井点降水
抽水6天后沉降观测点的沉降量:

危害:降水期间,距基坑6~10m处旧民房略有裂缝。拔起钢板桩后,挟带泥土很多,使民房成危房

基坑支护结构外侧因泥沙随水渗流进入基坑,造成局部沉陷坍塌事故
上海、广东、江苏、山东、浙江等地均有多雨季节,地下水充沛,基坑土方开挖时排水或降水不当,均有可能造成支护结构失效坍塌事故。
(2)减少降水影响的措施
①减缓降水速度,勿使土粒带出
a. 利用降水曲线使其平缓,使邻近建筑物均匀沉降
办法:将井点加长,减缓降水速度
b. 根据土粒,改换滤网
c. 提高施工质量,确保砂滤层厚度,滤网外填砂其直径不
小于200mm
d. 井点上部1~1.5m深度用粘土封口。
②在建筑物沿基坑一边,采用回灌井,使建筑物保持原有地下水位(地下水位降低,土层压缩下降)
a. 采用回灌沟
条件:建筑物离基坑稍远,无隔水层或弱透水层
无隔水层回灌
有隔水层回灌

b. 采用回灌井
条件:土层中有粘质粉土夹层

c. 回灌的做法及技术要求
回灌井为较长的穿孔井管,同滤管,外填滤料,粘土封口,回灌井的计算同一般井点计算。水位如何用观测井观测。有时加压回灌,压力为10m水柱。
●回灌井的回灌水位曲线是倒漏斗形;
●防止降水和回灌两井相通,应保持距离6m以上;
●回灌井点,深度控制在长期降水曲线下1m为宜;
●回灌应用清水。
回灌实例

上海友谊商店主楼,楼长82m,宽34m,高33m,6层升板建筑。片筏基础,基础挖深地面下3.4m,东面离上海电台大楼10m处挖深达4.2m。电台大楼为30m高的六层框架结构,建于三十年代。原地下水位于地面下1.5m。
降水井点范围44m×85m,井点长度7.1m,其中滤管长1m。
回灌井点与降水井点相距7m,局部因场地限制缩小到3m。沿电台大楼布置,共长38m,间距3m。回灌井点长8m,埋至灰粉土层底部。5m高水箱。
效果:沉降观测表明,回灌区一般沉降量1~2mm,非回灌区沉降可达9~12mm。
(二)深基坑止水技术
1、止水帷幕施工方法
(1)高压喷射注浆法——成幕质量好,适用土层广,但成本高;
(2)深层搅拌法——成本低,只适用软粘土地基;
(3)压力灌浆法——适用土层较广,施工方便,但注浆可控性差,形成完整帷幕较难。
2、高压喷射注浆法
堵水防渗按双排或三排布孔,孔距0.866倍旋喷桩直径。喷射水泥浆,可掺2%~4%的水玻璃,提高抗渗。有抗渗要求,不宜掺矿渣水泥 。
先喷浆后旋转和提升。

3、深层搅拌法
深层搅拌法分喷浆深层搅拌法和喷粉深层搅拌法两种。形成止水帷幕常用喷浆深层搅拌法。
浆液水灰比0.45~0.55

4、高压灌浆法
(1)钻孔?91mm
(2)钻杆内灌入封闭泥浆。
(3)插入阀管到设计深度。
(4)封闭泥浆凝固后,在塑料阀管中插入双向密封注浆芯管进行注浆。
(5)注浆完毕冲洗塑料阀管中残留浆液。

三、深基坑支护及降水工程安全施工管理要点
1、 临边防护
(1)基坑施工必须按要求进行,具体临边防护要求按“三宝四口”章节要求执行。
(2)开挖深度超过2米的基坑施工还必须在栏杆式防护的基础上加密目式安全网防护。

深基坑临边防护
2、排水措施
(1)常见的地下水控制方法有集水明排、降水、截水和回灌等型式单独或组合使用。常用的地下水控制方法有明排水、井点降水、自流深井排水等。
(2)深基坑施工采用坑外降水的,必须有防止临近建筑物危险沉降的措施。

基坑排水措施

3、坑边荷载
(1)基坑、边坡和基础桩孔边堆置各类建筑材料的,应按规定距离堆放;各类施工机械距基坑、边坡和基础桩孔边的距离,应根据设备重量、基坑、边坡和基础桩的支护、土质情况确定,堆载不得超过设计规定。
(2)各类施工机械施工与基坑、边坡的距离小于规定时,应对施工机械作业范围内的基坑支护、地面等采取加固措施。
4、上下通道
(1)基坑作业时必须设置专供作业人员上下的通道,作业人员不得攀爬临时设施。
(2) 通道的设置,在结构上必须牢固可靠,数量、位置上应符合有关安全要求。

深基坑上下通道
5、土方开挖
(1)土方施工机械应由有关部门检查验收合格后进场作业,操作人员应持证上岗,遵守安全技术操作规程。
(2)机械开挖土方时,作业人员不得进入机械作业半径范围内进行坑底清理或找坡作业。
(3)施工时应遵循自上而下的开挖顺序,严禁先切除坡脚,并不得超挖。

基坑开挖

6、基坑内悬空作业
基坑内悬空作业时,应有稳固的立足点,并搭设防护设施,特殊情况下无可靠的安全设施。
7、基坑内垂直作业
基坑内垂直作业各工种进行上下立体交叉作业时,不得在同一垂直方向上操作。
8、基坑内交叉作业
(1)悬空作业各工种进行上下立体交叉作业时,下层作业的位置,处于上层高度可能坠落范围半径之外,并应设置安全防护层。
(2)由于上方施工可能坠落物件或处于起重机把杆回转范围之内的通道,在其受影响的范围内,必须搭设防止落物的双层防护棚。

基坑内交叉作业

9、坑洞内作业
(1) 钢管桩、钻孔桩等桩孔上口,杯形、条形基础上口,未填土的坑槽,以及人孔、天窗、地板门等处,均应按洞口防护设置稳固的盖件。
(2)施工现场通道附近的各类洞口与坑槽等处,除设置防护设施与安全标志外,夜间还应设红灯示警。
(3)坑洞内作业应设符合规定的和固定牢固的安全梯,工作坑四周或坑底必须设排水措施,必要时还应设通风设施。
(4)坑洞壁必须按方案设置牢固可靠的支护措施,坑洞内有人作业时,上方必须有人监护。
(5)在坑、洞、井内作业场所,应设一般照明、局部照明或混合照明,电源电压按作业环境选择安全电压。
深基坑工程是最近30多年中迅速发展起来的一个领域,由于高层建筑、地下空间的发展,深基坑工程的规模之大、深度之深,成为岩土工程中事故最为频繁的领域,给岩土工程界提出了许多技术难题,当前,深基坑工程已成为国内外岩土工程中发展最为活跃的领域之一。
相关推荐:
0人已收藏
0人已打赏
免费2人已点赞
分享
电气工程原创版块
返回版块2.2 万条内容 · 598 人订阅
阅读下一篇
高温高压强制循环热水泵实现国产化知识点:高压强制循环 该催化裂化装置高温高压强制循环热水泵的研制在我国尚属首次,是荆门石化联合科研院所共同研发落地的。该设备的国产化对于国内外同类型装置动设备技术的发展具有积极的推动和示范作用,一方面填补了国内在此领域的技术及应用空白,打破了国外技术垄断;另一方面为国内外同类炼油装置及炼钢装置等余热锅炉汽包水循环提供了新的解决思路。 高温高压强制循环热水泵的研发工作要追溯到2016年10月。当时,荆门石化280万吨/年重油催化裂化项目可研获得批复,项目中外取热部分采用的是高温高压强制循环热水工艺。配套建设的核心设备之一——强制循环热水泵的机械密封、耐压程度等指标必须满足相应的高温高压工况,普通的离心泵无法满足相应设计要求。
回帖成功
经验值 +10
全部回复(2 )
只看楼主 我来说两句抢地板后期会用到,内容不错!
回复 举报
好文!必须收藏!
回复 举报