土木在线论坛 \ 建筑结构 \ 混凝土结构 \ 常用降水止水方案选择

常用降水止水方案选择

发布于:2023-01-29 09:38:29 来自:建筑结构/混凝土结构 [复制转发]
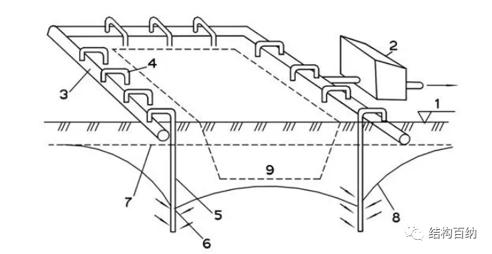
降水止水方案选择遵循如下原则:

1.方案选择的优先次序:集水明排→降水→止水
2.如周边环境允许,地下水不丰富,应尽量不采用止水方案。
3.对于复杂场地,必须通过抽水试验测定各含水层的渗透系数与影响半径,确定单位时间的抽水量和稳定时间,为降水方案提供可靠参数和试验数据。
4.止水的施工工艺,应从成本、计划、质量等因素综合考虑,并着重考虑项目所在地的施工能力。

图片

图片

图片

来源:《融创集团基坑支护方法选型和成本指标指南》

图片


来源:结构百纳

知识点:常用降水止水方案选择

降水方案


全部回复(0 )

只看楼主 我来说两句抢沙发
这个家伙什么也没有留下。。。

混凝土结构

返回版块

140.17 万条内容 · 2213 人订阅

猜你喜欢

阅读下一篇

坐井观天:日本住宅混凝土楼板厚度调研结果200mm-350mm!

经查询日本地产商官网,发现日本住宅楼混凝土结构楼板结构层厚度一般200mm-350mm。

回帖成功

经验值 +10