(一)影响地基的因素
强度及稳定性;压缩与不均匀沉降;地下水流失、潜蚀和管涌、液化;失稳和震陷
(二)地基处理的方法

(三)地基处理的原则
将局部软弱层/硬物尽可能挖除,回填与天然土压缩性相近的材料,分层夯实;处理后的地基应保证建筑物各部位沉降量趋于一致(均匀),以减少地基的不均匀下沉。
(一)古墓、坑穴的处理
将坑中的软松土、虚土全部挖除,使坑底及四周均见天然土,然后用与坑边天然土层相近的材料分层夯实回填至坑底标高处。
常用回填材料:砂、砂砾石、天然土、3∶7或2∶8的灰土。采用天然土分层夯实回填时,每层厚度200mm。
软松土坑范围较大,超过地槽的宽度时,应将该范围内的基槽适当加宽,挖至天然层,将部分基础加深,做成1∶2踏步与两端相接。


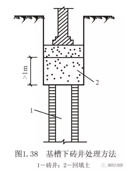
(二)砖井、枯井、土井的处理
当井在基槽范围内时,应将井的井圈拆至地槽下1m以上,井内用中砂、砂卵石材料分层夯填处理,在拆除范围内用2∶8或3∶7灰土分层回填夯实至槽底。


对于范围和深度较大的软土坑,由于回填材料与天然地基密实度相差较大,会造成基础不均匀下沉,所以还要考虑加强上部结构的强度,以抵抗地基不均匀沉降而引起的内力。在防潮层下设钢筋混凝土或钢筋砖圈梁(图)

(三)局部范围内硬物的处理
当桩基或部分基槽下有基岩、旧墙基、老灰土、压实路面等硬土或坚硬物时,首先在地坑、地槽范围内尽可能地挖除,以免基础局部落在硬物上造成不均匀沉降使上部建筑物开裂。硬土、硬物挖除后,若深度小于1.5m时,可用砂、砂卵石或灰土回填;若长度大于5m时,则将槽底做1:2踏步灰土垫层与两端紧密连接,然后做落深基础。
(四)橡皮土的处理
概念:含水量大且趋于饱和时的粘性土,如果直接夯打或反复碾压,就容易形成有颤动弹性感的“橡皮土”。
处理方法:
避免直接夯拍,采用晾槽或掺石灰粉的办法降低含水量后压实。
若施工中已出现橡皮土,则应将橡皮土层挖除,然后在槽底适当加深的情况下铺垫一层承载力高、符合设计要求的垫层地基,如砂土或级配砂石垫层等。
换填法、重锤夯实法、强夯法、灰土挤密桩法、深层搅拌桩法
(一)换填法施工
挖软弱层→分层回填→分层夯实→每层夯实后检测→回填到设计标高并验收
砂/砂石/碎石地基适用于处理透水性强的软弱粘性土地基,不适用湿陷性黄土地基和不透水的粘性土地基。
3、材料要求

灰土土料应选择粘性土或塑性指数大于4的粉土。配合比有2:8,3:7
4、施工要点
分层回填,厚度200~300mm,灰土用机械打夯或碾压;砂土振动碾压。
灰土垫层不得在柱基、墙角及承重窗间墙下接缝,上下缝距不得小于500mm,接缝处夯实。灰土夯实后3d内不得泡水。
分段施工或地基地面不在同一标高上时,接头处应做成台阶形,且上下层错开0.5~ 1米。
地基宽度应沿基础外边沿各放出200 ~300mm。
5、质量检验
施工中检查分层铺设的厚度,上下两层的搭接长度,加水量,夯压遍数和压实系数。
用贯入仪检验垫层质量(现场压实系数与贯入度相对应),压实系数检验用环刀法,取样点在每层的2/3的深度处。
分层检验垫层的质量,当该层的压实系数符合设计要求后,铺填上层。

(二)挤密法
原理:
将重锤提升一定高度后自由落下,利用给地基的冲击力和振动加密地基土。
重锤夯实法适用范围:地下水位埋深0.8米以上粘性土、砂土、湿陷性黄土、杂填土、分层填土地基
强夯法
适用范围:
碎石土、砂土、粘性土、湿陷性黄土、填土地基
施工要点:
①编制施工方案,确定夯打顺序(先周边后中间、先外后里),进行施工技术交底
②试夯:确定夯击时的施工参数(最后下沉量、总下沉量)
④夯实前基坑底面标高=设计标高+总下沉量+50~100mm。地基土含水量应控制在ωop±2%
⑥强夯法夯实时,若地下水位较高,应在表层铺0.5~2米中粗砂地基,以支撑起重设备,并快速消除孔隙水压力。


区别:

(三)深层搅拌法施工(水泥土搅拌桩)
原理:
利用特制的深层搅拌机在土体需要加固的范围内,将软土与固化剂强制拌合,使软土硬结成具有整体性、水稳性和足够强度的水泥加固土。
固化剂:水泥浆或水泥砂浆,水泥的掺量为加固土重的7%~15%,水泥砂浆的配合比为1:1或 1:2。
施工工艺:深层搅拌机定位→预搅下沉→制浆→喷浆搅拌→复搅下沉→提升→关机→清洗→移动至下一根桩


(四)灰土挤密桩法施工
原理:首先在基础地面形成若干个桩孔,再将灰土分层填入并压实,以提高地基的承载力或水稳性。
适用范围:用于处理地下水位以上的湿陷性黄土、素填土和杂填土等地基。
(五)CFG桩
内容源于网络,仅作分享使用,如有侵权,请联系删除
相关资料推荐:
知识点:地基处理
全部回复(7 )
只看楼主 我来说两句-
label
沙发
2023-02-28 17:50:28
赞同0
-
nageshijie
板凳
2022-12-04 06:20:04
赞同0
加载更多学习了,很好的资料!!!
回复 举报
很不错的资料,谢谢分享!
回复 举报