大跨度张弦拱壳结构是一种新型的大跨度自平衡空间结构体系,该结构利用高强索的强抗拉性能,有效地改善了整体结构的受力性能,具有变形小、稳定性强、承载能力高、结构稳定性强等优点。国家会议中心二期宴会厅及屋顶花园屋面结构采用的张弦拱壳结构由屋面钢结构、拉索、拉杆组成,沿跨度方向长72?m,共41榀(图1)。每榀张弦拱壳均设有1根拉索,通过锚固节点与钢结构相连,并在跨中利用2根拉杆将拉索分为3段,在该处拉索和拉杆通过索夹节点相连(图2)。

图1 屋面结构三维示意

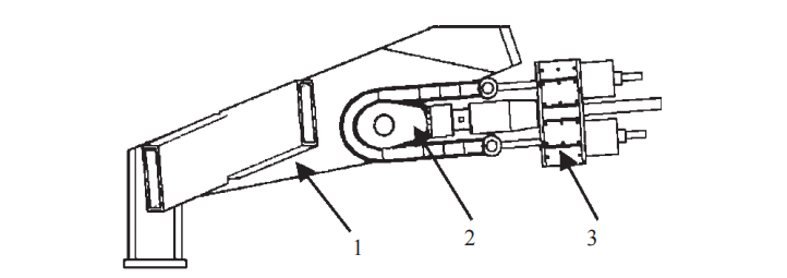
图2 单榀张弦拱壳结构
1—锚固节点;2—钢拱壳;3—拉杆;4—拉索;5—索夹节点
作为张弦拱壳的主要构成部分,拉索与钢拱壳结构的连接方式是发挥其功能的关键,因此索节点的深化设计是张弦拱壳结构设计的重要组成部分。对张弦拱壳结构施工而言,其深化设计也是极其重要的环节。
在索节点设计过程中,需考虑拉索与节点的连接强度、节点构造要求、节点功能要求和节点的力学性能。索结构节点构造应符合计算假定,应做到传力路线明确、确保安全并便于制作和安装。本工程涉及的索节点主要包括锚固节点和索夹节点。
锚固节点是拉索与钢拱壳直接相连的部位,拉索通过锚固节点对钢拱壳施加预应力,以减轻钢拱壳的载荷负担,形成一种自平衡体系,锚固节点的深化设计是整个张弦拱壳结构深化设计的重要组成部分。
锚固节点设计过程中,应考虑拉索与节点的连接形式并满足简洁美观的要求,节点与屋面钢拱壳焊接成为一体,下部与滑动支座相连。锚固节点在与拉索连接处采用单耳板形式,拉索则通过销轴与钢拱壳形成一个整体结构,如图3(a)所示。拉索的端头部位选用双叉耳可调节式索头,如图3(b)所示。


图3 锚固节点和拉索示意
(a)锚固节点;(b)双叉耳可调节拉索
完成锚固节点初步构思设计后,需考虑施工的可行性,由于锚固节点是承载拉索拉力的主要构件,施工过程中需以其做反力点,使用张拉工装对拉索施加预应力,目前常用的张拉工装有抱箍式工装和叉耳式工装如图4所示。

(a)

图4??施工设备结构示意
(a)抱箍式施工设备;(b)叉耳式施工设备
1—锚固节点;2—拉索;3—施工设备
抱箍式工装对施工空间要求小,大幅增加了主体钢拱壳的美观性,但施工难度高。由于本工程张力力值较大,大部分拉索最终张拉力值超过3?000?kN,这就更增加了抱箍式工装的施工难度和设计要求;同
时,由于抱箍式张拉工装采用弯折的钢箍做主受力结构,会大幅增加工装使用的风险。叉耳式张拉工装在可操作性和安全性方面均优于抱箍式张拉工装,但根据原叉耳式张拉工装设计的锚固节点需留有足够的安装空间,不可避免地需加大主梁耳板尺寸,如图5(a)所示,为避免这个缺陷,将下张拉孔后移,可使整个锚固节点更简洁美观,如图5(b)所示。


图5??锚固节点设计示意
(a)初步设计;(b)改进设计
1—上张拉孔;2—拉索销轴孔;3—下张拉孔
为此,重新设计一种改进型叉耳式工装(图6)。该工装通过将下叉耳设计为组装件的形式,缩小了张拉设备的施工空间,虽在一定程度上增加了施工难度和设备成本,但与抱箍式张拉设备相比仍有很大
优势。

图6 改进后叉耳式工装示意
1—锚固节点;2—拉索索头结构;3—张拉工装结构
索夹节点是拉杆与拉索的连接部位,张弦拱壳通过拉杆和索夹节点将整个拉索分为三段,拉索通过索夹节点对拉杆施加拉力,该拉力再通过拉杆传递到钢拱壳上,索夹节点的深化设计是整个张弦拱壳结构设计的必要组成部分。
索夹结构一般采用两半式设计,使用螺栓锁紧索体。目前张弦拱壳结构一般使用撑杆连接抗弯受压构件(钢拱壳)和抗拉构件(索),其索夹设计结构一般采用上下两半式,如图7(a)所示,由图7(a)可看出索夹的上半部分为主要受力结构,撑杆将压力传导给索夹上半部分,再由索夹上半部分传递给
索体。

图7 索夹结构
(a)上下式索夹结构;(b)左右式索夹结构
1—撑杆节点;2—上下式索夹上半部分;3—盖板;
4—拉杆;5—左右式索夹
然而,本工程张弦拱壳结构采用拉杆来连接抗弯受压构件(钢拱壳)和抗拉构件(索),若仍采用上下两半式结构,则螺栓和盖板(索夹下半部分)为主要受力结构。拉杆将拉力传导给索夹上半部分,然后由索夹上半部分通过螺栓传递给盖板(索夹下半部分),再由盖板(索夹下半部分)传递给索体。在此过程中螺栓等零件成为受力主体,会大幅降低结构的可靠性和安全性。
为此,本工程对节点进行创新型设计,将索夹结构改为左右式,如图7(b)所示。利用左右抱箍形式对拉索提供向上的拉力,其受力形式和安全性远优于上下式索夹结构;同时,将拉杆的锚固设计成单叉耳结构,如图8所示。该设计不仅传力方式优于上下式结构的索夹,同且更加小巧、简洁、美观。


图8 单叉耳拉杆示意
(a)主视图;(b)俯视图
1—销轴;2—拉杆端头;3—杆体;4—防松螺母
张弦拱壳结构的一个主要特点是利用拉索的高强度性能承受载荷,因此连接拉索的锚固节点必须有高强度性能。根据索结构技术规程,索结构节点应满足其承载力设计值不小于拉索内力设计值1.25~1.5倍的要求。
在分析锚固节点受力时,主要考虑拉索对它的拉力、钢拱壳对其约束及支座对其支撑,其分析模型如图9所示。

(a)

图9 锚固节点分析模型示意(计算机截图)
(a)计算模型;(b)荷载与约束
1—次梁;2—锚固节点;3—销轴;4—索头;5—主梁
由图10可较直观地看出锚固节点在工作状态下的应力和变形情况,拉索的拉力通过销轴传递到锚固节点上,然后通过锚固节点变形将力值传递给主梁和次梁。


图10??锚固节点有限元分析结果示意(计算机截图)
(a)锚固节点组件应力分析;(b)锚固节点应力分析;
(c)锚固节点组件变形分析;(d)锚固节点变形分析
从有限元分析结果可看出,主梁受拉索拉力影响较大,应力区域变化比较明显;而次梁受拉索拉力影响较小,应力较低。
由图10(b)可看出,应力最大的区域出现在锚固节点与拉索连接的销轴孔处,该处有明显的局部应力集中现象,因此销轴孔处的尺寸设计是保证整个张弦拱壳安全的关键。
在预应力施加过程中,拉索对索夹产生拉力,该拉力又通过索夹上部的耳板和销轴传递给拉杆,最终由拉杆传递给钢拱壳,形成整个张弦拱壳的预应力体系。拉索张拉完成后拧紧索夹上的高强螺栓,索夹受到高强螺栓的压紧力并将该压紧力传递给索体,在索夹和索体间产生抗滑移力,达到结构的整体传力要求。
在分析索夹受力时,主要考虑拉杆对索夹的拉力和高强螺栓对索夹的压紧力。在进行有限元模拟分析时,因拉索、拉杆和螺栓本身结构较复杂,为减少计算量,对这些部件进行模型简化处理,在模拟分析过程中仅考虑这些部件的传力效果。在分析计算中将拉杆设置为施加力值部件,将拉索设置为被动约束部件(图11)。

(a) (b)
图11 索夹分析模型示意(计算机截图)
(a)计算模型;(b)载荷与约束
1—简化拉杆;2—销轴;3—索夹;4—简化拉索;
5—简化螺栓组件
由图12可看出,索夹在工作状态下的应力和变形情况,由于索夹为左右两半式,在受到拉杆对其的拉力时,由于销轴受拉杆拉力作用发生弯曲变形,索夹的销轴孔所受到销轴传递给其的压力并非正压力,故出现了局部的应力集中和应力分布不均匀现象,从应力和变形云图可较直观地分析出这一现象。

(a) (b) (c) (d)
图12 索夹有限元分析结果示意(计算机截图)
(a)索夹整体组件应力分析;(b)索夹应力分析;(c)索夹整体组件变形分析;(d)索夹变形分析
同时,由图12(d)可看出索夹下端受拉索的相互作用力出现了变形较大的三角形区域,该处的力值会作用到下端的螺栓组件上。通过分析有限元的应力和变形云图,可直观地看出在工作状态下索夹各部件之间的相互作用,为该索夹的设计提供了理论性的参考数据。
(1)对索节点进行深化设计时,需做到结构传力路线明确、保证结构安全、便于制作和安装;同时整个设计过程须与施工方式相结合,其结构形式直接关系到施工方式的可行性和难易程度。
(2)索节点在结构设计过程中,需考虑节点的构造要求、功能要求及与施工设备相配合使用等
要求。
(3)对索节点的安全性分析主要考虑拉索与节点的连接强度、节点力学性能及力学分析方法等,其中有限元法是一种较常见的力学分析方法,通过有限元分析可直观地看出节点受力后的应力分布情况,为节点结构形式的改进和材质选用提供参考依据。
转自:建筑技术杂志社
推荐资料(点击文字跳转):
知识点:屋盖预应力索节点深化设计
全部回复(1 )
只看楼主 我来说两句 抢板凳拉索与节点的连接强度、节点构造要求、节点功能要求和节点的力学性能。索结构节点构造应符合计算假定,应做到传力路线明确、确保安全并便于制作和安装。本工程涉及的索节点主要包括锚固节点和索夹节点。
回复 举报