土木在线论坛 \ 电气工程 \ 电气资料库 \ 纯液体饱和蒸气压测定实验的改进

纯液体饱和蒸气压测定实验的改进

发布于:2022-11-25 10:27:25 来自:电气工程/电气资料库 [复制转发]

知识点:饱和蒸气压

在一定温度下,与纯液体处于相平衡的蒸气所具有的压强称为该液体在该温度下的饱和蒸气压。饱和蒸气压是液体物质的基本性质参数,是很多科研和生产过程中经常需要了解的基础数据,在大学物理化学实验课中普遍开设了液体饱和蒸气压的测定实验,这个实验结果可以很好地验证热力学在单组分系统相平衡中的应用。即液体饱和蒸气压 p 与温度 T 的关系符合克劳修斯-克拉贝龙方程:

ln = - vap m 1+C

式中, vap m H D 是液体的平均摩尔蒸发焓,在温度变化范围不大时,近似作为常数。其主要实验测定方法有静态法和动态法,大多数学生实验采用的是静态法[1–3]。静态法是在一定温度下,通过调节外 压与液体蒸气压相等来进行的。

实验的关键是:

(1) 保证相平衡时的气相为纯液体蒸气;

(2) 准确测定相平衡时的温度;

(3) 方便有效地调节外压与液体蒸气压相等。

1、现行实验装置存在的主要不足

目前教材中该实验的测量原理如图 所示。

其等压计平衡管由 a、b、c 管构成,待测液体装在等压计平衡管中。测定过程是在一定温度下,当 a 球液面上为待测液蒸气,通过调节活塞 6 和活塞 5 使平衡管中的 b 和 c 管的 U 型管液面相平,则 a 球液面上的蒸气压可通过真空压力计测出,即为液体在该温度下的饱和蒸气压。

该装置存在的主要不足是:

(1) 等压计拐弯多且一端封闭,装液操作不便、费时,容易损坏。

(2) 等压计 U 型管中液体少、液柱短,在通过活塞 6 和活塞 5 调节 U 型管液面相平时,经常导

致空气倒灌入等压计中,使得 a 球液面上的蒸气不纯,不得不重新抽气,因抽气次数增多,U 型管

中甚至 a 球中液体容易被抽干致使实验失败,必须重新装被测液体。

(3) 等压计 a 球液面上蒸气是否为纯的待测液蒸气,无法用有效简便的方法检查确定。

(4) 等压计 a 球中是纯液体,没有气化中心,容易产生过热现象。

(5) 温度计装在水浴中,测定的不是等压计中气液两相平衡的温度,误差大。

图片

(图片来源:大学化学资料)

2、装置设计改进

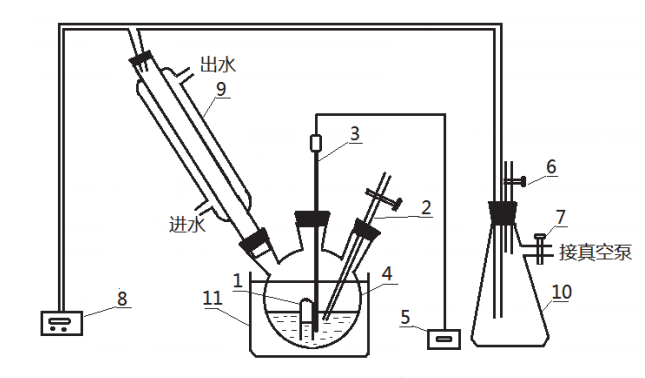
本文新改进的液体的饱和蒸气压测定装置如图 2 所示。其等压计是用一支小试管倒置浸入三口烧瓶中的待测液而成,小试管捆绑在温度传感器上,同时在烧瓶中加装两通毛细管。在一定的温度 下,当小试管内仅为饱和蒸气且内外液面高度相等时,则烧瓶液面上压力即为该温度下液体的饱和 蒸气压,可由压力计测定出。由于烧瓶液面面积大,在小试管内外压变化过程中,烧瓶液面高度基 本不变,只需要观察小试管内液面高度即可。该装置的特点是可以防止放气过度引起空气倒灌入等 压计,测定的温度是两相平衡的温度,而且可在同一容器中观察放气的过程和小试管内外液面高度变化的过程。

图片

(图片来源:大学化学资料)

3、实验步骤方法

3.1 仪器安装

按图 2 所示连接安装相关仪器。向烧瓶中加入适量的待测液,使小试管口浸入待测液中约 1–2 cm,毛细管口在液面下 3–5 mm。在水浴烧杯中加水,使水面超过烧瓶中待测液面。

3.2 抽真空、系统检漏

开所有阀门及毛细管两通活塞,开真空泵,开冷却水。真空泵运转正常后,关闭阀门 6 及毛细管两通活塞,开数字压力计和测温仪,待抽至压力约等于待测液在室温下的蒸气压后,关闭阀门7,观察压力计示数,若在 3–5 min 内无明显变化,则表明系统不漏气。否则应逐段检查,排除漏气原因。

3.3 检查等压计是否有残存空气

开真空泵,开加热器,观察烧瓶中小试管口,当有气泡冒出约 3–5 min 后,关加热器,开两通活塞,可以看到待测液迅速充入小试管。如果小试管里无气泡,则等压计小试管里无残存空气,如果小试管里有气泡,则等压计小试管里有残存空气,需要重新抽气排空气。

3.4 系列温度下液体蒸气压的测定

3.4.1 升温操作法测定

当等压计小试管里无残存空气,关闭两通活塞,开加热器加热到一定温度,打开阀门 7 对系统抽气,待小试管口有气泡冒出时,关闭阀门 7 及加热器,缓慢旋转两通活塞,通过观察毛细管口冒出的气泡量及大小调节两通活塞的开度,当小试管内液面与烧瓶液面高度相等时即可读数记录测温仪、压力计示数,即得一组数据。如果放气过量,则打开阀门 7 对系统抽气,直到小试管口有气泡冒出时关闭阀门 7,再缓慢旋转两通活塞进行调节,直到小试管内液面与烧瓶液面高度相等即可读数;也可以在放气过量时,开加热器适当加热,小试管内液面降低,小试管内液面与烧瓶液面高度相等时读数。

测得一组数据后,开两通活塞至系统压力增加 1–2 kPa,开加热器到小试管口有气泡冒出时,缓慢旋转两通活塞,直到小试管内液面与烧瓶液面高度相等即可读得第二组数据。重复上述操作,记录 5 到 7 组数据。

3.4.2 降温操作法测定

当等压计小试管里无残存空气,打开阀门 7,对系统适当抽气,使系统压力比大气压低 1–2 kPa,关闭阀门 7,开加热器,小试管口有气泡冒出时,关闭加热器,缓慢旋转两通活塞,调节至小试管内液面与烧瓶液面高度相等时,即可读数记录测温仪、压力计示数,即得一组数据。

测得一组数据后,开阀门 7 对系统抽气至系统压力降低 1–2 kPa,小试管口有气泡冒出,关闭阀门 7,系统降温,小试管内液面上升,当小试管内液面与烧瓶液面高度相等即可读得第二组数据。如此操作,记录 5 到 7 组数据。

升温和降温操作法都可以测定。升温操作法控制得好,基本上只需要一次抽气,可以避免真空泵运转的噪音。降温操作法只需要一次加热,但是每组数据测定都要开真空泵抽气。

实验完毕后,打开阀门 6,使系统和大气相通,再关闭真空泵,关闭有关电源开关。

4、结果与讨论

4.1 等压计

新设计的测定主体装置核心是等压计,其创新之处在于:在温度传感器上捆绑了一个倒置的小试管,这样倒置的小试管和烧瓶中的待测液就组成了一个等压计。当小试管内外液面高度相等时,则小试管内外压强相等,若小试管内气体为待测液蒸气时,小试管外烧瓶液面的压强即为液体饱和蒸气压。因此,该装置结构简单,更换待测液方便。

由于烧瓶内径大,小试管内径小,在小试管内外压变化过程中,烧瓶液面基本不变,只需要观察小试管内液面即可。当烧瓶液面压强过大时,如果小试管内空气没有排尽,则小试管内有气泡,如果小试管内无空气,则液体装满,外面空气不会倒灌入等压计小试管内。所以该装置的特点是可以防止放气过度引起空气倒灌入等压计待测空间,同时可以用有效简便的方法检查等压计内蒸气是 否纯,使测定操作方便、数据准确。

4.2 放气装置

采用毛细管两通活塞放气,较容易控制气流大小,可以清楚直观看见放气的快慢和多少,且和等压计待测空间在同一容器中,便于观察。在测定过程中也提供了气化中心,避免了液体过热。

4.3 温度测定

温度传感器直接同小试管捆绑在一起,小试管内径小,温度传感器可以直接测量小试管内外待测液的温度,沸点温度测定误差小,数据的准确性更高。

4.4 改进的实验装置和方法测定水的饱和蒸气压

4.4.1 数据记录

被测液体:水;室温:31.22 °C;大气压:97.96 kPa。

4.4.2 数据处理

以 lnp 对 1/T 作图(图 3)。从图 3 可以看出,直线的线性关系好,从直线的斜率可算出此温度范围内液体的平均摩尔气化热 vap m HD 。

图片

图片

(图片来源:大学化学资料)

图片

(图片来源:大学化学资料)



相关推荐链接:

1、GBT 51130-2016 沉井与气压沉箱施工规范

2、发电机励磁整流变低压交流母线短路故障


全部回复(0 )

只看楼主 我来说两句抢沙发
这个家伙什么也没有留下。。。

电气资料库

返回版块

70.18 万条内容 · 793 人订阅

猜你喜欢

阅读下一篇

大气压力重达10吨,人类为何没有被压扁?

知识点:大气压力 综述 以目前的科技水平而言,地球是已知的唯一能探测到生命存在的星体,而在这片孕育生灵的领域中一共生活着850多万种不同的生物,其中动物的数量更是达到了150万种,可是如此庞大的基数下竟然只诞生了人类一种拥有极高的智慧和能力的生物。 换个角度来说,地球赋予了人类极高的智慧,而人类又使用这些智慧进行不断的研究和探索地球生命的来源。

回帖成功

经验值 +10