土木在线论坛 \ 施工技术 \ 工地图片 \ 建筑管道领域用管道伸缩节

建筑管道领域用管道伸缩节

发布于:2022-11-24 14:03:24 来自:施工技术/工地图片 [复制转发]

管道被应用于许许多多的方面,为便于运输,一般管的长度不会太长,这样就需要管接的存在,并且其一直被普遍使用,管接与管的连接密封问题一般在管接和管的衔接螺纹处通过添加麻丝等密封材料解决,然而由于水压、人为等因素,可能造成某个环节密封不严。

如果管线铺设较长,有些部位需短管衔接,此时万一计算错误或修改,就需废掉此短管重新切割足够的短管,会造成浪费。

本新型方式的目的是提供一种通过伸缩调节两个管长度的管道伸缩节。 

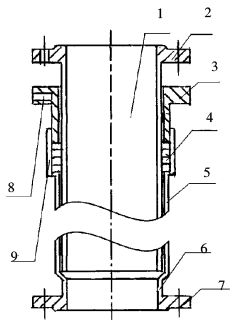
本新型方式中的伸缩管插入伸缩套管内部,伸缩套管一端为带有内螺纹的填料腔,另一端为内径小于伸缩套管内径的短节;伸缩管另一端有伸缩管法兰,短节端部有短节法兰;填料腔内部填充软质密封填料,在伸缩管外套有紧压螺旋,紧压螺旋下端插在填料腔内部,并且紧压螺旋下端有与填料腔的内螺纹相匹配的外螺纹;在紧压螺旋的外壁上有旋接孔,旋接孔有方便旋转紧压螺旋的功能(图1)。

图片

图1??伸缩管构成示意

1—伸缩管;2—伸缩管法兰;3—螺旋;4—密封填料;5—伸缩套管;6—短节;7—短节法兰;8—旋接孔;9—填料腔

应按以下内容进行使用操作。

(1)首先将伸缩管穿过紧压螺旋,并插入伸缩套管内部,然后将紧压螺旋尽量向伸缩管的法兰方向拨动,以将填料腔完全让出。

(2)向填料腔内部填加填料,尽量填满,然后将紧压螺旋的下端插入填料腔,并旋转紧压螺旋,在螺纹的作用下,紧压螺旋向填料腔内部推进,同时使填料被压紧,在无法旋动紧压螺旋后停止,此时填料不但将伸缩管与伸缩套管间的间隙密封,同时侧面牢固地将伸缩管和伸缩套管把持住,既起到密封作用,又起到紧固作用。


转自:建筑技术杂志社


推荐资料(点击文字跳转)

管道工程常用受力支墩设计大样标准图

管道横断面及支墩详图


知识点:建筑管道领域用管道伸缩节

  • 敬于才华
    敬于才华 沙发

    伸缩套管一端为带有内螺纹的填料腔,另一端为内径小于伸缩套管内径的短节;伸缩管另一端有伸缩管法兰,短节端部有短节法兰;填料腔内部填充软质密封填料,在伸缩管外套有紧压螺旋,紧压螺旋下端插在填料腔内部,并且紧压螺旋下端有与填料腔的内螺纹相匹配的外螺纹;在紧压螺旋的外壁上有旋接孔,旋接孔有方便旋转紧压螺旋的功能

    2023-01-22 11:11:22

    回复 举报
    赞同0

工地图片

返回版块

50.2 万条内容 · 382 人订阅

猜你喜欢

阅读下一篇

施工临时用电安全管理

施工临时用电安全管理

回帖成功

经验值 +10