1 已施工完塔式起重机基础概况
某项目安装一台TC6515塔式起重机,由于塔式起重机基础土层位于
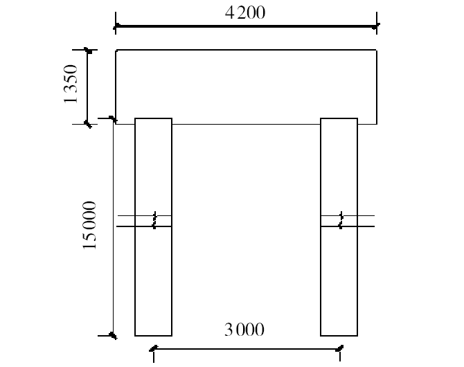
②-1粉质粘土层,地基承载力特征值为80?kPa,不能满足塔式起重机说明书中地基承载力200?kPa的要求,所以采用了桩承台基础。承台为4.2?m×4.2?m×1.35?m,配筋双层双向?22@140,架立筋?12@280,承台混凝土强度等级为C35。塔式起重机桩采用钻孔灌注桩,共计4根,每根桩长15m,每根桩配筋818,箍筋?8@200,桩身混凝土强度等级为C30。已施工完成的塔式起重机基础大样如图1、图2所示。

图1??塔式起重机基础平面示意

图2??塔式起重机基础立面示意
现在大多数项目部技术人员计算过程都非手算,而是通过软件进行计算(如品茗、筑龙等),只需输入相关参数即可,所以较多技术人员对计算原理、相关公式都不是太熟悉。如塔式起重机现场基础施工完成后技术人员发现在输入参数时有误,地勘报告上提供的极限侧阻力和端阻力都是标准值,而软件中需要输入的是特征值,特征值应取标准值的一半,但技术人员直接输入标准值,导致计算结果不正确。
2 处理方法
由于塔式起重机基础受现场条件的限制,不太可能重新更换位置,可考虑采用补桩的同时加大承台的做法进行加固处理。
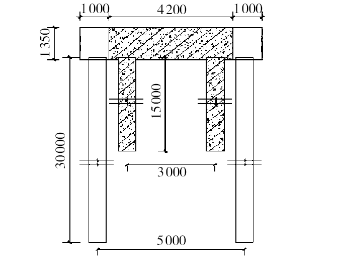
塔式起重机基础平行建筑物的一侧,承台每边加大1?m,承台尺寸为6.2?m×4.2?m×1.35?m,配筋不变,混凝土强度等级为C40。扩大部分每侧再增加2根直径600?mm的钻孔灌注桩,桩长30?m,每根桩配筋818,箍筋8@200,桩身混凝土强度等级为C30。加固后的塔式起重机基础大样如图3、图4所示。

图3??加固后塔式起重机基础平面示意

图4??加固后塔式起重机基础剖面示意
扩大承台部分底筋采用植筋处理,植筋深度15?d,钢筋规格为22@140。面筋凿除原混凝土层,将新旧钢筋进行焊接处理,单面焊10?d,双面焊5?d。在承台中间位置设置两排构造钢筋,植筋深度15?d,锚入新承台长度500?mm,钢筋规格18@300,上下层错开150?mm,增加新旧承台连接整体性。新、老承台混凝土交接位置进行凿毛处理,用清水冲洗干净,浇筑混凝土前刷与承台混凝土配合比相同的水泥浆进行接浆处理,扩大部分承台混凝土强度等级为C40。之后对塔式起重机基础加固方案进行专家论证,同时报当地安监站。承台扩大部分具体施工大样如图5所示,现场施工图如图6所示。

图5??承台扩大部分做法示意

图6??承台加大施工现场
3 桩承台塔式起重机基础设计时的注意事项
(1)在塔式起重机基础计算时根据塔式起重机位置从地勘报告中找出相应的剖面和点位,了解每个土层的相关参数信息,从塔式起重机说明书中找出塔式起重机独立高度、塔式起重机自重、工作状态下起重荷载、竖向荷载、水平荷载、倾覆力矩、非工作状态竖向荷载、水平荷载、倾覆力矩等参数信息。
(2)塔式起重机基础桩属于抗拔桩,尽量采用灌注桩,但现在较多项目工程桩是预应力管桩,相关施工单位为了施工方便,对于塔式起重机桩也采用了预应力管桩。管桩如果有接桩的情况只能以最上面那段长度进行计算,同时桩与承台的连接采用抗拔连接方法。
(3)如塔式起重机设置在大底板上,基础顶标高尽量和底板面标高齐平,应无积水隐患。如塔式起重机设置在基础外,基础顶标高也尽量和土方开挖面持平,以防土方开挖时覆土深度不够,影响整体稳定性。
(4)塔式起重机基础一般采用4桩承台,桩中心距一般大于4倍桩径,桩中心至承台边不得小于1倍桩径,同时桩外边缘到承台边缘不得小于250?mm。如地质非常差或塔式起重机基础设置在斜坡上可以考虑5桩承台。
(5)极限侧阻力和端阻力标准值大小是特征值的2倍,在输入软件参数时不应有误。
(6)桩端承载力建议伸入持力层2倍的桩径。
(7)钻孔灌注桩主筋的间距应不大于200?mm。
4 结束语
塔式起重机基础尽量采用说明书上的方式进行施工,如现场条件不允许采用桩承台基础,塔式起重机基础方案最好经过厂家技术部门复核或经过专家论证,保证方案可行。如后期对塔式起重机基础进行加固处理,损失会比较大,同时影响塔式起重机安装,继而影响现场进度。本文还阐述了在桩承台塔式起重机基础设计过程中的一些注意事项,为同行技术人员提供参考借鉴。
转自:建筑技术杂志社
推荐资料(点击文字跳转):
知识点:塔式起重机基础承载力不够的处理方法
0人已收藏
0人已打赏
免费1人已点赞
分享
建筑施工
返回版块66.02 万条内容 · 1639 人订阅
阅读下一篇
埋入地下物件不吊,为什么?施工从业人员可能都知道起重吊装“十不吊”中有一项是“埋入地下物件不吊”,但不是所有人都知道为什么不能吊。 在此就来深度剖析“埋入地下物件不吊”的原理,洞悉起吊埋入地下物件的危害性,再延展研究哪几种工况可能会造成类似的危害。 1 起吊埋入地下物件的危害性剖析 从字面上理解,“埋入地下”就是起吊物部分或全部被土体或其他物体(以下简称约束物)埋住,约束物对吊物就存在一个约束力,这个力的大小跟吊物的形状、埋入深度、接触面大小、约束物的物理特性都有关系,非专业人士根本不能准确计算其大小,绝大部分塔式起重机司机、指挥工、司索工都不具备估算其大小的能力。
回帖成功
经验值 +10
全部回复(0 )
只看楼主 我来说两句抢沙发