目前,鉴于铝合金模板自身重量小,连接方式多采用楔片或者销钉,拆装简单,便于施工操作,在建筑工程中广泛应用。
同时,操作过程中人工搬运即可,省去对设备的依赖,施工效率大幅提升。随着铝合金模板的普及,墙体铝合金模板中的水平杆及斜支撑杆也得到广泛应用。但由于目前无专用的辅助工具对水平杆及斜支撑杆进行固定,存在水平杆及斜支撑杆受力点定位不准确、在建筑结构面上植筋设置受力点破坏混凝土楼面或其他结构面等问题。
1 具体实施方式
以下结合附图对本技术方案进行清楚、完整的描述。
墙体铝合金模板用支撑杆定位装置如图1所示,包括定位杆1和预埋在建筑结构面内的定位件3,定位杆1的两端通过限位结构与定位件3配合相连;定位杆1的中部设有用于与水平杆及斜支撑杆端部相连的定位调节结构,用于调节水平杆及斜支撑杆的位置并固定。通过在建筑结构面内预埋定位件,定位杆借助限位结构确保定位杆与预埋定位件的准确定位连接;并通过定位杆中部的定位调节结构实现水平杆及斜支撑杆的位置调节及连接固定,起到对水平杆及斜支撑杆提供受力点的作用,避免水平杆及斜支撑杆的受力点损伤建筑结构面的现象发生。

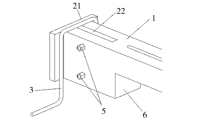
图1??墙体铝合金模板用支撑杆定位装置的结构示意
1—定位杆;2—T形限位板;21—挡板;22—插板;3—定位件;4—连接螺栓;5—紧固螺栓;6—凸台;8—定位滑槽
定位调节结构包括设置于定位杆1中部的定位滑槽8及能够与水平杆及斜支撑杆端部相连的连接螺栓4,定位滑槽8垂直贯穿定位杆1的中部、且沿定位杆1的长度方向设置;连接螺栓4贯穿定位滑槽8四周,连接螺栓4的端部与紧固螺母配合,连接螺栓4的螺帽及紧固螺母分别设置于定位滑槽8的两侧。根据墙体铝合金模板用水平杆及斜支撑杆的安装位置,调节连接螺栓在定位滑槽中的位置,操作灵活方便(图2、图3)。

图2??定位杆的结构示意
1—定位杆;5—紧固螺栓;8—定位滑槽;10—插槽

图3??连接螺栓与定位杆的配合示意
1—定位杆;21—挡板;22—插板;3—定位件;5—紧固螺栓;6—凸台
定位杆1的截面为矩形,定位杆1的两端底部设有凸台6。采用该结构的定位杆,能够为连接螺栓的下端提供操作空间,方便滑移连接螺栓并固定。
限位结构包括T形限位板2和紧固螺栓5,T形限位板2包括相互垂直的用于对定位件3限位的挡板21和插板22,挡板21与定位杆1的端部抵接,插板22与定位杆1端部的插槽10配合;定位杆1的两端及插板22的侧面对应设有与紧固螺栓5配合的定位孔7。采用该结构的T形限位板能够对定位件及定位杆进行限位,避免定位杆左右滑移(图4)。

图4??T形限位板与定位杆的连接示意
1—定位杆;21—挡板;22—插板;3—定位件;5—紧固螺栓;6—凸台
所述插槽10垂直贯穿定位杆1的两端。在安装T形限位板时,将T形限位板直接向下插入插槽内即可,操作方便快捷。
定位件3为几字形预埋钢筋,预埋钢筋的2个自由端浇筑于楼板内,定位杆1的两端与预埋钢筋的中部矩形孔相匹配;挡板21的顶部及其两侧边缘凸出于预埋钢筋的对应边缘。操作时,将定位杆依次贯穿2个几字形预埋钢筋,并在定位杆两端安装T形限位板,对预埋钢筋进行限位并固定定位杆。
另外,可在建筑结构面内预埋2个定位销,在定位杆的两端设置与定位销配合的长条形豁口。或在建筑结构面内对应定位杆两端位置分别预埋2个定位螺栓,定位杆的端部置于2个定位螺栓之间,顶部采用压板压紧定位杆,压板的两端设有与定位螺栓配合的通孔,定位螺栓的螺纹部穿过通孔与螺母配合,实现对定位杆的压紧固定。
具体制作时,所述定位杆1及T形限位板2均为钢制构件,T形限位板由2块钢板焊接固定;连接螺栓4及紧固螺栓5均为高强度螺栓。
预埋钢筋的直径为10?mm,连接螺栓4及紧固螺栓5均为M14的高强度螺栓;定位杆1的总长为长3?m、宽10?cm,定位杆1的两端凸台6长度为20?cm,定位杆1的中部高7?cm、两端高15?cm;定位滑槽8的长度为2.4?m、宽14?mm、高7?cm;T形限位板2的挡板21及插板22厚2?cm、高15?cm,插板22的长度为15?cm。另外,连接螺栓4选用M14×140的高强度螺栓,紧固螺栓5选用M14×120的高强度螺栓。
本装置具有结构简单紧凑、操作方便快捷的优点,通过定位杆上的连接螺栓对墙体铝合金模板水平、斜支撑杆的端部进行固定,提供水平杆及斜支撑杆的受力点,有效保证了铝模模板斜支撑杆的稳定性,避免在建筑结构面上植筋设置受力点,有效保护建筑结构面的外观。本装置制作成本低廉,能够循环利用,进一步降低了使用成本,方便推广应用。
2 使用优势
墙体铝合金模板用支撑杆定位装置,涉及建筑模板施工技术领域,包括定位杆和预埋在建筑结构面内的定位件,定位杆两端通过限位结构与定位件配合相连;定位杆中部设有定位调节结构,用于调节水平杆及斜支撑杆的位置并固定。
本装置用于建筑工程结构主楼墙体铝制模板施工时所用水平支撑杆、斜支撑杆的定位及稳定加固,定位杆借助限位结构确保定位杆与预埋定位件的准确定位连接;并通过定位杆中部的定位调节结构实现水平杆及斜支撑杆的位置调节及连接固定。本装置可以循环使用,能够有效保证铝模模板水平杆及斜支撑杆的稳定性,避免了在结构面上植筋设置受力点的情况,起到保护建筑结构面的作用。
转自建筑技术杂志社
知识点:墙体铝合金模板用支撑杆定位装置
0人已收藏
0人已打赏
免费1人已点赞
分享
建筑施工
返回版块66.02 万条内容 · 1639 人订阅
阅读下一篇
悬挑式脚手架搭设高度检查安全方案时发现项目部编制悬挑架方案中,搭设高度为20?m,是不对的,应低于20?m,如19.8?m,理由如下。 1 原因分析 (1)在扣件JGJ?130—2011《建筑施工扣件式钢管脚手架安全技术规范》中,高层双排脚手架应采用分段搭设。6.10.1规定,一次悬挑脚手架高度不宜超过20?m。 (2)住建部37号令《危险性较大的分部分项工程安全管理规定》及山西省住建厅《危险性较大的分部分项工程安全管理实施细则》附件2脚手架工程第3条规定,分段搭设高度20?m及以上的悬挑式脚手架工程,明确为超过一定规模的危险性较大的分部分项工程范围。
回帖成功
经验值 +10
全部回复(0 )
只看楼主 我来说两句抢沙发