土木在线论坛 \ 建筑结构 \ 岩土工程 \ 关于滑坡推力分布的疑问

关于滑坡推力分布的疑问

发布于:2022-10-18 16:54:18 来自:建筑结构/岩土工程 [复制转发]

《公路滑坡防治设计规范》(JTG/T 3334-2018)的7.4.5条文关于滑坡推力在抗滑桩背的分布表述如下:滑坡推力的分布应根据滑体的性质和厚度等因素确定,可为矩形、梯形。

相应的条文说明:滑坡推力分布形式影响因素较多,主要与滑体的岩土特性、滑动面的形状、地层性质等因素相关,很难给出各种滑坡准确的推力分布图形。……

然而至目前为止,滑坡推力分布的理论还不成熟,工程设计计算中滑坡推力的分布形式仍然采用基于滑体性质分类的近似分布形式。当滑坡体上下各层滑动速度基本一致时,其推力分布图形近似为矩形分布;当滑体底部滑动速度明显大于上部时,其推力分布图形近似为三角形分布。介于上述两者情形之间时,假定为梯形分布。滑坡推力采用三角形分布偏于不安全,且为室内模拟试验结果,工程实际验证不够。综合以上因素,规定滑坡推力采用梯形或矩形分布是安全的。

对于此条文和相关的条文说明,笔者存在一些疑问,在此探讨,不妥之处敬请谅解。

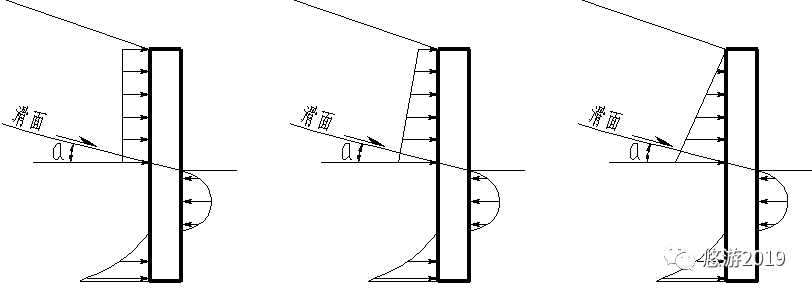
1、在现行国标和铁标的相关滑坡防治规范中,关于桩背推力的分布简述如下:

依据滑体性质等分为矩形、梯形和三角形三类。且表述滑体的完整性较好时可采用矩形分布,滑体呈现松散状可采用三角形分布,介于两者之间的滑体密实度较好时可采用梯形分布。

图片

图1 桩背推力分布图

2、作用于桩背的滑坡推力与滑体的完整性具有密切关系,根据张倬元等编著的《工程地质分析原理》,滑坡依据变形特征可分为蠕滑拉裂、滑移拉裂、塑流拉裂、压致拉裂、弯曲拉裂和滑移弯曲六种形式。其中

1)当松散富水的堆积体,为依附于滑面变形的蠕滑拉裂模型时,往往表现为滑体底部的滑速大于上部滑体,因此,桩背推力可假定为三角形分布。当滑体为含水量较少,且滑体的胶结较好和密实度较好时,桩背推力可假定为梯形分布。

2)当完整性较好的滑体,为依附于坡体中的固定软弱面或带形成滑移拉裂、塑流拉裂、压致拉裂变形模型时,滑体上部与下部滑动速度近于一致,因此,桩背推力可假定为矩形分布。

3)关于滑移弯曲变形模型,实为顺层边坡发生的溃曲变形特征。因此,在溃曲部位时可依据岩体的破碎程度和结构面形态,滑桩背推力分布图可选用梯形、三角形或矩形分布图;在非溃曲部位的顺层滑体段时,由于滑体上部与下部滑动速度近于一致,故抗滑桩背推力分布图可假定为矩形分布。

4)关于弯曲拉裂模型:实为倾倒式体滑坡变形特征,是岩体依附于岩体转折端形成的滑面发生的滑坡病害,岩体完整性呈多样化,但明显较松散的堆积体好,故抗滑桩背推力分布图可依据具体岩体完整程度假定为矩形或梯形分布。

3、正如《公路滑坡防治设计规范》所说,滑坡推力分布形式影响因素较多,很难给出各种滑坡准确的推力分布图形,甚至可能是滑坡推力分布的理论还不成熟。但认为滑坡推力采用三角形分布偏于不安全,且为室内模拟试验结果,工程实际验证不够,从而规定滑坡推力采用梯形或矩形分布的结论是值得商榷的。

岩土工程贯彻的是概念设计的宗旨。尤其是岩土工程往往存在实践走在理论前面的情况下,在合理的边界条件下,依据合理的地质模型,以及在此基础上忽略次要因素建立的概念模型,结合现有理论基础和工程经验建立有效而不那么精确的计算模型,是安全、经济解决岩土工程问题的根本。

岩土工程作为一门实用性的学科,合理的经验具有不可替代的作用,也就是说,岩土工程的应用不应等到理论完全成熟后方可应用,而应依据安全、经济的基本原则,在实践中不断发展理论,在理论研究中不断指导实践。

抗滑桩自1966年由铁科院西北研究所研发以来,半个多世纪广泛应用于岩土工程病害治理,积累了相当丰富的工程经验和相当丰富的理论研究,有效指导了抗滑桩工程的实践应用。其中就抗滑桩背的推力分布形式而言,依据具体的地质体性质等采用矩形、梯形和三角形分布形式,是半个多世纪以来我国抗滑桩成功应用的基础。

尤其是随着计算机和岩土工程的发展,采用数值模拟不同地质体在抗滑桩背的推力分布,是行之有效的。当然,考虑到岩土体的离散性、多相性和变异性,完美的对不同地质体在在抗滑桩背的推力分布进行量化是不可能的,因为,这是岩土体的基本特性决定了的。

综上,建议对滑坡推力的分布宜依据地质体的特征等,针对性地选用矩形、梯形和三角形分布形式,而不应认为三角形分布不安全而加以摒弃,这是由工程的安全性和经济性共同决定了的。否则,放弃工程的经济性而过分追求工程的安全性是不可取的。

内容源于网络,仅作分享使用,如有侵权,请联系删除 

相关资料推荐:

滑坡稳定性计算及滑坡推力计算

某水库左坝肩上坝公路边坡滑坡治理施工设计方案

知识点:滑坡推力分布

全部回复(0 )

只看楼主 我来说两句抢沙发
这个家伙什么也没有留下。。。

岩土工程

返回版块

1.59 万条内容 · 389 人订阅

猜你喜欢

阅读下一篇

圬工挡墙墙身材料的选用

目前挡墙圬工材料最为常用的是浆片(块)石挡墙或混凝土与钢筋混凝土三类,应依据挡墙的类型特征、稳定性和相应的工作环境合理选用。 1、圬工挡墙依据结构支挡特征可分为重力式、半重力式和轻型三类。其中重力式挡墙材料选用比较广泛,可依据工程需要选用浆砌片(块)石、混凝土材料,而轻型挡墙多采用钢筋混凝土材料。 2、挡墙的体系的计算主要地基承载力,挡墙的抗滑,抗倾覆和墙身结构的抗压、抗剪、抗弯等要求四个方面。其中墙身结构的

回帖成功

经验值 +10