知识点:转速
转速是反映旋转机械运行状态的一个重要参数,是旋转机械动力力矩、惯性力矩和负载力矩共同作用的结果。通过对转速瞬时值的测量,可以定量了解转动机械内部动力发生装置的瞬时工作状态,了解负载的施加过程,为保障设备正常运转、分析机械瞬态性能、进行机械故障诊断提供依据。
01
测量转速的方法
测量转速的方法主要有4种,分别是机械式、电磁式、光电式和激光式。
1. 机械式
机械式主要利用离心力原理,通过一个随轴转动的固定质量重锤带动自由轴套上下运动,根据不同转速对应不同轴套位置来获得测量结果,原理简单直接。不需额外电器设备,适用于精度要求不高、接触式转速测量场合。
2. 电磁式
电磁式系统由电磁传感器和安装在轴系上的齿盘组成,主轴转动带动齿盘旋转,齿牙通过传感器时引起电路磁阻变化,经过放大整形后形成一个方波电脉冲,通过记录脉冲个数得到转速值。由于受齿盘加工精度、齿牙最小分辨间隔、电路最大计数频率等限制,测量精度不能保证。
3. 光电式
由于光电测量方法灵活多样,可测参数众多,一般情况下又具有非接触、高精度、高分辨率、高可靠性和响应快等优点,加之激光光源、光栅、光学码盘、CCD器件、光导纤维等的相继出现和成功应用,光电传感器在检测和控制领域得到了广泛的应用。
4. 激光式
激光测速传感器是通过激光对被测物的运行速度进行测量并转化成可输出信号的传感器。随着现今精密制造业的崛起和节省成本的需求,非接触激光测速传感器会慢慢取代现在市场上的接触式测速传感器,激光测速传感器已被广泛使用,而现在市场上最常用的非接触激光测速传感器就是ZLS-Px激光测速传感器。同时可以通过计算机技术与测量技术相结合,对被测物进行自动化、智能化的测量控制,这也是测量技术的一种发展趋势。
02
接近开关的推广应用
在自动控制设备中接近开关主要用于位置检测、行程限位、计数、转速测量等。
接近开关是感知近距离内有、无物体的传感器,其输出是开关信号(高电平或低电平)。接近开关广泛应用于工业自动化、自动控制系统中。接近开关主要有以下几大门类:
(1)电感式接近开关(感知金属物体)
(2)电容式接近开关(感知金属、非金属物体)
(3)霍尔接近开关(感知磁性物体)
(4)磁性干簧管接近开关(感知磁性物体)
接近开关,因安装简单方便,只需在放卷轴和主轴的末端各安装一个齿数分别为N0和N1的齿盘,再在齿盘的上方安装接近开关即可。当旋转的轴带着齿盘的齿从接近开关的端面转过,接近开关就产生一个脉冲,计数N0个脉冲,对应的放卷轴就转了一周,同理,一个脉冲代表主轴转一周对于N0=N1 =1的齿盘,则是最简单的齿盘(不需齿) ,这时只需在轴的末端打个洞或装一颗螺丝钉就可以了,对应的轴转一周,接近开关就产生一个脉冲。
03
工作原理
使用时应在被测量转速的轴上装一个齿轮(正、斜齿轮或带槽圆盘都可以)将传感器安装在支架上,调整传感器与齿轮顶之间隙为1mm左右。
当轴旋转时带动齿轮旋转,根据电磁感应的原理在传感器内部线圈的两端产生一个脉冲信号,轴转动一圈时就产生在Z个电压脉冲信号,根据下式:
F =(n/60)*Z
式中:
F为频率,单位:Hz/秒 ;
n为被测轴转速,单位:转/分 ;
Z为齿轮齿数。
当齿轮齿数为60时,就把轴的每分钟转数n转化成频率为F的电压脉冲信号,将此信号送到智能转速表中,就可以反应出轴的转速。
04
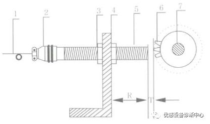
安装使用

图中:
1、输入导线
2、航空插头
3、铜质拼紧螺母
4、同定支架
5、磁性传感器
6、1-99内任意个齿
7、被测轴R:20-25mm, T:1±0.5mm
齿轮要求:
材料:各种导磁钢铁材料均可。
模数:2以上即可。
齿数:1-99齿任意。
05
转速测量常用传感器
转速测量通常有以下几种传感器可选:电涡流转速传感器、无源磁电转速传感器、有源磁电转速传感器等。具体需要选择哪类传感器,则要根据转速则量的要求而定。如:低速测量是否需要检测零转速。
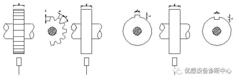
转速发生装置有以下几种:用标准的渐开线齿轮(M1-M5 )作转速发生信号、在转轴上开一键槽、在转轴上开孔眼、在转轴上开凸键等转速发生信号装置。
(1)电涡流转速传感器:
适合测量从零转速以上的任何一转速,对于被测体转轴的转速发生装置要求也很低,被测体齿轮模数可以很小,被测体也可以是一个很小的孔眼,一个小凸键、一个小的凹槽。
(2)磁电式转速传感器测量技术要求:

无源磁电式转速传感器,是针对测速齿轮而设计的发电型传感器(无源),它不需要供电,测速齿轮旋转引起的磁隙变化,在探头线圈中产生感生电动势,其幅度与转速有关,转速越高输出电压越高(0-a段) ,输出频率与转速成正比。转速进一步增高,磁路损耗增大,输出电势已趋饱和(a-b段),当转速超过b,磁路损耗加剧,电势锐减。

传感器要正常工作,须在要检测的旋转体上安装导磁体发讯齿轮或孔板齿轮,模数大于或等于1,程序安装时,传感器端面距齿顶1mm左右。

测量模式:本模块测量由齿盘触发的脉冲信号,并根据两个信号相间隔的时间来计算转速。有两种测量方式:每转n次测量:在此种测量方式下,模块在5..10 ms的时间窗口内采集由测量齿盘处得到的脉冲输入数量,并且由此计算出转速。在这种测量方式下对测量齿盘的精度要求比较高。
每转一次测量:在此种测量方式下,测量出每转所需要的时间,并由此计算出转速。转速为3000 rpm时每转对应时间为20 ms ,转速越高,测量得到的时间就越短。这种测量方式可以很精确地测量转速,因为在轴旋转一周后测量齿盘可能引起的误差被中和了。测量齿盘和传感器的安装角度:

测量齿盘的加工精度越高,对转速的测量就越精确。对于量程范围为±1mm的涡流传感器来说,推荐使用齿深为1mm的测量尺盘。传感器的安装形式应如上图所示,当一只探头正对齿面时,第二只传感器对应着部分齿面,第三只传感器应对准齿轮的凹陷处。这种安装方式对于精,确测量转速以及判断旋转方向至观重要。
相关推荐链接:
0人已收藏
0人已打赏
免费1人已点赞
分享
成套电气设备
返回版块15.97 万条内容 · 619 人订阅
回帖成功
经验值 +10
全部回复(0 )
只看楼主 我来说两句抢沙发