土木在线论坛 \ 建筑设计 \ 建筑构造 \ 清《工程做法则例》中的木构架构造

清《工程做法则例》中的木构架构造

发布于:2022-09-29 16:43:29 来自:建筑设计/建筑构造 [复制转发]

明清时期木构架类型主要有抬梁式木构架、穿斗式木构架、干阑式木构架和井干式构架。

知识点1:清《工程做法则例》时期的木构架类型

需要清楚

明清时期的木构架

(1)抬梁式木构架,又称叠梁式木构架,即在屋基之上立柱,沿房屋进深方向在柱顶架梁,梁上安置短柱,柱上再置短梁,按步架逐层缩短,直至屋脊,然后在梁头架檩,檩上布椽,面阔方向以枋连接。在明清木构架中,抬梁式木构架应用最为广泛,多用于官式建筑和北方民间建筑。

图片

(2)穿斗式木构架,又称立贴式,是先用穿枋把柱子串联起来,形成一榀榀的房架,檩条直接搁置在柱子上,沿檩的方向,再用斗枋把房架与柱子串联起来,由此形成一个整体框架。这种构架形式多用于江西、湖南、四川等南方地区,而且常常与抬梁式混合使用,如抬梁式用于中跨,穿斗式用于山面,发挥各自的优势。

图片

(3)干阑式木构架,又称为“悬虚构屋”。先在地面上打木桩,桩间架梁枋形成稳定的柱网底架,上铺木地板,构成房屋木构基架,再在其上架立房屋木构架,上部房屋构架可以是抬梁式也可以是穿斗式。干阑式木构架多用于我国西南少数民族地区的民居。

图片

(4)井干式构架,采用原木横置,层层叠压形成井壁状木构墙壁和三角形山墙,在山墙之上直接架檩布椽。井干式构架多用于东北和西南多木地区的民居。

图片

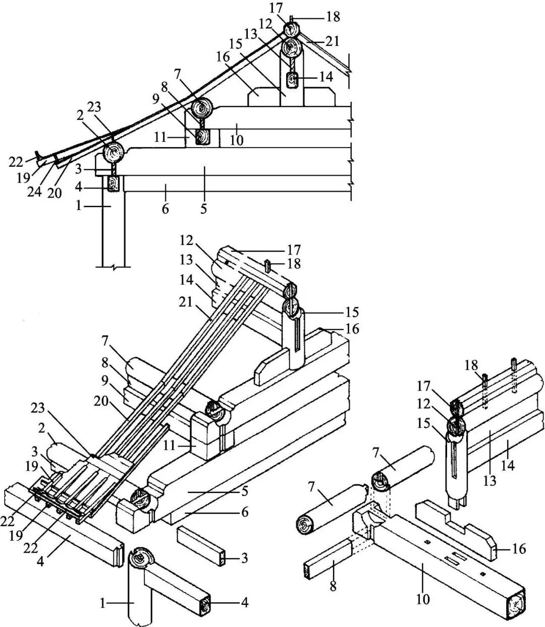
明清建筑木构架示意图

图片


图片

 落地柱在平面中的位置

图片


图片

清式梁架分件图

图片



知识点2:江南木构架的类型及构件

需要清楚

江南木构架的类型

(1)江南木构架类型,江南木构架类型主要有抬梁式和穿斗式两种。穿斗式结构广泛应用于山区,在平原地区多用于硬山边贴部位。

(2)建筑类型,依旧《营造法原》所述,江南建筑类型主要有三类,即殿庭类、厅堂类、普通房舍

(3)殿庭类建筑,一般为寺庙建筑和皇家建筑群中规模、体量最大,位置最重要的建筑。该类建筑通常设有斗栱,大多为歇山屋顶。

(4)厅堂类建筑,广泛使用于江南民居、园林中的主要建筑。按照其梁类构件做法的不同可以分为“厅”和“堂”两种,厅的梁断面为方形,堂的梁断面为圆形。厅堂类建筑屋顶多为歇山或硬山,室内多使用轩架。

图片

(5)普通房舍,除了殿庭类、厅堂类以外的建筑。江南木构架特征,是以四界大梁为主体,房屋六界进深,则前后各加一步廊川,房屋七界进深,前部加廊川,后部加双步梁,房屋八界进深,前后各加双步梁。若界深继续增加,则改以六界大梁。

图片

(6)江南木构架木构件几个重要名词

贴式屋架:江南古建筑中,对一列包括柱、梁、枋等组成的一组木结构排架称为一贴。根据所处的位置不同分为正贴、次贴、边贴。设在中间位置则称为正贴,设置在正贴两侧的称之为次贴,设置在建筑左右两端的则称之为边贴。

界与界深:同一贴屋架中,相邻两柱(或两桁架)之间的水平距离称为一界。作为计算建筑进深的单位。界深为界的具体尺寸,相当于《工程做法则例》中的步架。界深按建筑的规模不同有三尺五、四尺、四尺五,最大为五尺。《营造法原》采用鲁班尺作为营造尺,1鲁班尺=27.50cm。

:是江南建筑中,在屋面下增设一道弯弧形顶棚,以增加室内高爽典雅之气氛的一种顶棚装饰。轩从位置上分有前轩、后轩、满轩、廊轩;从顶棚形式上分有茶壶档轩、弓形轩、船篷轩、菱角轩、鹤颈轩、一枝香轩等;从高度上分有抬头轩、磕头轩等。

图片

江南木构架主要构件名称

图片


图片

江南木构架主要构件名称

图片



知识点3:《营造法式》《工程做法则列》《营造法原》屋顶曲线名称不同

需要了解

古建筑的屋顶曲线

(1)我国传统建筑屋顶曲线包含檐口曲线屋面曲线屋脊曲线

图片

(2)檐口曲线,是由于檐柱逐间向两边升起的结果。为了使角部升得更高,除了使用由昂和仔角梁外,还在檐檩端部垫以生头木,形成往上翘的形状,古称翘角

图片

(3)屋面曲线,包括纵向曲线和横向曲线。战国《周礼·冬官考工记》载:“上尊而宇卑,则吐水疾而溜远”。汉代班固《西都赋》:“上反宇以盖戴,激日景而纳光”,表明我国建筑的屋面很早就已经呈曲线了。从唐代南禅寺大殿来看,唐代屋架举高较低,可知早期建筑的屋面曲线一般较为平缓,宋以后举架渐增,则屋面横向曲线也更陡。此外在唐宋时期,由于在建筑梢间的槫上安置了生头木,所以屋面依檩槫的纵向轴线向两端翘起,它与屋面横向曲线相配合,使屋面略呈一双曲面。

图片

(4)屋脊曲线,即在古建筑屋脊部位,呈现出中间低、两边高的曲线状态。

图片

(5)古建筑的屋顶曲线(此处指的是横向曲线)是由若干根折线组成,每根折线长就是屋顶两檩之间的斜距。

图片

(6)其中折线的水平投影长,宋《营造法式》称为椽平长清《工程做法则例》称为步架江南《营造法原》称为界深;

(7)折线的垂直投影长(高度)称为举高。对于确定屋顶折线的方法,宋《营造法式》称为“举折法”,清《工程做法则例》称为“举架法”,江南《营造法原》称为“提栈法”。

图片

 宋·举折法屋顶曲线的确定

图片


图片

清式举架规则

图片


图片

江南·提栈法屋顶曲线的确定

图片


图片

江南·提栈法屋顶曲线的确定


来源:王晓华《中国古建筑构造技术》第二版

知识点:清《工程做法则例》中的木构架构造

  • lijiawei411
    lijiawei411 沙发

    明清时期木构架类型主要有抬梁式木构架、穿斗式木构架、干阑式木构架和井干式构架。

    2022-10-20 09:04:20

    回复 举报
    赞同0
这个家伙什么也没有留下。。。

建筑构造

返回版块

7.65 万条内容 · 194 人订阅

猜你喜欢

阅读下一篇

《宋营造法式》中的木构架构造

宋《营造法式》时期木构架的类型主要有三种,即殿堂(阁)型构架、厅堂(阁)型构架及柱梁作构架三种。 明清时期木构架类型主要有抬梁式木构架、穿斗式木构架、干阑式木构架和井干式构架。  宋殿堂(阁)型构架

回帖成功

经验值 +10