知识点:评定焊接性的原则
标准件是指结构、尺寸、画法、标记等各个方面已经完全标准化,并由专业厂家生产的常用的零(部)件,标准件选用时应按标准紧固件的使用场合和其使用功能进行确定,白车身上焊接的标准件包括:螺母、螺柱、销钉、螺栓等,一般采用凸焊设备进行焊接。
做标准件的焊接评审是指在汽车设计阶段进行标准件的工程化可行性分析,在设计阶段把后期制造工程中可能出现的问题暴露出来,通过产品设变、工艺优化等技术手段解决制造隐患,避免后期制造风险。
在做焊装同步工程分析时,对标准件的评审原则有以下几点:
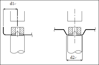
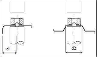
1、凸焊标准件时,钣金件应满足的要求
要求1:d1 ≥ Φ16 平面;d2 ≥ Φ30 平面。见下图。

要求2:d1 ≥ Φ12 平面;d2 ≥ Φ24 平面。见下图。

2、凸焊螺母要求
U形件凸焊螺母的焊接空间应保证在45mm以上,见下图。

凸焊螺母时保证焊接面直径大于螺母外径4mm ,见下图。

凸焊螺母时凸焊下电极臂直径要求,见下图。

螺柱焊焊接时需保证板材直径大于螺柱焊枪枪口直径3mm以上,见下图。

3、同一零件上焊接的标准件焊接方式尽可能统一。
4、免冲压件两面都有焊接螺母的情况。
5、用标准螺母,尤其是内径一样,可以使基准销的尺寸一致,降低费用。
6、如果可能的话,尽量采用M6以上的螺母。
7、冲压件中凸焊面要满足标准焊接电极的尺寸要求,上、下电极都要考虑,尽量避免使用特殊电极。
8、为防止焊错位置,在焊接螺母位置附近加指示标记,如凸包特征。
9、不允许直接在大的钣金件上进行凸焊,零件过大,人工操作不易实现。最大尺寸超过1.5m以上、刚性较差的零件不建议采用凸焊。
10、螺母焊接表面,尽量使同一钣金件上的凸焊在同一方向。倾斜方向角度不易控制,且人工需要换方向焊接,浪费操作时间。
11、 螺母沿轴向旋转不能与钣金件R角或翻边干涉。
12、外表面件不建议采用凸焊。
13、钣件重量超过10Kg ,不建议采用凸焊。
14、凸焊的螺母、螺栓尽可能焊在小零件上,以提高其操作性。
15、螺母、螺栓凸焊通常在单件上焊接,螺柱焊通常在总成状态下焊接(即分总成或总成夹具上), 因此标准件凸焊的工序要前于弧焊、前于螺柱焊,要按照这个顺序分析标准件的焊接空间。
16、标准件凸焊对零件孔径的要求
螺母凸焊、承面螺栓凸焊需在钣金上开孔,通常孔径要求为:
1 螺母凸焊时产品底孔=M+1mm,M为焊接螺母的公称直径(螺纹大径)。
2 螺栓凸焊时产品底孔=M+0.5mm。
3 销轴凸焊时产品底孔=D+0.1 mm,D为销轴的公称直径。
4 英制螺母凸焊时产品底孔=螺纹大径加1后取整。安全带螺母通常为7/16英寸螺母,螺纹大径为Φ11.1125mm,钣金件螺母底孔直径取Φ12mm。
17、凸焊螺母电极空间要求
1 螺母凸焊面必须为平面。
2 螺母凸焊下电极直径大小有Φ32、Φ35、Φ38、Φ42,常用直径为Φ32 ,即普通螺母的凸焊的产品面至少预留Φ32的圆平面。
3凸焊上电极直径有Φ16、Φ20、Φ27, M5螺母常用上电极直径Φ16,M6、M8螺母常用上电极直径Φ20。
4 安全带安装螺母上下电极直径相同,有Φ38、Φ42两种,对于保险带安装螺母上下电极至少需要预留Φ38mm的圆平面。

18、凸焊螺栓两种形式:承面螺栓凸焊、端面螺栓凸焊(钣金件无孔)。

承面凸焊螺柱下孔要求,下底孔直径=凸焊螺栓型号直径+0.5mm
相关推荐链接:
0人已收藏
0人已打赏
免费1人已点赞
分享
输变电工程
返回版块11.1 万条内容 · 658 人订阅
阅读下一篇
这些焊接知识点解决了常见焊接难题知识点:影响焊接性的四大因素 1. 焊接:通过加热或加压,加或不加填充材料,使两个物体进行原子间的结合形成不可分割的整体的工艺过程。 2. 焊接性:指同质材料或异质材料在制造工艺条件下,能够焊接形成完整接头并满足预期使用要求的能力。 3. 影响焊接性的四大因素是:材料,设计,工艺及服役环境。 4. 评定焊接性的原则主要包括:①评定焊接接头产生工艺缺陷的倾向,为制定合理焊接工艺提供依据;②评定焊接接头能否满足结构使用性能的要求;设计新的焊接试验方法就符合下述原则:可比性,针对性,再现性和经济性。
回帖成功
经验值 +10
全部回复(0 )
只看楼主 我来说两句抢沙发