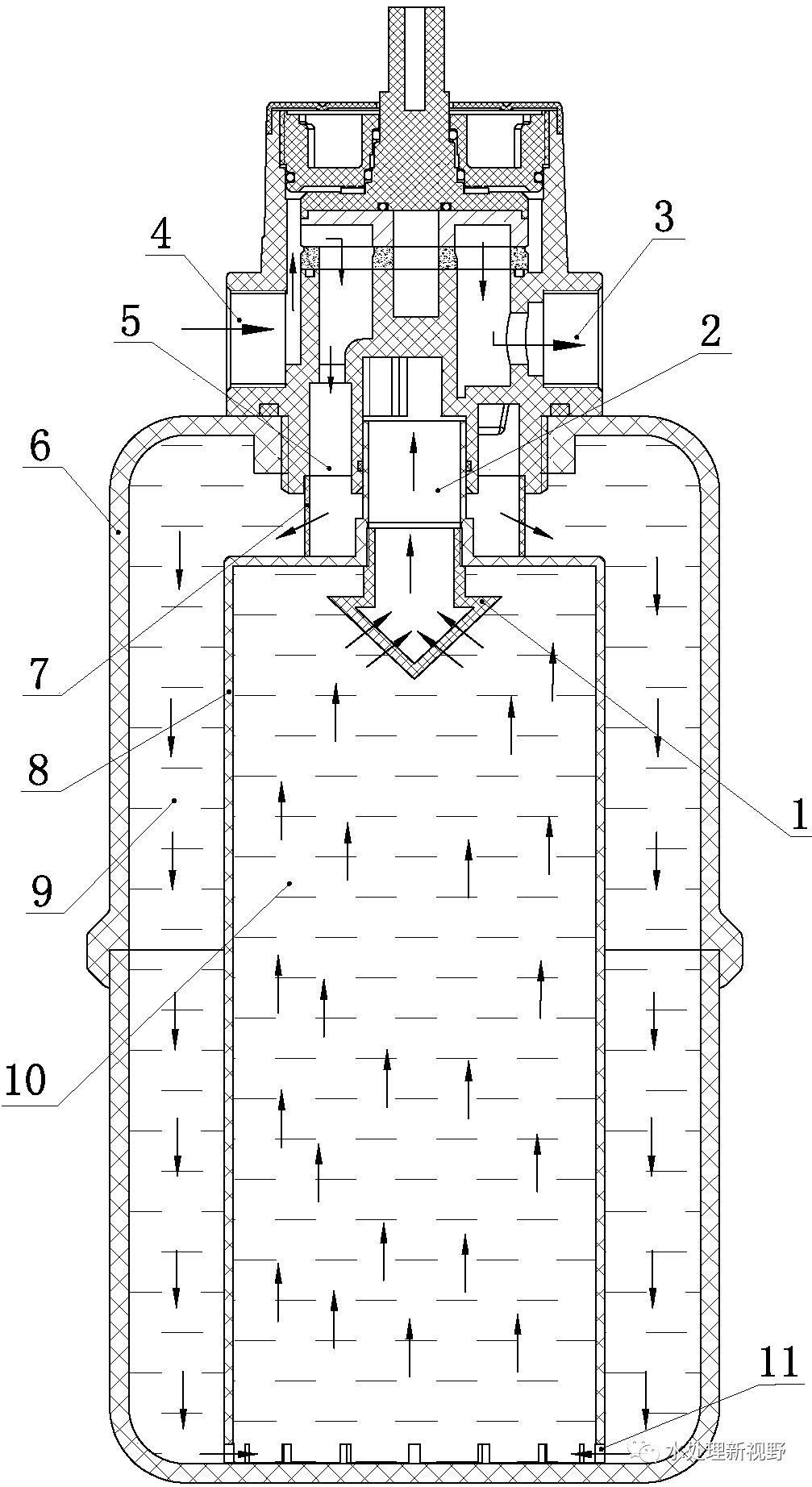
浮动床:
浮动床的工作是床层的运行和再生两种工况交替循环的过程.在运行状态时,入口水由底部进入浮动床,经下部分配装置配匀后,进入床层,靠上升水流将树脂以密实的状态向上浮动,在水流床层时完成离子交换反应,处理好的水经上部分配装置引出体外,当床层失效后,利用出口水管中水的倒流或者床层的重力使床层下落,于是浮动床由运行状态转入停运状态.浮动床交换流速高,逆流再生,出水水质好,再生剂耗量小。

固定床:
固定床分为顺流再生和逆流再生固定床,在床内树脂不动,水流穿过树脂层时完成离子交换反应,处理好的水经分配装置引出体外,树脂失效后的再生方式不同,分为顺流和逆流。
推荐资料(点击文字跳转):
知识点:离子交换装置中浮床与固定床的异同点
0人已收藏
0人已打赏
免费0人已点赞
分享
环保大厅
返回版块5354 条内容 · 77 人订阅
回帖成功
经验值 +10
全部回复(1 )
只看楼主 我来说两句 抢板凳资料不错,对学习过滤器技术具有很好的参考作用,学习了,谢谢分享
回复 举报