知识点:吊装方案编制
一、吊装工程概况:
1.1吊装简介
净化与变换装置内属于大型设备的有6台,主要包括:
(1)甲醇洗涤塔(141T101)重约598吨;
(2)H2S浓缩塔(141T103)重109.6吨;
(3)尾气放空筒(141X101)重90吨,长70米;
(4)变换炉(130R101)重214.35吨;
(5)低压废热锅炉Ⅰ(130E105)重107.17吨;
(6)低压废热锅炉Ⅱ(130E106)重100.315吨。
甲醇洗涤塔(141T101)分三段进厂,其中第一段与第二段在地面组对完成后然后吊装就位,第三节在空中组对。本方案只涉及甲醇洗涤塔(141T101)的吊装,其余设备需另编写施工方案。
1.2大型设备主要吊装参数见下表
序号 |
名称 |
位号 |
规格 (mm) |
重量 (kg) |
吊耳高度 (m) |
基础标高 (m) |
设备高 (m) |
备注 |
1-1 |
洗涤塔 |
141T101 |
Φ3200/3800 |
146000 |
61.7 |
0.5+0.52 |
19.85 |
顶部 |
1-2 |
洗涤塔 一二段 |
141T101 |
Φ3800 |
453000 |
39.65 |
43.7 |
底部 |
二、编制依据
2.1《大型设备吊装工程施工工艺标准》SH/T3515-2003
2.2《石油化工工程起重施工规范》SH/T3536-2002
2.3《化工设备安装工程质量检验评定标准》HG20236-93
2.4《化工塔类设备施工及验收规范》HGJ211-85
2.5《石油化工安全技术规程》SH3505-1999
2.6《石油化工起重施工规范》SH/T3536-2002
2.7《起重吊运指挥信号》GB5082-85
2.8 三一履带650吨SCC6500;CC2400-1400T履带吊吊车吊装参数表
2.9《粗直径钢丝绳规范》GB/T20067-2006
三、大型设备吊装前应具备的条件
3.1 设备装配图、设备平立面布置图,技术要求,设备说明书及有关标准规范资料。
3.2 设备安装基础经检验合格,满足安装要求,并已经办理中间交接手续。
3.3 安装设备已在当地地市级质量技术监督局办理安装告知手续,并得到批复。
3.4 设备经检查符合设计图纸要求并具备起吊条件。
3.5 施工场地平整,道路已经修好,吊装场地换填硬化值达到要求。
3.6 吊装索具已按施工方案要求配备好并应有合格证明。
3.7 起重机的机械和安全装置,经检测符合安全操作要求。
3.8 吊装前必须进行安全技术交底及办理吊装许可手续,同时应在正式吊装前进行试吊一次。
3.9 核对塔底裙座环上的地脚螺栓孔距离尺寸与基础上预埋地脚螺栓相符。
3.10 人、机、料、电准备到位。
3.11 设备吊装前,必须做好全面仔细的检查核实工作。检查设备本体安装基准标记,方位线标记是否正确,同时应做好设备基础的清理、放线、铲麻面及放垫铁等工作。
3.12 大型设备对地基压强及地基处理方法
四、大型起重机对地压强计算
4.1 SCC6500,650吨履带式起重机
吊车、配重、吊物、走道板总重约1415吨(按吊装最重设备141T101估算)。每组(2条)履带下加铺3块走道板的面积为3*2.5*7=52.5㎡,取动载系数1.1,则走道板对地压力:P1=1.1*1415/(2*52.5)14.8吨/㎡。
4.2 地基处理方法
(1)根据内蒙古汇能煤化工煤制天然气项目(一期工程年成4亿Nm?/年)净化装置图纸说明;地基强夯后原土层承载力特征值fak达到250kpa,即可满足地基处理要求。所以根据勘探结果和起重机对地压强要求,拟采用“更换垫层法”。

换填部位图示意
(2)图一所示为吊车行走路线和大型设备吊装位置路线,起重回填②为洗涤塔吊装位置,回填①为其它设备的吊装位置,回填③为大型设备进场路线。H2S浓缩塔141T103进场路线在厂区道路行走。回填部位先取走表面砂土层至强夯部位,基底夯实后,铺级配砂石分0.2m/层压实,压实系数取0.94,吊装时吊车履带下铺设走道板。下图为换填示意图。

4.3 地基处理验算
根据《建筑地基处理技术规范》JGJ79-2002,以吊装141T101甲醇洗涤塔为例,三一SCC6500型650t履带式起重机站位处地基承载力验算如下:
(1)SCC6500起重机履带宽度a=2.2米,长度b=12米(实际受力长度10.6米),起重机重约800吨,吊装总重598吨,吊装时履带下铺设走道板以均匀分散起重机对地面的压力,吊装时履带与走道板地面的实际接触面积为S=B*L=2.5*7*3=52.5㎡;考虑动载因素影响,吊装时取1.1的系数。

故650t起重机对走道板表面产生的平均压强为:
P1=1.1*Kq/2ab=1.1*(800+598)/2*2.2*10.6=32.97t/㎡。
650t起重机对地表面产生的平均压强为:
P2=Kq/2S=1.1*(800+598)/(4*42)=9.15t/㎡。
(2)经过处理后,垫层的总厚度为z=0.8m,取压力扩散角θ=30°,则毛石垫层与原土层交界处的地基附加应力为:P2=SP2/(B+2ztgθ) (3*L+2ztgθ)=52.5*14.64/(2.5+2*0.8*tg30°)(7+2*0.8*tg30°)=10.24 t/㎡
(3)砂石垫层底面自重对底层的压力为:
Pcz=1.7*0.8=1.36 t/㎡(毛石重度按1.7 t/㎡取值)
(4)单块走道板自重10吨,每组履带下走道板(3块)对底层的压力为:
P3=3G/(B+2ztgθ)(3L+2ztgθ)=3*10/(2.5+2*1.5*tg30°) (21+2*1.5*tg30°)=0.4 t/㎡,所以P=P2+Pcz+P3=10.24+1.36+0.4=12t/㎡,即只要砂石垫层与原土交接处的耐压力达到12KN/㎡,就能满足750t吊车位吊装要求。
部分位置增加道木垫护,并铺设钢板。
五、吊装过程示意图

六、设备吊装计算
6.1 洗涤塔吊装计算荷重
Q=(G+g)×K1=(453+17)×1.1×104=517×104 N
式中:
Q—吊装载荷
G—设备净重
g—吊钩、索具、支撑梁及平台重量
K1—动载系数(取1.1),
6.2 吊车选用
1)甲醇洗涤塔吊装分两段进行,塔下部分段尺寸为43.7m,设备净重量为453吨。
2)根据分段设备的重量和高度拟选取三一起重机SCC6500履带起重机650吨,根据吊车性能表HDB工况下,回转半径选取14米,吊装臂长60米,起重机额定吊装重量为522吨,大于设备下部吊装载荷。
3)溜尾吊车选取400吨DEMAG(德马克)CC2400-1型覆带式起重机进行吊装,根据该吊车的性能表,取工作半径9m,臂杆长度42m,装配重160t,在此工况下,吊车的额定荷载为257t,大于设备吊装荷载,可满足吊装要求。
6.3 吊装半径计算
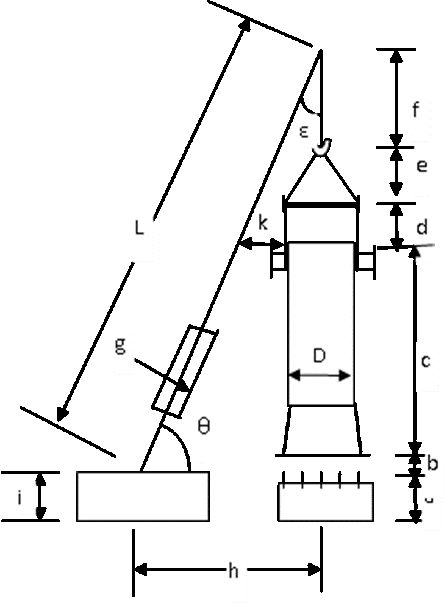
6.3.1 吊装视图中的符号解释:
a.地面至基础螺栓顶高度
b.甲醇洗涤塔吊装时与地脚螺栓距离
c.甲醇洗涤塔的高度
d.平衡梁距洗涤塔顶高度
e.吊钩与平衡梁的间距
f.吊钩到吊车臂顶部轴心距离
g.吊车臂宽度
h.吊装回转半径
θ.吊车臂仰角
L.吊车臂的长度
i.吊车自身的高度
D.设备直径。

6.3.2 根据图纸,现场环境及吊车的相关资料查的a=+1.02米,吊装高度b=0.5米,甲醇洗涤塔c=43.7米,平衡梁与洗涤塔顶部距离d=1.5米,吊钩与平衡梁之间距离e=3.31,吊钩到吊车臂顶轴心距离f=11.47米,吊车臂宽度g=2.95米,吊装回转半径h=14米,吊装仰角θ=77°,吊车臂长L=60米,吊车自身高度i=2.92米,设备直径为3.8米。
6.3.3 根据上述条件的:
吊装所需高度:
h1=a+b+c+d+e+f=1.02+0.5+43.7+1.5+3.32+11.47=61.51
吊装实际高度:

吊装高度校核:HS>h1,所有臂杆高度满足实际吊装要求。
6.3.4 设备碰杆校验:
夹角ε=90°-θ=13°
设备顶至臂杆顶hd=f+e+d=11.47+3.32+1.5=16.29米,
设备中心距臂杆中心距离k
k=hd*tgε=16.29*tg13°=16.29*0.231=3.76
(3.8+2.95)/2<k =3.375<3.76,经核算设备不碰吊车臂杆。
6.5 钢丝绳选择
6.5.1 按照《起重机吊装常用数据手册》钢丝绳的安全系数k取6.
6.5.2 钢丝绳与平衡梁的夹角为60°
钢丝绳采用一弯两股使用,每股钢丝绳受力:
S=Q/2/sin60/n=470000/2/sin60/2=135681.3
S 每股钢丝绳受力(应小于钢丝绳许用拉力)
Q 吊装物重力(470000公斤力)
n 吊装钢丝绳股数
k 钢丝绳安全系数k=6
单根钢丝绳破断拉力
Sb=SK=135681.3*6=814087.8公斤力
经查《粗直径钢丝绳规范》GB/T20067-2006中选择型号6*64SFS+IWR 直径110mm,钢芯钢丝绳抗拉强度8440000公斤力,大于814087.8公斤力。钢丝绳一弯两股状态下使用,可满足吊装要求。吊装需要两根110mm钢丝绳,每根吊装长度为33米。溜尾吊车钢丝绳也选用此种钢丝绳,选择吊装净长度为16米一根。

6.6 洗涤塔吊装平衡梁选用及示意图



平衡梁选择外径为426mm,内径386mm的碳钢管,壁厚不得采用负偏差的管道。
平衡梁实际使用中承受应力:δ=53.188Mpa<130 Mpa(钢管许用应力):δ1j=1028.12MPa
所以,平衡梁的强度满足吊装要求。
6.7 吊车站位布置图

6.8 甲醇洗涤塔上部吊装取工作半径20m,臂杆长度84m,装配重310t,设备安装高度64.8米,设备净重量:167.1吨,650T三一履带吊SCC6500吊车的HDB工况下起重重量为 3040吨,所以满足设备吊装要求。
6.8.1 甲醇洗涤塔(141T101)上部吊装高度校核:
(1)计算吊装所需高度Hx
Hx=h1+h2+h3+h4=1.5+64.8+4+6=75.8m式中:
H1——设备就位时离地面高度 h1=1m
h2——设备高度 h2=64.8m
h3——平衡梁吊索高度 h3=4m
h4——吊车滑轮组预留高度 h4=6m
(2)吊装实际高度计算:
式中:L——吊车臂杆长度 L=84m
b——吊车工作半径20m
c——吊车中心距臂杆铰支距离 c=1m
a——吊车臂杆铰支距地面高度2.59m
(3)吊装高度校核 Hs84.29m>Hx=75.8m,所以吊装高度满足要求;
6.8.2 甲醇洗涤塔(141T101)上部吊装是否碰杆校核
(1)计算吊车臂杆与滑车组夹角α
α=sin b/c
=sin0.238查表得约13.8?
(2)计算设备顶部至臂杆顶部距离hd
hd=Hs-h2-h1=84.29-64.8-1=18.49m
(3)计算设备中心距臂杆距离d
d= hα×tgα=18.49×tg13.8?=4.6m
(4)设备碰杆校核
d>(D+杆宽)/2即不碰杆
d=4.6m>(3.2 +2.5)/2=2.85m
故设备不碰吊车臂杆
由于设备顶部没有吊耳,所以要求建设单位与设计单位协商后,在设备顶部增加吊装吊耳,并在设备制作时让制作厂家安装好。吊装中平衡梁用设备底部吊装用平衡梁。
6.8.3 吊索的选择
设备安装时,主机选用2套吊索作业:
吊装索具的选择:吊装索具选用Φ65-6X37+1-1813的钢丝绳(钢丝绳长度需设备吊装高度确定后在进行选择),平衡梁高度68米,平衡梁至吊钩距离4米。安全系数取6,则每个吊点所需的股数N为:
N=P×6/SP=[(167100+6000)×9.8×1.1×6/2]/2842000=1.97
钢丝绳1弯2股使用,P为每个吊点最大受力,N,SP为钢丝绳破断力:Φ65的为2842000N。
设备吊装前,将麻绳拴在设备吊耳处的钢丝绳上,待设备就位后将钢丝绳拆除。麻绳两根,每根长65米。
辅助吊车的选择与前两端吊装相同,数据及吊车型号均一样,故满足吊装要求。
吊装索具的选择:吊装索具选用Φ65-6X37+1-1813的钢丝绳(90米),安全系数取6,则每个吊点所需的股数N为:
N=P×7/SP=((84000+3000)×1.1× 9.8×6/2)/2842000=0.061
钢丝绳2弯3股使用,P为每个吊点最大受力,kg,SP为钢丝绳破断力:Φ65的为2842000N。
因此,可选直径65毫米,σ=2842Mpa,6X37(GB1102-74)钢丝绳共计270米;是安全合理的。
七、吊装步骤
7.1 吊装前准备
7.1.1 施工现场需通过甲方现场指挥部协调有关部门或单位进行清理、清除杂物。保持地面坚实且平整。起重机站位及行走范围内的地面耐压力应符合规范要求,起重机站位及行走范围内的地面耐压力不小于300N/cm2,当达不到要求时,应铺设钢板。
7.1.2 基础验收及处理
设备吊装前,必须对基础进行复测。与基础施工单位办理中间交接证书。基础上应明显画出标高基准线,纵横中心线。
基础外观不应有裂纹、蜂窝、空洞及露筋等缺陷;基础验收应由甲方、土建、我方共同参加。
7.1.3 按设备安装图纸仔细核对设备的管口方位,塔的外形尺寸及地脚螺栓孔和基础中预埋螺栓的位置和尺寸。每根地脚螺栓两侧各放一组垫铁,每组不多于4块,薄的放中间,垫铁所选用斜垫铁成对使用,材质Q235。
7.2 吊装前检查
①吊装前设备基础需经交接验收,基础施工单位应提交质量证明书、测量记录、标高基准线、坐标轴线、沉降观测水准点等标志。
②基础检查:
A、外观不得有裂纹、蜂窝、空洞及露筋等缺陷。
B、坐标位置允差:±20mm;
C:基础标高允差:+0 ~-20mm;
D、基础上平面的上水平度:5 (每米),10(全长);
E、上平面不平度允差5/1000,最大10mm;
F、垂直偏差允差:5(每米),10(全长);
G、予埋地脚螺栓:标高(顶端)允差:+20~-0,中心距(在跟部和顶部测量):±2
7.3 吊装
7.3.1 根据现场情况,选择好吊车站位位置。
7.3.2 吊装前执行指挥应与起重司机统一信号,指挥时必须做到旗语准确、哨声清脆、旗语与哨声协调动作。
7.3.3 由专业起重工将钢丝绳牢固锁在吊点位置上。保持钢丝绳左右对称,以便起吊后保持塔体垂直。
7.3.4 将塔基础上放置好垫铁,各组垫铁要保持水平,且在一个水平面上。待各项工作准备做好后起试吊,设备抬起500MM后,放下,检查各吊点及吊车受力、钢丝绳、卡具情况,支撑面变化,确认无误后,主、辅吊车司机在起专业起重工的指挥下缓缓出杆,起重机的外伸支腿应按使用要求全伸,其支腿应有足够的支承面积。
7.3.5 起重机在吊装作业时,臂杆的起落及车体的回转不得同时操作,应分开进行。在吊装的全过程中,臂杆与设备的空间距离不得小于0.2m。
7.3.6 使设备慢慢直立起来。(辅助吊装的400吨吊车配合主吊车把塔直立后撤下)待塔体完全直立后,转动起重臂将设备吊到设备基础上方,然后使塔体慢慢下落,同时根据塔的管口方位图边下落边调整塔的朝向。待塔的基础环接近塔基础的预埋螺栓时,暂时停止下落,调整塔体方位使塔的基础环螺栓孔与塔基础预埋螺栓对齐后,再缓缓下落直至整个塔体坐在基础之上。然后将预先准备好的螺母拧在螺栓之上。
7.3.7 用盘尺测量塔的中心线位置。水准仪测量塔的标高和水平度,用经纬仪测量塔的铅垂度。利用斜垫找平找正,边找边测量。使塔的各项技术要求达到以下标准:
A、中心位置允差±5mm;
B、标高允差:±5mm;
C、塔体安装铅垂度允差:h/1000。最大30mm;
D、方位允差:±10mm;
7.3.8 吊装作业时,所有人员不得在起重臂及被吊物下停留或通过,非指定的专业人员,严禁攀登起重机臂杆。
7.3.9 吊装前应组织有关人员进行安全联合大检查。
7.3.10 被吊物平稳就位后,未经指挥人员许可不得摘钩。进行摘钩作业时,下方严禁其它人员作业。
7.4 吊装安全技术交底
⑴吊装作业司机与指挥人员应持证上岗,严格遵守起重作业的有关规定,不得擅离工作岗位。
⑵进行高空作业时,必须系好安全带。
⑶起重作业前,应检查各安全预防设备的动作是否安全可靠,确保起重机安全工作。
⑷吊装作业时,吊车臂及吊物下严禁站人。吊车要有专人指挥,指挥人员必须熟悉机械吊装有关操作规程及指挥信号。在吊装过程中,指挥人员应精神集中;吊车司机和司索人员必须听从指挥,统一行动,人员分工明确,确保吊装的安全可靠。应找好重心,以使起吊平稳。起吊速度应均匀,回转应平稳,下落应低速轻放,不得忽快忽慢和突然制动。设备下方严禁站人。
⑸禁止斜吊作业,禁止在6级风和雨雪天气的情况下进行吊装作业。
吊车支腿必须支牢,必要时应打上“二腿”,以防土质松软,吊装时发生危险。
⑹起重机驾驶员除对“停车”信号,不管任何人发出都得接受外,其它信号只能接受信号员统一指挥。
⑺吊装作业时,作业范围内应设警戒线,严禁非工作人员通过。
八、施工技术措施及安全注意事项
吊装安全措施
安全管理体系

安全管理体系图
为了确保本工程设备吊装安全,在设备运输吊装施工准备及实施过程中,应成立吊装安全保证体系来推动检查、监督吊装过程中的安全工作,安全保证体系如下:
决策层→管理层→指挥层→作业层。
安全质量保证体系岗位职责应符合下表中规定:
职 能 |
岗 位 |
职 责 |
管理层 |
项目正副经理 |
全面负责吊装施工 |
施工经理 |
施工方案实施及技术总指导 |
|
总工程师 |
施工方案编制及技术总指导 |
|
安全经理 |
安全总监督 |
|
质量经理 |
质量检查 |
|
指挥层 |
计划调度 |
劳动力组织、机具调派 |
责任工程师 |
编制施工方案并负责实施监督 |
|
专职安全员 |
配合安全责任人安全检查 |
|
作业层 |
起重队负责人 |
组织班组岗位作业 |
吊装指挥人 |
岗位作业 |
|
各班组长 |
组织班前会、岗位作业 |
|
起重工 |
岗位作业 |
|
司机及操作员 |
保证机械安全运行、对规定部位监测 |
每台大型设备都必须由吊装工程师编制吊装方案并报业主审批。
每吊装一台大型设备,吊装前都必须由吊装工程师向参加吊装作业的人员进行方案技术交底。
所有参加吊装作业的人员在施工前都必须接受安全部门的安全教育。
大型设备吊装前各方(包括业主方、施工方专业工程师、吊车司机、起重工班长、技术负责人、施工负责人)对设备装进行安全确认。
650t及400t吊车支腿的地基必须铺垫片、钢板,确保安全可靠,其可靠度必须由吊装工程师与吊车车主共同确认。
不使用未经检查合格的吊车、吊具和索具。
地锚埋设应安全可靠。
所有吊装用的机具、吊具吊装前均应注油润滑。
高空作业时严禁高空抛掷物件。五级以上大风严禁吊装作业。
吊车行走道路必须结实可靠,必要时可铺石块、钢板以确保吊车行走的安全。
吊车站位应按方案中给定的工作半径站位。
高空作业时要系好安全带,戴好安全帽。高空与地面的联系,应采用对讲机进行联系。
参加作业的人员要统一信号、统一指挥、精心组织、精心施工。
大型设备吊装正式吊装前必须进行试吊,并组织有关人员对机具、吊具、索具进行全面检查,经检查确认无问题后,方可正式起吊。
吊装区域要设置警戒线,非作业人员严禁进入警戒区。
如需对吊车站位及行走区域的地基处理结构改变,则应作现场承载试验。满足要求后方可执行。
如在吊装作业中出现问题,或本方案中未考虑周全的问题,应由吊装工程师现场解决。
凡进入现场人员必须带安全帽。作业区设置标志线,禁止与吊装作业无关人员进入作业区。高空作业必须佩带安全带。
在吊装作业时,所有施工人员必须听从现场指挥负责人的统一指挥。
起重负责人在吊装指挥时,指挥信号必须标准、准确。
在吊装作业时,要注意使两辆起重机互相配合,动作协调。
在吊装作业前,起重负责人必须仔细检查设备的捆绑是否牢固,吊点是否对称,所用机具是否满足要求。
开始时,应先试吊,证实吊点、卡环、钢丝绳等连接部位及吊车运行无误后方可正式吊装。
吊装作业时,任何人不得在吊起的设备下行走,不能在受力的钢丝绳下停留。
在吊装作业过程中,如因故终止吊装作业时,必须采取安全措施,不能使构件悬空。
吊装作业中不准搬动支腿操作手柄,如必须调整支腿时,应先将设备落下再进行调整。
在吊装作业过程中,如发现吊车、设备、机具等任何部位有异常情况,应立即报告起重指挥,待查清原因,采取相应措施后方可继续作业。
风速超过5级时停止吊装作业。
吊装作业条件不好,没有宽敞平稳的站脚之地,且塔吊运时惯性较大,地面人员要做好防护措施。
在雨季高空作业时,除必须系挂安全带还要注意防滑,穿好防滑鞋,不得穿硬底皮鞋。
登高用的梯子必须牢固,使用时梯子上端必须用绳子与已固定的设备绑牢,梯子与地面的夹角一般以65-70度为宜。
操作人员在脚手架跳板上通行时,要防止踏上挑头板摔落。
高空作业人员使用的工具、垫铁、焊条、螺栓等,应放入随身携带的工具袋里,不得随便扔下。
地面作业人员必须佩带安全帽,尽量避免在高空作业面正下方停留或通过,也不准在起重臂下或吊钩下停留或通过,如有必要,要事先联系好,并应有人监护。
必须就位牢固后并经测量垂直度达到要求才能松钩,防止造成塔倾倒事故。
保持起重机可能触电部位与高压线之间的安全距离,防止起重机触电。
电焊机外壳必须接地,电源线要架高,手把线质量要严格把关,防止电焊机触电。操作人员要戴绝缘手套,穿绝缘鞋。
两机要同时同步地起钩,将塔吊离运输车辆,以及同时缓慢地起钩、落钩,将塔直立,否则,可能造成某一台起重机超载。
吊运开始前,必须指挥周围人员退到安全位置,然后才能发出吊运信号。地面操作人员应站在重物倾斜方向的背面,防止被重物意外倾倒砸伤。
起重吊运作业的指挥人员,应经过专门的培训、考核,合格后方可上岗。指挥起重吊装作业,指挥信号必须明确。
吊运作业中有钢丝绳穿越通道时,应在通道两旁挂。有明显的警告标志。
注意氧气、乙炔瓶的存放距离大于5m。
防止触电措施。
1)施工现场架设的低压线路不得用裸导线。施工现场照明电线及灯具高度不应低于2.5m。
2)各种电线接头、开关应装入开关箱内,用后加锁,停电必须拉下电闸。
3)电焊机的电源线不宜超过5m,并必须架高。
4)各种电机械必须有良好的接地或接零。
其他未尽事宜,参照《石油化工施工安全技术规程》SH3505-1999执行。
九、安全风险评价及应急措施
(1)吊装作业风险评价
活动过程 |
危险因素 |
危害事件 |
触发原因 |
风险评价等级 |
风险削减措施 |
削减后风险等级 |
吊装施工 |
高空落物打击 |
人员砸伤 设备损坏 |
1.吊装前未检查; 2.操作人员失误. |
一般 |
1.吊装前清理物件; 2.操作人员持证上岗. |
轻微 |
高空坠落 |
人员摔伤 |
未系安全带 |
一般 |
1.落实安全操作规程; 2.进行班前教育. 3.登高作业要有监护人 |
轻微 |
|
吊车倾覆 |
1.人员伤亡 2.吊车设备损坏 |
1.吊装绳扣断裂; 2.道路处理破坏; 3.误操作. |
严重 |
1.吊装前进行安全联合检查. 2.设监护人 |
轻微 |
|
碰撞 |
设备损坏 |
1.溜尾索具拉断; 2.某个作业面无人看护. |
严重 |
1. 吊装前进行安全联合检查. 2. 设监护人 |
轻微 |
(2)事故预防处理对策表
事故名称 |
原因事件 |
预防措施 |
处理措施 |
设备坠落 |
设备、物件绑扎不牢 |
进行技术、安全交底、落实安全措施,吊装前进行检查 |
加强现场检查、重新绑扎 |
吊装机具损坏 |
吊装前进行施工机具检查检查 |
更换施工机具 |
|
人员高空坠落 |
安全带绑扎不牢、安全带损坏 |
进行安全交底、落实安全措施 |
加强现场检查、作业前系好安全带 |
挤手、碰脚 |
注意力不集中,未穿戴劳保用品 |
施工前检查是否穿戴好劳保用品 |
加强现场检查、未穿戴劳保用品不准施工 |
设备磕碰损坏 |
施工人员责任心不强,未做好防护措施 |
进行安全交底、落实技术措施、安全措施 |
加强现场检查监督、加强对设备的保护 |
吊车倾覆 |
吊装索具断裂 |
吊装前进行吊装索具检查 |
更换吊装索具 |
道路处理破坏 |
严格控制施工质量 |
准备临时压重块 |
|
误操作、误指挥 |
持证上岗,统一指挥 |
专人指挥、设专职安全员 |
(3)应急措施
序号 |
事故预发生名称 |
解决方式 |
应急措施 |
备注 |
1 |
高空坠落及物体打击 |
1.检查脚手架搭设是否符合要求; 2.检查脚手板两端是否固定; 3.检查是否系好安全带; 4.检查工具是否装于袋中; 5.检查是否高空抛掷物品。 |
1.加固 2.脚手板两端固定 3.系好安全带 4.工具装袋并挂牢 5.严禁高空抛物 |
|
2 |
手脚碰伤 |
1.检查是否穿戴劳保用品; 2.检查是否按操作规程作业。 |
1. 穿戴劳保用品 2. 严格按操作规程作业 |
应急处理措施详细说明:
A.事故发生后,吊装现场负责人立即向项目应急领导小组报告,执行应急指挥指令。同时启动施工现场应急预案,对事故现场进行应急处理、组织对受伤人员进行紧急救护,安排专人保护好事故现场、拨打乙烯施工现场报警电话、急救电话、按照程序向乙烯指挥部报告事故发生情况,配合应急小组相关部门进行事故分析,制定处理方案。
B.事故预想及应急措施高空坠落及物体打击、碰伤事故
a.在高空掉下摔伤或在地面受到物体打击时,首先打120电话,同时联系乙烯施工现场急救站,进行现场临时抢救,并送往医院抢救。
b.通知项目部应急领导小组,执行应急指挥令立即启动应急预案,迅速采取措施制止事故蔓延扩大。
c.安排专人保护事故现场,不得破坏与事故有关的物体、痕迹、状态,为抢救伤员需要移动某些物体时,必须做好现场标志并拍照。
d.事故处理结束后,应立即召开分析会,全面调查原因,按照“四不放过”的原则,进行调查处理。
十、施工机具一览表
序号 |
名 称 |
型号规格 |
单位 |
数量 |
备注 |
1 |
650t履带吊 |
SCC6500 |
台 |
1 |
主吊 |
2 |
400t履带吊 |
CC2400-1 |
台 |
1 |
辐吊 |
3 |
25t吊车 |
25t |
台 |
1 |
|
4 |
钢丝绳 |
Φ110-6*64SFS+IWR |
m |
82 |
|
5 |
钢丝绳 |
65-6X37+1-170 |
m |
21 |
|
6 |
大锤 |
8磅 |
把 |
4 |
找正 |
7 |
扳手 |
把 |
4 |
紧固地脚螺栓 |
|
8 |
无缝钢管 |
DN400 Φ426×20 |
米 |
4.8 |
壁厚为正偏差 |
9 |
对讲机 |
部 |
6 |
||
10 |
道木 |
400×300×2500 |
根 |
200 |
|
11 |
经纬仪 |
台 |
2 |
找正 |
|
12 |
卡环 |
20t |
个 |
2 |
|
13 |
麻绳 |
米 |
100 |
注:以上配合650吨吊车的机械必须全过程配合。
相关推荐链接:
0人已收藏
0人已打赏
免费0人已点赞
分享
电气资料库
返回版块70.18 万条内容 · 794 人订阅
阅读下一篇
史上最全采购成本分析知识点:成本分析 —1— 采购成本构成 采购成本是指所有采购活动所发生的费用总和。具体来讲包括从外部供应商购买、包装、运输、验收、存储等各个采购环节中所投入的人力、物力、财力的总和。 采购成本包括显性成本和隐性成本,显性成本主要是指采购管理中订单跟踪、生产计划落实、装运、验收、对供货商的管理等人力资本;隐性成本主要由质量成本、缺货成本等构成,包括不合格品处置、售后服务、停工、退货、员工培训、供应商评估以及其他各类与采购相关活动而发生的费用。
回帖成功
经验值 +10
全部回复(0 )
只看楼主 我来说两句抢沙发