知识点:化工炉
一、工业炉一般知识简介
工业炉是石油化工装置中常见的生产工艺过程中的关键设备。如炼油及石油化工装置管式加热炉、转化炉、裂解炉;合成氨装置高温加热、高温反应的以煤为原料的气化炉或以燃气为原料的一段转化炉、二段转化炉等。
这些工业炉类设备的特点是:结构较为复杂,施工工期长,工艺条件要求严格,工程质量标准高。
工业炉的类型很多,而且结构多样。本章只简要叙述石油化工常见几种工业炉工作原理、结构型式、所用材料及初步设计概算的编制。
(一) 工业炉在生产工艺过程中的作用
在石油化工生产工艺过程中,介质(物料)的化学反应较为复杂,如石油烃类的裂解过程,除裂解反应外,还伴随着脱氢、异构化、环化、缩合、迭合等反应的发生。按其不同的工艺性能要求,工业炉在石油化工生产过程中的作用可归纳如下:
1.加热介质,使其达到所需要的温度后以满足下一工艺过程的需要,发生物理变化和相态转变(由液态变为气态)。一般称为纯加热用加热炉。
2.加热某种介质,使其达到化学反应所需的温度,或者在触媒的作用下进行化学反应。一般称为加热反应用加热炉。
(二) 工业炉的分类
石油化工行业工业炉的类型较多,按其外型结构特征及加热工艺过程不同可划分为五大类:
1.管式加热炉
按形状分为圆筒炉、立式炉、箱型炉。管式炉炉体一般由钢架及筒体(或箱体)组成,炉内衬有耐火材料和隔热材料,还有炉管系统、炉配件和烟囱等部分。根据其受热形式有纯辐射式和辐射-对流式。管式加热炉是石油化工行业最常用的炉型,以后各节主要围绕管式加热炉展开介绍。
2.立式反应炉
这类炉的炉体基本上是受压容器,如甲烷化炉、中(低)温变换炉、气化炉、二段转化炉等;另一部分类似平顶(底)或锥形顶(底)的常压容器,如沸腾炉、蓄热炉、煤气发生炉等,炉体多数均有复杂的内件和衬耐火材料,催化剂填料等。
3.卧式旋转反应炉
炉体呈卧式旋转筒体,内部装有螺旋输运器或加热炉管,外部有传动及减速装置,如HF旋转反应炉等。
4.带传动、升降投料装置的反应炉
这类炉设备类似容器,但外部有投料提升装置,炉内有内衬或砌筑耐火和隔热材料,如电热炉等。
5.其他工业炉
焚烧炉: 用于废气、废液、废渣的焚烧。将其中有害物质经焚烧转化为无害物质排出。如污泥焚烧炉、硫磺回收装置焚烧炉。干燥炉:用于干燥工艺物料。热载体炉:塑料厂用的较多。
(三) 工业炉常用材料
工业炉通常都是由金属和非金属材料制造、安装、砌筑而成。对于由金属壳体或钢架、炉管、各种配件组合的炉体结构,要求能承受相当高的温度、各种介质的腐蚀以及承受一定的压力和荷载,其中,尤以炉管为着。工业炉使用的金属材料种类很多,常用的有普通碳钢、各种耐高温合金钢及不锈钢。此外,对构成工业炉实体的内衬耐火材料、隔热保温材料种类也很多。有耐火砖、不定型耐火材料、耐火纤维、纤维可塑料、岩棉板、微孔硅酸钙制品等。
二、石油化工装置常用工业炉 TOP
(一) 管式加热炉
管式加热炉是属于提供热源的火焰加热设备,作用是将通过炉管中的介质加热到所需温度,然后进入下一段工艺过程,又称之为管式炉。
1.管式加热炉的工作原理
管式加热炉由辐射室、对流室和烟囱组成,辐射室和对流室内均装有炉管,烟囱内装有挡板。燃料经过喷嘴在辐射室燃烧,产生的高温火焰以辐射传热方式,将大部分热量传给辐射室炉管内流动着的介质,温度降低后的高温烟气再进入对流室,以对流方式继续将部分热量传给对流室炉管内流动着的介质,降温后的烟气最终进入烟道,通过烟囱排入大气。介质的流向一般是先经过对流室炉管,再经过辐射室的炉管。其介质在流动过程中不断吸入高温烟气经炉管壁传来的热量,逐步升高到所需要的温度成为高温介质流出。管式加热炉的流程见图11-2-1。为了综合利用能源常在对流室和烟道与炉体部分增设余热回收系统,或加热空气或加热水、水蒸汽,生成蒸汽或过热蒸汽,供生产使用。
2.管式加热炉的类型
常见的管式炉中,有圆筒加热炉和立式加热炉。炉体外形分为立式圆筒形和立式长方形、箱型,而老式斜顶形加热炉在炼油装置中已很少采用。
圆筒式加热炉又称圆筒立式加热炉,其炉型见图11-2-2。图中(a)型是一种纯辐射型圆筒加热炉,只有辐射室,没有对流室,喷嘴设在底部向上安装,炉管直立沿炉墙布置。这种加热炉结构简单、重量轻,其热效较低。图中(b)型是辐射对流型圆筒加热炉,在炉体上部设有水平方向布置的对流室,底部为辐射室,结构较复杂。


立式加热炉分为卧管立式加热炉和立管立式加热炉,这两种加热炉的示意见图11-2-3(a)、11-2-3(b)。立式加热炉高度通常为宽度的2—3倍,炉内呈长方形,又称立方式型炉,由型钢组成的立柱支撑。立式加热炉的结构分上、中、下三部分,上部分为烟囱,内设挡板调节气流和风量,中部为对流室,下部为辐射室。喷嘴在炉底向上放置或侧壁水平放置,辐射炉管沿炉墙呈卧式或立式排列,对流段炉管均为卧式安装,用管板支撑。
3.特殊类型加热炉
由于采用技术不同,有些装置的立式方型炉炉管及燃烧器的位置与常见炉型不同。如重整装置四合一炉,管系为正U型上面2个集合管,或倒U型下面2个集合管。集合管材质1 1/4Cr1/2Mo, 15CrMo,Cr5Mo,形状为直管,炉管材质Cr9Mo。燃烧器有设置在炉墙侧面,或设置在炉底部。加氢裂化装置设计的炉型有炉管放在中间,采用双面辐射方式,支撑架为HK-40的离心浇注管。以下介绍几种不同于一般管式加热炉结构的炉型。
(1)重整装置四合一炉 :该四个重整进料加热炉的辐射室是四个完全独立的在一个箱体钢结构内的立式炉,用来分别加热重整进料介质。介质出炉温度为500°C左右,炉内烟气温度为800~900°C,见图11-2-4。


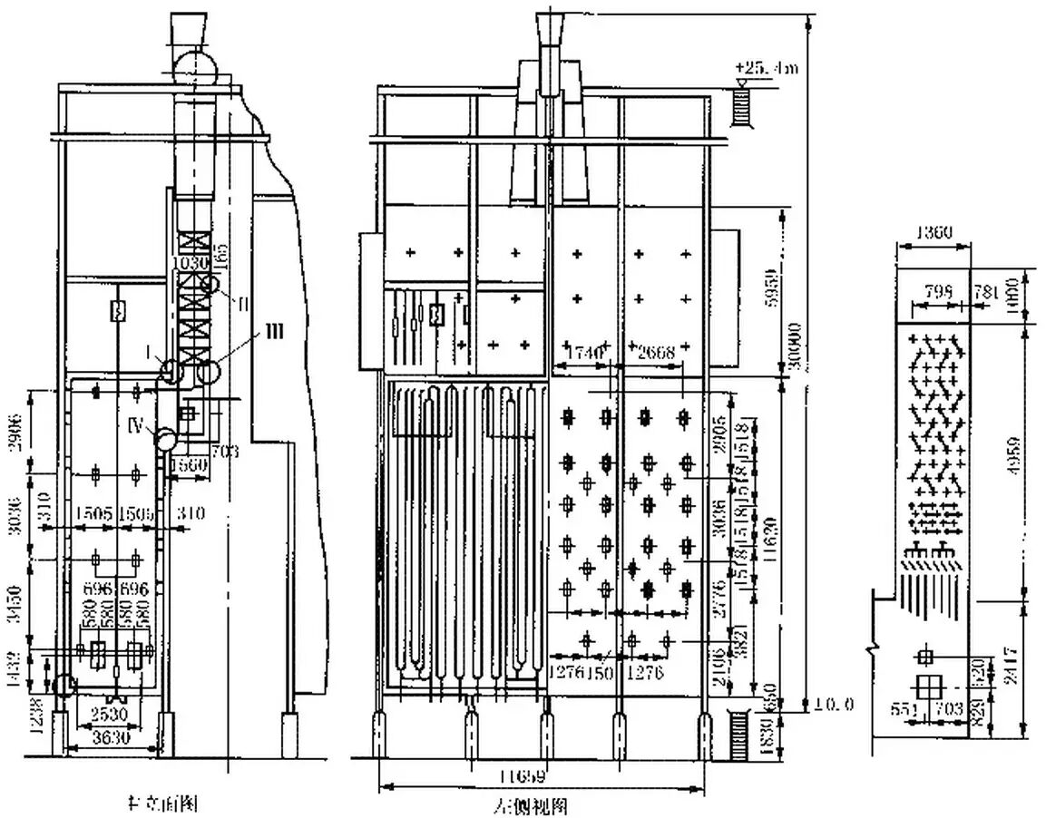
(2)制氢装置转化炉与其他加热炉不同之处是炉管里装有催化剂,制氢反应过程在炉管内完成。炉内温度较高,达到1000°C,反应介质出口温度为800°C左右,此炉有两种型式:一种是立式长方形炉,燃烧器侧面安装;另一种是大型的立式箱型炉,燃烧器顶置,对流室另设一个系统,炉型见图11-2-5。

图11-2-5 制氢转化炉图
(3) 裂解炉,主要以石油馏分为原料,进行热裂解生产烯烃,其结构特征为:立管加热裂解炉。管式裂解炉为立式钢架结构炉体,炉墙砌筑耐火材料和隔热材料,炉管为立式悬挂变径管,几种不同管径组合成一组,炉底有油气联合喷嘴;对流室在顶部,为卧式盘管,预热原料或燃料等。
裂解炉是乙烯装置中的关键设备之一,结构庞大(30万t/a乙烯十一台裂解炉总重4100t)。过去我国乙烯装置中的裂解炉大部分是从国外引进,其结构与国内管式裂解炉相类似,工艺流程及各种技术指标与国内同类炉子水平相近或略高,见图11-2-6。
4.管式加热炉金属结构
炉体金属结构由炉架、烟道、烟囱、风道、弯头箱门、梯子平台组成。炉架占炉体金属结构重量80%左右,由主框架、中间及边框架、炉底钢结构、炉顶钢结构、端墙钢结构、辐射室及对流室表面钢板等组成。烟道是输送和排放烟气的管道,风道是供给空气的管道。烟风道系统设计的优劣,直接影响预热回收系统的效率、动力消耗、材料消耗。弯头箱门在对流室两侧,是检修对流室弯头的开启门。

图11-2-6 30万t/a轻柴油裂解炉结构图
(二) 化学反应炉
由于石油化工生产面较广,专业众多,除上述常用炉类设备外,尚有一些加热、化学反应炉设备,如合成氨装置中的二段转化炉、蓄热炉、开工加热炉、甲烷化炉,气化炉等。这些炉类设备主要用于石油化工装置中原料气的进一步加热、转化、变换分离及固体焚烧等一系列化学反应。它们的共同特征是均为立式钢壳体,一般外壳为受压容器,体内衬耐火隔热材料或内装催化触媒以及内衬不锈钢板或其他合金钢;炉体安装类似一般反应器或容器类设备,炉型见图11-2-7(a)、11-2-7(b)、11-2-7(c)、11-2-7(d)。


图11-2-7
(三) 工业炉炉管及配件
1.炉管
工业炉辐射炉管主要是受火焰的直接辐射,并在高温和高压下进行工作,有时还可能承受硫化物、环烷酸和氯化物等的腐蚀,因此,炉管是在十分苛刻的条件下工作。工业炉炉管的材质根据介质的特性和操作条件不同,应采用优质碳钢、合金钢或不锈钢。
炉管除了不同材质的光管外,设计中为了提高对流室的烟气侧传热系数,常在光管上增焊翅片或钉头,故称为翅片管或钉头管,一般翅片管的受热面积为光管的4~9倍;钉头管的受热面积为光管的2~3倍,其型式如图11-2-8(a)、11-2-8(b) 。为减少积灰,增加传热能力,现在有使用开口翅片管。



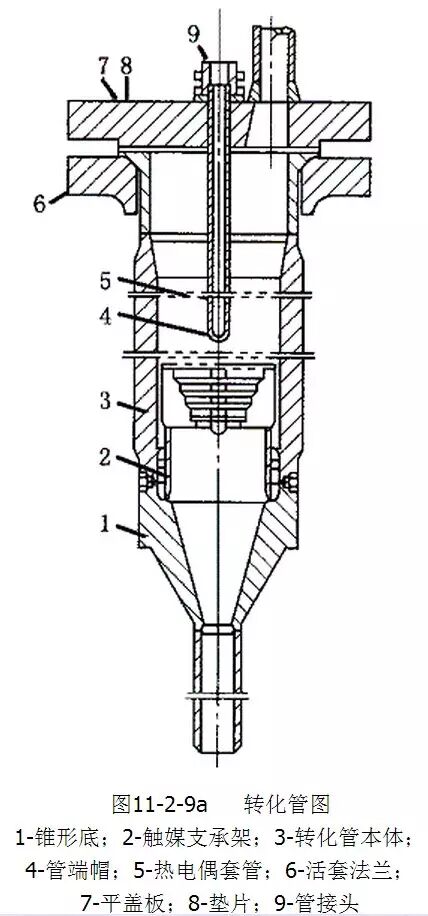
图11-2-9(b) 辐射室出入口集合管图
制氢装置转化炉的炉管内装有触媒,其型式如图11-2-9(a)。
重整装置进料炉辐射室为门型,由集合管分多路入炉内,再汇集于集合管出炉,其型式如图11-2-9(b)。
2.炉管连接件及支持件
炉管常用的连接件有急弯弯管、箱式回弯头、冲压弯头、U型铸钢弯头,见图11-2-10(a)、11-2-10(b)、11-2-10(c)。


急弯弯管材质应与炉管材质相一致,型式有90°和180°两种。箱式回弯头有铸钢和锻钢两种材质,其中铸钢为多,与炉管连接时采用胀接、螺纹连接或焊接的方法均可。回弯头的堵头可以拆卸,便于炉管的检查与清焦及修理。压力分为2.5、6.5、10MPa三个等级,型式有90°和180°两种。
支持件是支承或稳定炉管的配件,由于炉管的布置形式不同,对支承件型式的要求也不一样,常分为立装炉管拉钩、卧装炉管托架、弹簧吊架和稳定炉管的管板,常见型式如图11-2-11


3.燃烧器
燃烧液体或气体的燃烧器,通称为喷嘴,包括燃料喷嘴、调风器、和火道三部分。一般常用的喷嘴种类为油气联合燃烧器、轻油燃烧器等,见图11-2-12。为了控制大气污染,现开发出系列环保高效节能燃烧器,具有20世纪九十年代国际先进水平。按燃料种类分为重油、轻油、气体;按排放污染物分为低一氧化氮(NOx)燃烧器和普通燃烧器。

除上述零配件外,还有烟囱的挡板及调节装置、看火门、防爆门、人孔门、吹灰器等配件。
(四) 工业炉炉衬工程
管式炉的炉衬结构,目前采用的有砌砖、拉砖、轻质耐热衬里、轻质浇注料衬里和耐火纤维炉衬、喷涂耐火纤维炉衬、纤维可塑料衬里结构等。
1.炉衬结构的种类
(1) 砌砖结构
这是最简单的一种炉墙结构形式。砌砖结构的圆筒形炉墙本身稳定性较好,结构简单,炉墙厚,炉墙高度不受限制,国内圆筒炉的辐射室常采用轻质耐火砖砌砖结构,见图11-2-13(a)。

(2) 拉砖结构
为了增强砌砖炉墙的稳定性,将炉墙砖结构与炉墙钢结构拉接起来,便形成了另一种炉墙形——拉砖炉墙。拉砖炉墙基本不用异型砖,多用于立式方型高炉墙。拉砖炉墙可分为采用重质耐火砖的重型拉砖炉墙和采用轻质耐火砖的轻型拉砖炉墙,重型拉砖炉墙多用于不分段承重的低炉墙,随着炉墙高度的增加使用轻质耐火砖,辐射段采用筒壁钢板和钢架分段承重的轻型拉砖炉墙,它使炉墙重量进一步减轻。国内转化炉和箱型炉当采用附墙火焰燃烧,轻质耐热衬里和耐火纤维炉衬不能满足要求时,可以考虑采用轻型拉砖结构。见图11-2-13(b)。
(3) 耐火纤维炉衬结构
耐火纤维炉衬结构一般由耐火度不同的耐火纤维毡或耐火纤维模块组成。是由隔热层和耐火层组成的多层叠合式结构。耐火纤维炉衬具有隔热性能好、炉墙薄、重量轻、施工简便、施工进度快、不需烘炉等优点。但耐火纤维炉衬强度低,抗气流冲刷性能不如耐火砖和轻质耐热衬里。耐火纤维炉衬分为普铝、高铝和含锆纤维,可用于一般工业炉辐射室的炉墙和炉顶。对于气流冲刷较严重的对流室、烟道和烟囱等部位,不适宜采用。耐火纤维炉衬结构见11-2-14(a) ,11-2-14(b)。


(4) 轻质浇注料衬里结构
20世纪九十年代以后炉衬里新型材料及配方不断涌现,轻质浇注料衬里分为隔热和耐热两大类。隔热衬里适用于耐火砖背衬和弯头箱衬里;耐热衬里适用于辐射室、对流室、烟道和烟囱。不同的衬里配方,使用温度为800℃至1200℃。浇注料衬里结构见图11-2-15(a)11-2-15(b)。


(5) 喷涂耐火纤维衬里结构
喷涂耐火纤维衬里是20世纪九十年代发展起来的,适用于炼油及石油化工管式炉。全纤维炉衬喷涂厚度根据温度确定。喷涂普通硅酸铝耐火纤维衬里连续工作温度不得大于1000℃,喷涂高铝耐火纤维衬里连续工作温度不得大于1200℃。衬里一般采用全纤维结构形式,也可采用喷涂岩棉耐火纤维复合结构形式。
(6) 纤维可塑料衬里结构
纤维可塑料由纤维、结合剂、填充料和外加剂等组成。纤维可塑料为气硬性材料,不需要加水及搅拌,开袋后即可施工,经涂抹、捣制成型。纤维可塑料衬里分为隔热和耐热两大类。隔热衬里适用于耐火砖背衬,部分烟囱和弯头箱衬里,使用温度为550℃。耐热衬里适用于辐射室、对流室、烟道和烟囱,使用温度为900℃至1100℃。也有耐热衬里配方适用于制氢炉、裂解炉辐射室和工业炉高温部位,使用温度为1300℃,但没有广泛应用。
2. 炉衬常用的材料
(1) 耐火砖又称定型耐火材料,具有强度高,施工简单,用途广泛,取材容易的优点。耐火砖按不同的化学矿物成份组成分为;粘土质耐火砖、高铝质耐火砖、半硅砖、硅质耐火砖、镁质耐火砖、刚玉砖等。
(2) 不定型耐火材料是由耐火骨料、粉料和胶结料或另掺外加剂,按一定比例组成的混合物。使用时具有一定的可塑性,一般采用浇注、捣打、涂抹、喷涂等方法施工,经过养护或烘干后成为强度高,耐火性好的整体炉衬。耐火骨料起着骨架作用,用量最多,能显着影响不定型耐火材料的高温性能。耐火粉料则起着填充空隙、改善施工操作,提高密度的作用。不定型耐火材料的骨料和粉料必须与所用胶结料的化学性质一致,有足够的耐火度和一定的强度,并且级配合理。
耐火浇注料,又称为耐火混凝土,是利用胶结料加上骨料、粉料及一些外掺剂制成的散装的混合料。加水或其他结合剂拌合后具有一定的流动性,通常采用浇注方法施工。
轻质耐火喷涂料,其材料组成基本同轻质耐火浇注料。采用机械喷涂的方法施工,具有整体性好、耐火材料与炉体结合紧密、机械强度高、施工速度快的优点。可用于结构复杂、施工面大的炉子。
耐火可塑料,是以耐火骨料和粉料为主加入适当的结合粘土或化学胶结料,以及少量的外加剂,加水经充分混炼而制成的砖坯状或泥团物料。在规定的储存期内可塑料具有良好的可塑性,被广泛用于工业炉窑上。
(3) 耐火纤维
耐火纤维是一种新型的耐高温隔热耐火材料,是第三代耐火材料。耐火纤维在工业炉中的使用,促进了工业炉结构和工艺的改革。耐火纤维的规格品种较多,有毯毡、板、管壳及散状纤维,可根据设计需要选用。常用的施工方法有层铺式炉衬和叠砌式炉衬及模块式炉衬。
(4) 喷涂耐火纤维所用的纤维材料有普通硅酸铝耐火纤维棉、高铝纤维棉、岩棉;所用的结合剂为复合结合剂,牌号KT-201;所用粘接剂牌号KT-200。
(5) 纤维可塑料不规定具体配方,可塑料纤维含量必须大于60%(重量比),并不得含有水泥,其理化指标应符合技术规定。
(6) 隔热材料
为了防止热量损失,节约投资,常常要对炉体进行保温隔热。常用的材料有:岩棉制品、膨胀珍珠岩制品、微孔硅酸钙制品和陶瓷纤维隔热制品等。为了防腐、防火,在炉立柱上涂砌一层隔热防火材料,常用的材料有:硅藻土质隔热材料,硅藻土粉(又称硅藻土保温泥)。
三、余热回收 TOP
余热回收的目的是提高工业炉热效率,节约能源。提高工业炉热效率的方法较多,除减少过剩空气系数、改进燃烧器和减少炉壁散热损失外,常用的余热回收方案有以下几种:
(一) 冷进料、热油预热空气
冷进料、热油预热空气方案是将装置中互相换热的冷、热液态物流分别作为回收烟气余热的冷源(既冷进料,例如常减压装置的原油)和预热炉用空气的热源(例如常减压装置的常压塔侧线馏分油),是提高加热炉热效率和装置热回收率的一种方法,见图11-2-16。

(二) 余热锅炉
余热锅炉的功能是利用工业炉的烟气余热发生蒸汽,供装置使用,见图11-2-17。

(三) 空气预热器
顾名思义,空气预热器是用来预热空气。根据工业炉热负荷大小可选择回转式空气预热器或管式空气预热器。回转式空气预热器是不断将烟气的热量传给空气,使烟气温度降低。温度升高后的空气进入炉内供燃烧使用,达到提高工业炉热效率的目的。回转式空气预热器因体积庞大不能放在炉顶,需放在地面上。管式空气预热器是利用列管式结构,使烟气和空气分别通过管程和壳程,利用管壁传热回收烟气余热,见图11-2-18。

四、管式加热炉施工程序及施工方法 TOP
工业炉的安装施工较为复杂,大中小型工业炉的工程量大小悬殊,施工中受各种自然、地理条件和施工单位机械配备与技术水平的影响,其施工方法不尽相同。下面介绍管式加热炉通常的施工程序及施工方法:
(一) 施工程序
1. 安装前的准备
(1) 熟悉图纸、技术交底、编制施工组织设计或施工方案。
(2) 施工机具、工器具的准备、搬运与设置。
(3) 设备基础的验收、铲浮层、打麻面、放线及垫铁的设置。
(4) 设备和材料开箱检查、清点、编号、记录,必要时进行无损探伤复查,场内运输。
(5) 安装场地清理与一般平整,临时组装平台和施工手段措施的设置。
2. 管式加热炉现场组装程序

(二) 施工方法
1.在预制厂预制辐射室、对流室、烟囱、梯子平台等部位钢结构,现场吊装、组对安装。近年来为缩短施工工期,钢结构可在预制厂整组预制、整组运输、在施工现场整组安装就位。现场预制炉管(组或排)并与急弯弯管焊接。钢结构焊接为手工电弧焊,炉管焊接为氩电联焊,用X光射线进行无损探伤检验。
2.炉体内配件吊钩、拉钩、保温钉、吹灰器、烟囱挡板等为成品件安装。
3.炉内砌筑耐火砖分湿砌和干砌,炉底部分采用干砌,炉墙均为湿砌(即用耐火泥砌筑)。根据炉型采用砌砖炉墙或拉砖炉墙。圆筒炉辐射室砌砖炉墙是通过焊接在辐射室筒体钢板上的托砖板来承重的。砖砌筑在各层托砖板上,由托砖板将圆筒炉辐射室炉墙沿高度分成几段。对于砌体直径小于5m,炉墙全高小于10m的小型圆筒炉辐射室炉墙可不分段。各膨胀缝内应填塞耐火纤维毯。立式方型炉辐射室轻型拉砖炉墙多采用水平砖拉杆型,即沿炉墙砌砖高度每隔500mm左右,用砖拉杆(圆钢)将此水平层的砖穿起来(或用轻质耐热衬里代替此水平层的砖),再通过砖拉钩与炉子钢架连接。炉顶砖结构一般采用吊砖形式,即将砖通过吊砖件吊在炉顶钢结构上,在耐火砖层上铺设隔热材料,组成炉顶砖结构。炉顶砖结构分轻型和重型两种。轻型炉顶砖结构由轻质耐火砖和吊砖件组成,此种砖结构只用两种形状简单的耐火砖搭配彻筑,砖宽的一面用泥浆砌筑,砖窄的一面为干砌。每块砖均用吊砖杆穿起来吊于炉顶。吊砖件焊于炉顶钢板下表面。
4.耐火纤维炉衬安装。管式加热炉辐射室的炉墙、炉顶可采用耐火纤维炉衬,炉衬由等距离分布的保温钉固定。安装时,先焊接保温钉,然后将隔热层和耐火层纤维毯逐层套入保温钉,套入时各层之间不用粘贴剂,但层与层之间必须错缝。最后在耐火纤维毯的表面用垫圈或螺母固定,并在保温钉的端部粘贴10mm厚的耐火纤维毯小块将金属件覆盖。炉墙拐角处应采用搭接式连接,看火门处采用耐火纤维看火门预制块。
5.轻质浇注料施工前应先除去钢结构及保温钉表面浮锈及其他杂物(保温钉现场制作、安装)。把搅拌好的浇注料在30min内浇注完毕。通常采用手工捣制,也可采用平板振捣器进行振捣。隔热浇注料仅采用手工捣制,当浇注料厚度≤50mm时,宜采用手工涂抹或拍打成型。衬里借助保温钉与钢板表面连接。衬里施工完毕1~4h后,用手轻捺衬里表面,不沾手时便可开始用水喷雾养护。喷雾养护完毕的衬里,应再经48h自然干燥后,方可搬动和吊装。
6.喷涂耐火纤维衬里施工前应先除去钢结构及保温钉表面焊渣、浮锈、油污及其他杂物。喷涂前,在工业炉壳体钢板内表面先喷少量防腐粘接剂。将结合剂倒入结合剂储罐中。开动纤维喷涂机,同时将纤维棉徐徐加入喷涂机内,连续喷涂。炉墙部位施工喷涂自上而下进行,根据炉衬厚度要求可分层喷涂。喷涂后进行自然干燥。
7.纤维可塑料炉衬施工前应将与纤维可塑料接触的炉壁内表面的油污、铁锈及其他附着物清理干净。除锚固钉外,对埋入衬里的其他钢构件(如:接管、管架、套管等)应缠绕耐火纤维绳。对不便缠绕耐火纤维绳的钢构件,可涂沥青。纤维可塑料可以采用涂抹、捣制方法施工。纤维可塑料为气硬性材料,不需要加水及搅拌,开袋后即可施工。施工后应在通风条件下自然养护7d,不需要烘炉,即可升温使用。
8.预制后的炉管安装及炉体外配件安装。安装前要对燃烧器成品件进行拆装、检测、调试。
9.钢结构外表面除锈、防腐。管式炉外表面开工后温度应保持在50℃以下,钢丝刷除锈,只涂两遍红丹防锈漆即可。标志漆根据设计图样规定选用。
10.管式炉衬里采用轻质浇注料施工时,衬里养护完毕后,环境温度仍应保持在5℃以上,并自然干燥至少5d后再进行烘炉。烘炉前,炉管内应先通入蒸汽,暖烘1~2d,当炉膛温度升到约130℃时,即可点燃喷嘴烘炉。
五、安装工程费计算 TOP
(一) 工程量计算规划
1.工业炉金属结构制作安装和炉管安装。
金属结构制作安装单位为“t”。工程量按单体(座)分立式方型炉和圆筒炉,包括整座炉体的炉架、烟道、烟囱、箱门、管板、风道、平台、梯子等部位钢结构。
炉管安装单位为“t”。工程量不分材质、炉管结构型式,仅区分管径计算。
2.“概算指标”中炉管焊接“一个焊口”的使用条件是:
(1) 当设计图样上的炉管(含钉头管、翅片管、离心浇注管)较长,采购不能满足要求,需用两根或两根以上的炉管焊接成所需长度,其焊口应另计安装费。
(2) 不与急弯弯管联结的U型炉管,猪尾管、螺旋炉管等当与其他部件(或自身)相联时,应按其焊口数量另计安装费。
3.配件安装
急弯弯管、回弯头安装单位为“t”,工程量按不同材质,不同管径分别计算。
管板、保温钉、弹簧吊架、各种门类及不同材质零配件安装单位为“t”。零配件安装工程量包括炉管拉钩、吊钩等。
吹灰器、燃烧器安装单位为“套”,工程量分为不同结构形式的吹灰器、燃烧器。烟囱附件和空气预热器安装单位为“t”,空气预热器工程量不分结构型式均按“t”计算。
4.炉窑砌筑
耐火砖安装单位为“m3”,工程量包括同种材料不同密度的耐火砖。
抹灰、石棉板安装单位为“m2”。
5.衬里、隔热
衬里、隔热安装单位为“m3”。
相关推荐链接:
0人已收藏
0人已打赏
免费1人已点赞
分享
电气资料库
返回版块70.18 万条内容 · 792 人订阅
阅读下一篇
有色冶金炉用耐火浇注料炉墙结构的设计知识点:有色炉 耐火浇注料衬体是振动施工的,一般情况下具有较高的强度,因此与耐火可塑料相比,其设计也有一定的区别。 在高炉出铁沟和钢包等部位上,应用耐火浇注料的品种有Al2O3-SiC-C质和铝镁质等浇注料,在设计上只要确定衬体厚度和膨胀缝位置等即可。 在加热炉和均热炉等火焰炉中,主要用普通或高强度粘土结合耐火浇注料、低水泥系列耐火浇注料和隔热耐火浇注料等,即能满足设计和使用要求、个别窑炉和热工设备也有用水泥耐火浇注料、磷酸(盐)和水玻璃结合耐火浇注料的。
回帖成功
经验值 +10
全部回复(0 )
只看楼主 我来说两句抢沙发