3.9.1 钢结构柱脚的分类
柱脚的作用是把柱固定于基础,并把柱的内力传给基础。
柱脚的构造要求:将柱子内力可靠地传给基础; 和基础有牢固连接; 尽可能符合计算简图。
钢结构柱脚按结构受力分类,大体可分为铰接柱脚和刚接柱脚两大类。
(1)铰接柱脚:
铰接柱脚仅传递垂直力和水平力,不传递弯矩;一般有轴承式铰接柱脚和平板式铰接柱脚两种。

工程中常用的铰接柱脚示例如下:


常用的铰接柱脚详细构造如下:


(2)刚接柱脚:
刚接柱脚除了传递垂直力和水平力,还要传递弯矩;
一般有外露式柱脚、插入式柱脚、埋入式柱脚、外包式柱脚四种。
工程中常用的刚接柱脚示例如下:



常用的刚接柱脚详细构造如下:





3.9.2 钢结构柱脚的一般构造
(1)柱脚锚栓选型
铰接柱脚锚栓直径通常根据其与钢柱板件厚度和底板厚度相协调的原则来确定,一般在20mm~42mm的范围内选择,不宜小于20mm。
刚接柱脚锚栓在柱脚弯矩作用下承受拉力,同时作为安装过程的固定之用。锚栓直径根据抗拉承载力设计值计算确定,锚栓直径不宜小于30mm,门式刚架结构柱脚锚栓抗拉承载力设计值较小时可选择直径27mm、24mm,但并不得小于24mm。
柱脚底板的锚栓孔径,宜取锚栓直径加5~8mm;锚栓垫板的锚栓孔径,取锚栓直径加2mm。
在柱子安装校正完毕后,应将锚栓垫板与底板焊牢;锚栓应采用双螺母紧固,为防止螺母松动,螺母与锚栓垫板尚应进行电焊。
锚栓选用如下表(可点击看大图):

(2)柱脚锚栓的安装措施
为使锚栓能准确定位,应采用具有足够刚度的固定支架,并在浇筑混凝土的过程中注意不使其移位。
常用的锚栓固定支架示例如下图:


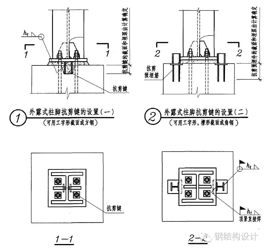
(3)柱脚抗剪件
外露式柱脚锚栓不宜用以承受柱脚底部的水平反力,此水平反力由底板与混凝土基础间的摩擦力(摩擦系数可取0.4)或设置抗剪件承受。即当水平力>0.4倍的轴压力时,应设置抗剪件。
实际工程中,无论外露式柱脚计算是否需要设置抗剪件,一般都应设置抗剪件。
抗剪键的构造做法如下图:

3.9.3 钢结构柱脚计算
本节主要介绍外露式刚接柱脚的计算,计算主要内容有:按构造确定底板和加劲板尺寸、验算砼受压、验算锚栓拉剪、验算底板厚度、验算加劲肋尺寸等。
钢框架结构柱底板的厚度一般在20mm~40mm之间,不宜小于14mm,且不应小于钢柱的较厚板厚。
下图是我们编写的外露式刚接柱脚计算程序(可点击看大图),计算方法参照《钢结构连接节点设计手册(第二版)》第八章的第八节内容。计算需要输入钢柱截面信息、材料信息、荷载信息,程序可按钢结构连接节点设计手册的计算方法,验算相关柱脚尺寸和承载力。



内容源于网络,如有侵权,请联系删除
相关资料推荐:
知识点:钢结构柱脚节点构造及计算
0人已收藏
0人已打赏
免费12人已点赞
分享
钢结构工程
返回版块46.53 万条内容 · 1214 人订阅
阅读下一篇
钢结构中支座和柱脚设置都有什么形式?有哪些要求?钢结构中的支座是指用以支承和固定钢结构构件的部位,通常有平板支座、突缘支座、弧形支座、辊轴支座、铰轴支座、球形支座和板式橡胶支座等。 一、支座 1. 梁或桁架支于砌体或混凝土上的平板支座,应验算下部砌体或混凝土的承压强度,底板厚度应根据支座反力对底板产生的弯矩进行计算,且不宜小于12mm。梁的端部支承加劲肋的下端,按端面承压强度设计值进行计算时,应刨平顶紧,其中突缘加劲板的伸出长度不得大于其厚度的
回帖成功
经验值 +10
全部回复(1 )
只看楼主 我来说两句 抢板凳你好,可以讨要一个柱脚计算表格吗
回复 举报