知识点:建筑电气施工规范
建筑电气工程是建筑工程中一项非常重要的分部工程,施工质量的好坏直接关系到观感及使用功能,在创优评审中尤为重要。本文以中建五局三公司项目标准化做法示例,全面总结建筑电气工程的施工工艺,以供大家参考学习。

(1) 成套配电柜安装

工艺说明:
地下室明装的电气箱柜,需安装在型钢支架上,以避免墙面凝结水进入箱内。一般在柜下用10#槽钢立放做基础,基础型钢允许偏差:每米不直度与水平度为1mm,全长为5mm,全长不平行度为5mm。并在槽钢内侧需焊接地用镀锌六角螺栓M10×25供接地用。如果有电缆进出线时,还需在柜底预留基坑,以满足电缆的弯曲半径要求。
(2) 配电箱明装

工艺说明:
地上安装处的墙柱面抹灰没完成时,在箱后先用膨胀螺栓固定角钢支架,再用镀锌螺栓将箱体固定在角钢支架上。几个明装箱并列时,按最大箱顶标高不超过2.3m、且所有箱体顶平或底平的原则确定箱柜安装高度。柜、屏、台、箱、盘安装垂直度允许偏差为1.5‰,相互间接缝不应大于2mm,成列盘面偏差不应大于5mm。
(3) 配电箱暗装

工艺说明:
确定开孔位置,并开好孔;固定暗装箱体四角,确保暗装箱体的高度符合要求,并与墙面平正;若箱后仅能抹灰时,总包需在箱后挂钢丝网,再抹灰;若进箱的导管为几根并排暗装进箱时,管槽处也应挂钢丝网,再抹灰。
轻质隔墙上安装时,确定开孔位置,并开好孔;在装饰装好轻钢龙骨后,用拉铆钉或自攻螺丝将暗装箱体固定在轻钢龙骨上;暗装配电箱箱盖紧贴墙面,箱(盘)涂层完整。
(4) 空心砌块墙、加气砼砌块墙上安装

工艺说明:墙面抹完灰后,用镀锌丝杆将箱体的四角固定在空芯墙上。
(5) 电气导管进箱

工艺说明:
箱子应用开孔器开孔,一孔一套,管径与盒(箱)敲落孔应吻合。敲落孔大而管径小时,可用铁皮垫圈垫严或用砂浆加石膏补平齐,不得露洞。将管接入箱柜,并锁紧管端。
钢管进箱柜时,应在钢管附近预留一个4.2mm的孔供接地线进箱。箱内回路标识要求正确、清晰、齐全。
(6) 桥架进箱

工艺说明:
电缆桥架在箱柜外做抱脚连接。根据所连桥架的位置和箱柜里元器件的布置开孔,孔大小、间距与护口匹配,1根电缆1个孔。矿物电缆或单芯塑料绝缘电缆进箱柜时,一组电缆间的各进线孔应用1-2mm的缝相互连通。将电缆桥架末端用BVR-4引至箱柜地排。
(7) 箱内配线



工艺说明:
配电箱内要求标识清晰,PE排、N排、每一回路标识牌准确,电缆、电线排列整齐、有序,进线孔封堵严密。
(1) 低压电气设备试验内容
工艺说明:
低压电器的试验项目,应包括下列内容:
1、测量低压电器连同所连接电缆及二次回路的绝缘电阻:电动机、电加热器及电动执行机构绝缘电阻值应大于0.5MΩ。
2、电压线圈动作值校验:线圈的吸合电压不应大于额定电压的85%,释放电压不应小于额定电压的5%;短时工作的合闸线圈应在额定电压的85%~110%范围内,分励线圈应在额定电压的75%~110%的范围内均能可靠工作。
3、低压电器动作情况检查。
4、低压电器采用的脱扣器应按使用要求进行整定;测量电阻器和变阻器的直流电阻。
5、低压电器连同所连接电缆及二次回路的交流耐压试验:当绝缘电阻值大于10MΩ时,用2500V兆欧表摇测1min,应无闪络击穿现象;当绝缘电阻值在1~10MΩ时,做1000V交流工频耐压试验,时间1min,应无闪络击穿现象。柜、屏、台、箱、盘回路中的电子元件不应参加交流工频耐压试验;48V及以下回路可不做交流工频耐压试验。
(2) 低压电气设备试验和试运行程序
工艺说明:
低压电气动力设备试验和试运行应按以下程序进行:
1、设备的可接近裸露导体接地(PE)或接零(PEN)连接完成,经检查合格,才能进行试验。
2、动力成套配电(控制)柜、屏、台、箱、盘的交流工频耐压试验、保护装置的动作试验合格,才能通电。
3、控制回路模拟动作试验合格,盘车或手动操作,电气部分与机械部分的转动或动作协调一致,经检查确认,才能空载试运行。
4、电动机应试通电,检查转向和机械转动有无异常情况;可空载试运行的电动机,时间一般为2h,记录空载电流,且检查机身和轴承的温升。
5、交流电动机在空载状态下(不投料)可启动次数及间隔时间应符合产品技术条件的要求;无要求时,连续启动2次的时间间隔不应小于5min,再次启动应在电动机冷却至常温下。空载状态(不投料)运行,应记录电流、电压、温度、运行时间等有关数据,且应符合建筑设备或工艺装置的空载状态运行(不投料)要求。
(1) 母线槽安装

工艺说明:
封闭、插接式母线每段母线组对接续前,用1KV绝缘摇表摇测绝缘电阻,绝缘电阻值大于20MΩ,才能安装组对。水平母线高度不低于2.2m,水平直线段固定点间距不大于3m、拐弯处0.5m、距箱(盘)连接处或末端0.5m处。封闭式母线敷设长度超过40m、跨越建筑物的伸缩缝或沉降缝时应设置伸缩节。母线支架和封闭、插接式母线的外壳接地(PE)或接零(PEN)连接完成,母线绝缘电阻测试和交流工频耐压试验合格,才能通电。
(2) 母线槽垂直安装

工艺说明:
母线槽水平安装时,过墙处留洞应比母线槽的宽和高大50mm,穿楼板处洞每边比母线槽的尺寸大100mm。母线槽穿楼板洞处用50mm的面砖施工做挡水线,背面距桥架、母线槽20-30mm,桥架和母线槽周边嵌防火泥。层高在4.5m以内时,垂直安装的母线槽应在每层楼板上安装1套弹簧减振支架,插接箱顶300mm装1个支架;层高超过4.5m的,应增加一个支架,母线的接头不得位于楼板内。
(1) 桥架支架安装

工艺说明:
桥架在进出接线盒、箱、柜、转角、转弯和变形缝两端及丁字接头的三通500mm以内应设置固定点。800及以上桥架的水平弯头中心应加支架。支架与吊架距离上层楼板不应小于150-200mm,距梁底15-20mm;距地面高度不应低于100-150mm。所有三通、水平弯头处的支架应为固定支架。当铝合金桥架与钢支架固定时,在桥架与支架间加3mm厚橡胶垫,并在支架上敷通长接地母线桥架与支架间螺栓、桥架连接板螺栓固定紧固无遗漏,螺母位于桥架外侧。
(2) 桥架连接

工艺说明:
桥架接缝处应紧密平直,缝隙须维持在1mm以内。桥架分支处应采用导角处理,保证电缆的弯曲半径满足规范要求。竖直桥架安装应在桥架内设置横担用于电缆绑扎,且绑扎间距不大于1000mm。电缆桥架末端应设终端封头封堵。桥架敷设位于管道下方接口处应有防护措施:在该段桥架外壳的两个接口处各加盖1段100mm长的桥架盖板,加盖的盖板与原盖板间用塑钢土进行密封,避免积水。若利用桥架本体作为接地干线,应将每层桥架的端部用不小于16mm?的软铜线并联起来,并与总接地干线相联通。
(3) 桥架补偿装置

工艺说明:
直线段钢制电缆桥架长度超过30m、铝合金或玻璃钢制电缆桥架长度超过15m应用伸缩连接板连接;桥架经过建筑物的变形缝(伸缩缝、沉降缝)时,桥架本身应断开,留50mm宽的缝隙,桥架俩侧设置“伸缩连接板”(其螺栓固定孔为长条状),并与桥架侧边的连接螺栓在安装时不要拧紧以适应托盘梯架纵向伸缩;并用截面积不小于16mm2的跨接线做接地连接。
(4) 桥架防火封堵

工艺说明:
桥架过防火分区墙时应留20mm的缝隙。桥架内的电缆间的缝隙和最上面的电缆与桥架盖板之间用防火胶泥填实,桥架本体和结构间的缝隙先用胶泥填实,再用防火板作外表面封堵。桥架穿纵向防火分区,结构留洞时,要求洞比桥架长大100mm,宽大50mm。建筑高度<100m,每3层在楼板处做防火分隔;建筑高度≥100m,在每层楼板处做防火分隔。安装好竖井桥架,并在需做防火封堵的楼层处,距桥架盖板50mm左右的侧边各钻一个φ12的孔,要求孔比本层地面低100mm;并由土建在桥架穿楼板处做50mm-100mm宽,100mm高的挡水线。
(5) 桥架与导管连接

工艺说明:
桥架与导管连接,应采用锁母固定;除接设备和灯具外,不得使用金属或非金属柔性导管。采用金属软管与桥架连接时应使用专用接头。导管使用镀锌钢管或焊接钢管必须按照导管接地要求与桥架之间进行接地跨接。
(6) 桥架内电缆敷设

工艺说明:
电缆敷设前绝缘测试合格,才能敷设;电缆应逐根敷设、整理、绑扎完成之后再敷设第二根;大于45°倾斜敷设的电缆每隔2m处设固定点;电缆出入电缆沟、竖井、建筑物、柜(盘)、台处以及管子管口处等做密封处理;电缆敷设排列整齐,水平敷设的电缆,首尾两端、转弯两侧及每隔5~10m处设固定点。
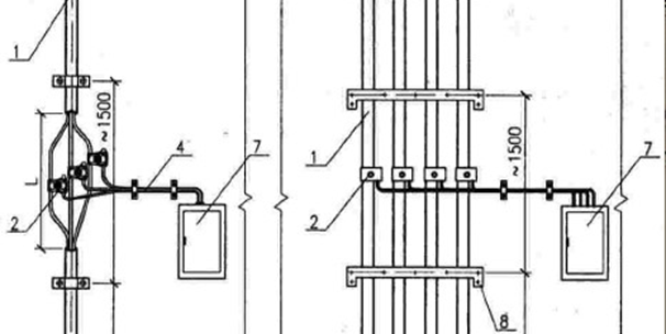
(1) 电缆在电缆沟内敷设

工艺说明:
电缆敷设前,用绝缘摇表摇测电缆每相线芯的绝缘电阻,1kv 及以下电缆应不小于100MΩ,6KV及以上电缆应不小于200MΩ。电缆沟内应清洁干燥,当设计无要求时,支架最上层至竖井顶部或楼板的距离不小于150~200mm,最下层至沟底或地面的距离不小于50~100mm,支架层间最小允许距离,控制电缆为120mm,10KV及以下电力电缆为150-200mm。
(2) 电缆在支架上敷设

工艺说明:
电缆在支架上敷设时,应按电压等级排列,高压在上面,低压在下面,控制电缆在最下面。垂直敷设或大于45°倾斜敷设的电缆,在每个支架上固定;交流单芯电缆或分相后的每相电缆固定用的夹具和支架,不形成闭合铁磁回路(不能用铁件固定,可以用尼龙扎带);电缆排列整齐,少交叉;水平敷设的电缆,首尾两端、转弯两侧及每隔5-10m处设固定点。电缆的首段、末端和分支处应设标志牌。
(3) 矿物电缆敷设

工艺说明:
矿物电缆建议单独敷设,如无法与其他绝缘电缆分开敷设时,或与其他绝缘电缆使用温度不一致时,应单独敷设或隔板分开。矿物电缆电缆下料后要用胶带包绕电缆端部不少于2层。电缆敷设时,每路电缆之间应留有不少于电缆外径的2倍间隙,如不留间隙应考虑载流量减少系数。
交流系统单芯电缆敷设应采取下列防涡流措施:1、电缆应分回路进出钢制配电箱(柜)、桥架;2、电缆应采用金属件固定或金属线绑扎,且不得形成闭合铁磁回路;3、当电缆穿过钢管(钢套管)或钢筋混凝土楼板、墙体的预留洞时,电缆应分回路敷设。
(4) 预分支电缆敷设

工艺说明:
预分支电缆施工前检查电缆通道,确认预分支电缆是否能通过贯通孔洞。再将电缆放在线架上,通常将电缆放在楼下,安装时将电缆提拉上去。提升过程中,不要对分支线施加张力,使用电缆重量4 倍以上强度的提升用绳缆,边提升,边检查,以免电缆受伤。提升用的电缆网套到达顶部时,将网套挂在预埋的吊钩上,并固定电缆中间部位,中间部位的固定间距1.5~2m。单芯电缆用马鞍线夹固定。
(5) 电缆穿刺分支连接

工艺说明:
穿刺线夹连接仅适用于塑料绝缘电缆,对于矿物绝缘电缆不适用;穿刺连接电缆宜沿墙明敷,桥架内穿刺连接时慎用。穿刺连接的主电缆外绝缘剥离长度为主电缆外径的50倍(且同一分支电缆的不同线夹应保持80-100mm的距离),以此长度均布各穿刺线夹的位置;当一层的分支电缆连接完后应及时送电进行分支质量验证,验证合格后再断电进行下一层的穿刺施工,并盖好本层桥架盖板或锁好本层电井门。
(6) 电缆防火封堵

工艺说明:
建筑高度超过100m时,穿每层楼板的电缆洞均需做防火封堵;建筑高度在100m及以内时,每3层做1次防火封堵。直接用防火胶泥封堵楼板洞即可。电缆沟应设置阻火墙,厚度不宜小于150mm,对于沟内电缆纵横交叉而又密集的场所(如电子计算机室电缆层)可用阻火包构筑阻火墙。凡穿越楼板的电缆孔、洞都应采用无(有)机防火堵料,防火隔板或阻火包进行封堵,其封堵厚度不应小于100mm,宜与楼板厚度齐平。
相关推荐链接:
2、建筑电气施工规范
0人已收藏
0人已打赏
免费1人已点赞
分享
电气工程原创版块
返回版块2.2 万条内容 · 598 人订阅
回帖成功
经验值 +10
全部回复(0 )
只看楼主 我来说两句抢沙发