水工建筑物——土石坝的特点和分类
可以就地取材,节约大量水泥、木材和钢材,减少工地的外线运输量。由于土石坝设计和施工技术的发展,放宽了对筑坝材料的要求,几乎任何土石料均可筑坝
能适应各种不同的地形、地质和气候条件。任何不良的坝址地基,经处理后均可筑坝。特别是在气候恶劣、工程地质条件复杂和高烈度地震区的情况下,土石坝实际上是唯一可取的坝型
高边坡、地下工程结构、高速水流消能防冲等土石坝配套工程设计和施工技术的综合发展,对加速土石坝的建设和推广也起了重要的促进作用。

浸润线

水力冲填坝施工示意图

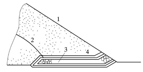
土石坝类型
(一)黏性土心墙


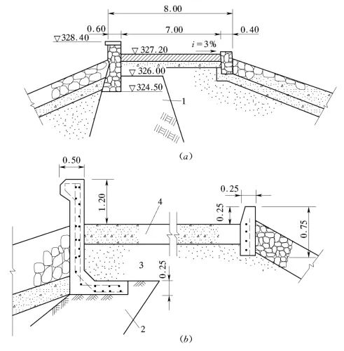
综合式排水
(a)贴坡与棱体排水结合;(b)褥垫与棱体排水结合
干砌石应力求嵌紧,通常厚度为20~60cm。有时根据需要用2~3层垫层,它也起反滤作用。砌石护坡构造见图4-33。
知识点:土石坝的特点和分类
0人已收藏
0人已打赏
免费1人已点赞
分享
公共建筑设计
返回版块51.17 万条内容 · 447 人订阅
阅读下一篇
土石坝的类型有哪些?土石坝常按坝高、施工方法或筑坝材料分类。 土石坝有高中低之分。土石坝按坝高可分为低坝、中坝和高坝。我国《碾压式土石坝设计规范》(SL 274—2001)规定:高度在30m以下的为低坝;高度在30~70m之间的为中坝;高度超过70m的为高坝。 土石坝按其施工方法可分为:碾压式土石坝;冲填式土石坝;水中填土坝和定向爆破堆石坝等。应用最为广泛的是碾压式土石坝。 按照土料在坝身内的配置和防渗体所用的材料种类,碾压式土石坝可分为以下几种主要类型:
回帖成功
经验值 +10
全部回复(0 )
只看楼主 我来说两句抢沙发