知识点:恒定电场
一、【难点描述】
电路中电场的分布
二、【学生的问题表现】
1.认为导体一定是静电平衡态,导体中电场强度为0;
2.没有意识到电路中存在电场,不知道自由电子的定向运动是受电场力的作用;
3不知道电路中的电场是由电源、导线等电路元件所积累的电荷共同形成的;
4不知道导线内的电场线与导线表面平行;
5.不能借助静电场的知识解决电路相关的问题。

三、【难点产生的原因】
在学生的认知上,学生对于静电平衡印象深刻,还没有接触过这种静电不平衡的现象,对于动态的平衡是初次了解。在研究导线内部的电场特点时,需要借助静电平衡的分析方法,有一定的难度。

四、【难点突破策略与案例】
类比静电平衡中对于导体内部场强的讨论方法,分析电路导线中电场的分布,降低知识的难度。
教学片段:
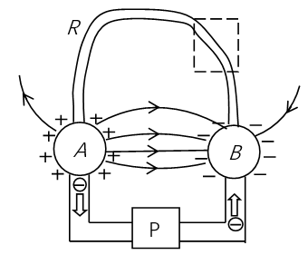
如右图所示,P表示电源,A、B是电源的两极,若将A、B间以导线R连接,形成一个闭合电路,取出图中虚线框中的一小段导线及电场线放大后进行研究,分析达到稳定后这一小段导线中电场的特点。
分析:电路刚接通时,导线中存在由电源正、负极的电荷产生的电场E0,自由电子受到的电场力F与场强方向相反,如下图甲所示。可将该电场力分解为两个方向:沿导线方向的分力F1使电子沿导线方向做定向移动;垂直于导线方向的分力F2使电子向导线cd侧面聚集,从而使导线的ab、cd两侧面出现正、负电荷。导线两侧面的电荷产生附加电场E’, E0与E’两电场叠加,使导线内的电场在垂直导线方向的分量减弱,如图乙所示。随着导线两侧面正、负电荷积累,E’越来越大,直到导线中垂直于导线方向场强为零,自由电子将不再向垂直于导线方向运动,此时导线内的电场线保持与导线表面平行,自由电子只会在导体中沿导线方向定向移动,如图丙所示。所以导线内的电场线保持与导线表面平行,在导线内形成这样电场的时间非常短暂,仅为10-9s的数量级。




导线内的电场,是由电源、导线等电路元件所积累的电荷共同形成的。尽管这些电荷也在运动,但有的向前移动走了,它们原来的位置又被后续的自由电荷占据,所以电荷的分布是稳定的,电场的分布也稳定。由稳定分布的电荷所产生的稳定电场称为恒定电场。
恒定电场中的“恒定”是相对于静电场而言的,其本质为动态平衡。由于在恒定电场中,任何位置的电荷分布和电场强度都不随时间变化,所以它的基本性质与静电场相同。在静电场中所讲的电势、电势差及其与电场强度的关系等,在恒定电场中同样适用。
【学习检测】
1.由静止电荷激发的电场,称为静电场;回路中有稳定电流时,回路中电荷的分布是稳定的,这种由稳定分布的电荷所产生的稳定的电场,称为恒定电场。
(1)下列有关静电场和恒定电场的说法中正确的是( )
A.在静电场中任何位置的电场强度都不随时间变化
B.在恒定电场中任何位置的电场强度都随时间均匀变化
C.在静电场中电场力做正功电势能一定减小
D.在恒定电场中电场力做正功电势能可能增大
(2)根据静电场的知识推导电流在一段电路中做功的表达式。
相关推荐链接:
0人已收藏
0人已打赏
免费0人已点赞
分享
电气工程原创版块
返回版块2.2 万条内容 · 598 人订阅
回帖成功
经验值 +10
全部回复(1 )
只看楼主 我来说两句 抢板凳不懂啊
回复 举报